Дипломная работа: Прогнозирование, предупреждение и ликвидация чрезвычайных ситуаций на Туймазинском газоперерабатывающем заводе
Федеральное
агентство по образованию
Государственное
образовательное учреждение высшего профессионального образования
УФИМСКИЙ
ГОСУДАРСТВЕННЫЙ АВИАЦИОННЫЙ ТЕХНИЧЕСКИЙ УНИВЕРСИТЕТ
Прогнозирование,
предупреждение и ликвидация чрезвычайных ситуаций на Туймазинском
газоперерабатывающем заводе
ПОЯСНИТЕЛЬНАЯ ЗАПИСКА
к выпускной квалификационной
работе
Уфа 2007
СОДЕРЖАНИЕ
РЕФЕРАТ
СПИСОК СОКРАЩЕНИЙ
ВВЕДЕНИЕ
1 ЛИТЕРАТУРНЫЙ ОБЗОР
1.1 Применение сжиженных углеводородных газов
1.2 Физико-химические свойства сжиженных углеводородных
газов, обуславливающие возникновение аварии
1.3 Переработка газа
1.4 Назначение газофракционирования в общей схеме
переработки газа. Основы процесса ректификации
1.5 Технологическая схема газофракционирующей установки ГФУ-1
1.6 Особенности технологического
процесса ректификации, обуславливающие его пожаровзрывоопасность
1.7 Статистика чрезвычайных ситуаций на предприятиях
нефтегазового комплекса
1.8 Анализ пожаровзрывоопасности газоперерабатывающего
производства
1.9
Анализ
пожаровзрывоопасности предприятий газоперерабатывающей промышленности в аспектах экономики, экологии, этики и устойчивости в чрезвычайных ситуациях
1.10 Предотвращение взрывов и взрывозащита
производственного оборудования, зданий, сооружений и технологических процессов
предприятий нефтегазопереработки
2 АНАЛИЗ ВОЗМОЖНЫХ ЧРЕЗВЫЧАЙНЫХ СИТУАЦИЙ И ИХ РАЗВИТИЕ.
ОЦЕНКА РИСКА ГАЗОФРАКЦИОНИРУЮЩЕЙ УСТАНОВКИ
2.1 Характеристика Туймазинского газоперерабатывающего
завода
2.2 Численность населения, которая
может пострадать в результате воздействия факторов ЧС
2.3 Оценка риска аварий на газофракционирующей установке
2.4 Разработка сценариев развития чрезвычайной ситуации
методом построения дерева отказов
2.5 Краткое описание
рассматриваемой чрезвычайной ситуации
3 ПОЖАРОВЗРЫВОЗАЩИТА ГАЗОФРАКЦИОНИРУЮЩЕЙ УСТАНОВКИ
ТУЙМАЗИНСКОГО ГАЗОПЕРЕРАБАТЫВАЮЩЕГО ЗАВОДА
3.1 Анализ производства по пожаровзрывоопасности.
Характеристика используемых в производстве веществ и материалов
попожаровзрывоопасности
3.2 Описание расчетного сценария аварии
3.3 Расчет показателей пожаровзрывоопасности газофракционирующей установки
3.3.1 Расчет параметров волны давления
3.3.2 Расчет размеров зон, ограниченных нижним
концентрационным пределом распространения (НКПР) газов
3.3.3 Расчет интенсивности теплового излучения при
образовании «огненного шара»
3.3.4 Расчет интенсивности
теплового излучения при пожаре пролива
3.4 Оценка индивидуального и социального риска
3.4.1 Оценка индивидуального риска
3.4.2 Оценка социального риска
3.5 Разработка мероприятий по предупреждению пожаров и
взрывовна газофракционирующей установке
3.5.1 Молниезащита
3.5.2 Разработка автоматической системы пожаротушения
3.5.2.1 Огнетушащие средства, используемые при тушении
сжиженных углеводородных газов
3.5.2.2 Автоматические стационарные установки пожаротушения
3.5.2.3 Расчет расхода раствора пенообразователя
3.5.2.4 Расчет расхода воды на охлаждение резервуаров
3.5.2.5 Расчет количества пенообразующих устройств
3.5.3 Системы автоматической пожарной сигнализации
3.6 Оценка возможного числа пострадавших
4 ПЛАНИРОВАНИЕ И ТЕХНОЛОГИЯ ВЫПОЛНЕНИЯ АВАРИЙНО-СПАСАТЕЛЬНЫХ И ДРУГИХ НЕОТЛОЖНЫХ РАБОТ ПРИ ЛИКВИДАЦИИ
ЧРЕЗВЫЧАЙНОЙ СИТУАЦИИ НА
ТУЙМАЗИНСКОМ ГАЗОПЕРЕРАБАТЫВАЮЩЕМ ЗАВОДЕ
4.1 Перечень превентивных мероприятий при авариях на пожаро- и взрывоопасных
объектах
4.2 Планирование, технология
выполнения аварийно-спасательных и других неотложных работ в зоне аварии
4.3 Районы расположения формирований и время их выдвижения
в зону чрезвычайной ситуации
4.4 Организация разведки в зоне ЧС
4.5 Организация спасения людей,
находящихся в завалах
4.5.1 Расчет параметров завалов, образующихся при полных и
сильных разрушениях зданий
4.5.2 Способы деблокирования пострадавших из-под завалов
4.5.3 Расчет сил и средств для расчистки завалов и деблокирования пострадавших
4.6 Эвакуация пострадавших и персонала предприятия
4.7 Организация пожаротушения
4.7.1 Особенности тушения открытых технологических
установок
4.7.2 Выбор способов прекращения горения
и огнетушащих веществ
4.7.2.1 Водоснабжение
4.7.2.2 Расчет сил и средств
пожаротушения
4.8 Расчет сил для локализации аварий на
коммунально-энергетических сетях
4.9 Подбор комплекта и комплекса спасательной техники для
выполнения работ в зоне чрезвычайной ситуации
4.9.1 Теоретические основы отбора дорожных машин для
механизации работ в зоне ЧС
4.9.2 Теоретические основы отбора подъемно-транспортных
машин для механизации аварийно-спасательных работ
4.9.3 Основы отбора экскаваторов для выполнения работ при
ведении аварийно-спасательных работ
4.10 Завершение аварийно-спасательных и других неотложных работ
5 Организация управления ликвидацией ЧС
5.1 Оповещение и сбор руководящего состава при
возникновении чрезвычайной ситуации на Туймазинском газоперерабатывающем заводе
5.2 Структура управления ликвидацией чрезвычайной ситуации
на Туймазинском газоперерабатывающем заводе
5.3 Решение председателя комиссии по чрезвычайным ситуациям
и обеспечению пожарной безопасности – директора ТГПЗ при ликвидации чрезвычайной ситуации
5.4 Организация взаимодействия сил ликвидации чрезвычайной
ситуации
6 ОБЕСПЕЧЕНИЕ БЕЗОПАСНОСТИ
ПРОВЕДЕНИЯ АВАРИЙНО-СПАСАТЕЛЬНЫХ И ДРУГИХ НЕОТЛОЖНЫХ РАБОТ
6.1 Идентификация и анализ поражающих, опасных и вредных
факторов в зоне чрезвычайной ситуации
6.2 Меры безопасности при работах по тушению пожаров на
объектах нефтегазоперерабатывающей отрасли
6.3 Меры безопасности при проведении работ в завалах
6.4 Меры безопасности при работах в условиях плохой
видимости
6.5
Выбор методов и средств
индивидуальной защиты спасателей
6.6 Защита труда спасателя:
страховые гарантии, оплата труда, социальная защита членов семей
7 Обеспечение медицинской
помощи и психологической устойчивости при возникновении
чрезвычайной ситуации на Туймазинском газоперерабатывающем заводе
7.1 Организация обеспечения медицинской помощи
7.2 Анализ воздействия поражающих, опасных и вредных факторов, возникающих при взрыве и пожаре пролива на Туймазинском
газоперерабатывающем заводе, на организм человека
7.3 Оказание первой медицинской помощи
7.3.1 Первая медицинская помощь при терминальных состояниях
7.3.2 Первая медицинская помощь при механических травмах
7.3.3 Первая медицинская помощь при синдроме длительного
сдавления
7.3.4 Первая медицинская помощь
при ожогах
7.3.5 Первая медицинская помощь при отравлении продуктами
горения
7.3.6 Первая медицинская помощь при электротравмах
7.3.7 Психологическая устойчивость в чрезвычайных ситуациях
8 МАТЕРИАЛЬНО-ТЕХНИЧЕСКОЕ ОБЕСПЕЧЕНИЕ ФОРМИРОВАНИЙ рсчс ПРИ ЛИКВИДации ЧС на туймазинском газоперерабатывающем заводе
8.1 Материально-техническое обеспечение формирований РСЧС в
зоне ЧС (основные принципы и требования)
8.1.1 Обеспечение формирований водой
8.1.2 Обеспечение продуктами питания
8.1.3 Обеспечение предметами первой необходимости
8.1.4 Расчет расхода топлива и горюче-смазочных
материалов для спасательной техники
8.1.4.1 Расчет нормативного расхода топлива для бортовых
грузовых автомобилей
8.1.4.2 Расчет расхода топлива для автобусов, машин скорой
и специальной помощи
8.1.4.3 Нормы расхода топлива на
работу специального оборудования установленного на автомобилях
8.1.4.4 Расчет расхода топлива для
техники на базе тракторов
8.1.4.5 Нормы расхода смазочных материалов
8.1.5 Обеспечение ремонта спасательной техники, участвующей
в работах в зоне ЧС
9 Оценка экономического
ущерба при возникновении чрезвычайной ситуации на ТУЙМАЗИНСКОМ
ГАЗОПЕРЕРАБАТЫВАЮЩЕМ ЗАВОДЕ
9.1 Расчет затрат на локализацию аварии и ликвидацию ее
последствий
9.1.1 Затраты на питание ликвидаторов аварии
9.1.2 Расчет затрат на оплату труда ликвидаторов аварии
9.1.3 Расчет затрат на организацию стационарного и
амбулаторного лечения пострадавших
9.1.4 Расчет затрат на топливо и горюче-смазочные материалы
9.1.5 Расчет затрат на амортизацию используемого
оборудования и технических средств
9.2 Расчет величины социального ущерба
9.3 Определение величины экономического ущерба
ВЫВОДЫ
Приложение А
Приложение Б
Список литературы
РЕФЕРАТ
ЧРЕЗВЫЧАЙНАЯ СИТУАЦИЯ, ВЗРЫВ, ПОЖАР, АНАЛИЗ, РИСК,
ЕМКОСТЬ ОРОШЕНИЯ, СЖИЖЕННЫЙ УГЛЕВОДОРОДНЫЙ ГАЗ, ПРОПАН, УЩЕРБ,
ПОЖАРОВЗРЫВОЗАЩИТА.
Актуальность работы обусловлена тем, что ущерб от
пожаров и взрывов на предприятиях нефтепереработки имеет колоссальные размеры и
тенденцию постоянного роста. По мере повышения уровня технической оснащенности
производства, повышается и его пожароопасность. Пожары являются составной
частью большинства чрезвычайных ситуаций на объектах хранения и переработки
углеводородных газов, что обуславливает необходимость разработки мер,
направленных на их предупреждение.
Объектом исследования
является газофракционирующая установка Туймазинского газоперерабатывающего
завода, предназначенная для ректификации широкой фракции легких углеводородов.
Цель работы – обеспечение
безопасности, прогнозирование чрезвычайной ситуации и разработка мероприятий по
проведению аварийно-спасательных и других неотложных работ на Туймазинском
газоперерабатывающем заводе
Произведена оценка
промышленной безопасности газофракционирующей установки. Рассмотрены
вероятности возникновения различных вариантов аварий со взрывом и последующим
пожаром пролива на территории установки. Приведен прогноз возможных потерь
среди персонала предприятия. Предложен комплекс спасательной техники,
используемой при ликвидации последствий аварии. Рассчитано количество и состав
спасательных формирований привлекаемых к ведению аварийно-спасательных и других
неотложных работ.
Приведены расчеты
возможного экономического ущерба от аварии, рассчитан экологический ущерб
окружающей среде, а также социальный ущерб при гибели сотрудников предприятия.
Проведен анализ причин
возникновения аварийных ситуаций на объекте исследования и приведен перечень
мероприятий позволяющих снизить пожарную опасность производства.
Пояснительная записка на
___ листах, количество иллюстраций ___, таблиц ___, источников ___.
СПИСОК
ПРИНЯТЫХ СОКРАЩЕНИЙ
ЧС – чрезвычайная
ситуация
АСДНР –
аварийно-спасательные и другие неотложные работы
ТГПЗ – Туймазинский
газоперерабатывающий завод
СУГ – сжиженные
углеводородные газы
ЛВЖ –
легковоспламеняющиеся жидкости
ГГ – горючие газы
НКПВ – нижний
концентрационный предел взрываемости
КИП и А –
контрольно-измерительные приборы и аппараты
РТП – руководитель
тушения пожара
ГСМ – горюче-смазочные
материалы
ПЧ – пожарная часть
ГЗСО – газоспасательный
отряд
КЭС –
коммунально-энергетические сети
МТО –
материально-техническое обеспечение
СИЗ – средства
индивидуальной защиты
ВВЕДЕНИЕ
Чрезвычайные ситуации,
связанные с применением сжиженных углеводородных газов в настоящее время
происходят все чаще, в связи с нарастанием объемов производства. Актуальность
работы обусловлена тем, что ущерб от пожаров и взрывов в промышленно развитых
странах имеет колоссальные размеры и тенденцию постоянного роста. По мере
повышения уровня технической оснащенности производства, повышается и его пожаровзрывоопасность.
Пожары и взрывы являются составной частью большинства чрезвычайных ситуаций на
предприятиях нефтегазопереработки, что обуславливает необходимость и
актуальность разработки мер, направленных на их предупреждение.
Целью дипломной работы
является обеспечение безопасности, прогнозирование чрезвычайной ситуации и
разработка мероприятий по проведению аварийно-спасательных и других неотложных
работ на Туймазинском газоперерабатывающем заводе.
Для реализации
поставленной цели, в работе решаются следующие задачи:
-
проведен анализ
аварийности на данном и аналогичных производствах, выявлены возможные причины и
разработаны сценарии возникновения развития аварийной ситуации на объекте
методом построения дерева отказов;
-
произведен расчет
масштабов воздействия поражающих факторов ЧС;
-
предложен
комплекс мероприятий по проведению аварийно – спасательных и других неотложных
работ в зоне поражения;
-
изучена система
управления за промышленной безопасностью на объекте и порядок взаимодействия
формирований при ликвидации аварии;
-
разработаны
мероприятия по обеспечению безопасности при работе формирований в зоне
поражения и оказанию медицинской помощи пострадавшим;
-
рассчитан
экономический ущерб от аварии;
Решение этих задач
позволит повысить безопасность функционирования предприятия и его устойчивость
к возникновению чрезвычайных ситуации, путем предложения комплекса мероприятий
по снижению рисков возникновения аварий.
1
ЛИТЕРАТУРНЫЙ ОБЗОР
В разделе проводятся
краткий анализ аварийности объектов нефтегазового комплекса в России и за
рубежом, анализ в аспектах экологии, экономики, этики и устойчивости в ЧС,
рассматриваются возможные аварийные ситуации на предприятиях
газоперерабатывающей отрасли на основе информации из литературных источников,
приводится краткая физико-химическая характеристика сжиженных углеводородных
газов. Выяснив особенности технологических процессов, причины аварий и условия
их возникновения, можно спрогнозировать ЧС и определить последствия воздействия
поражающих факторов.
1.1 Применение
сжиженных углеводородных газов
Сжиженные газы широко применяют в качестве сырья для
нефтехимической промышленности, используют как моторное топливо, а также
бытовое топливо для газификации населенных пунктов, предприятий,
животноводческих ферм и т.д.
Основной потребитель сжиженных газов в настоящее время –
это нефтехимические производства. Этан, пропан, н-бутан, а также газовый бензин
и гексан служат сырьем для производства этилена, из которого получают этиловый
спирт, глицерин, этиленгликоль, дихлорэтан, хлористый этил и др. При дальнейшей
переработке этих веществ получают лаки, растворители, красители, моющие
средства, синтетический каучук, полиэтилен, полипропилен [1].
В промышленности
сжиженные углеводородные газы используются для термической обработки и резки
черных металлов, для сварки и пайки цветных металлов, для поверхностной закалки
и сушки. Применение газа для технологических нужд промышленности снижает
стоимость топлива, способствует повышению производительности и улучшению
качественных показателей работы агрегатов, а в химической промышленности
улучшает технико-экономические показатели производства и позволяет уменьшить
использование других веществ.
Сжиженные газы получают из попутного нефтяного газа,
который добывается вместе с нефтью на нефтяных месторождениях. Добытый на
месторождениях нефтяной газ представляет собой смесь различных углеводородов,
водяных паров, азота, а иногда и кислых компонентов: углекислоты и
сероводорода. Транспортировать такой газ по трубопроводам на относительно
большие расстояния и под давлением выше 0,7 МПа практически невозможно, так как
водяные пары и тяжелые углеводороды при понижении температуры конденсируются,
образуя жидкостные, ледяные и гидратные пробки, поэтому нефтяной газ
подвергается переработке на газоперерабатывающих заводах [3].
При больших масштабах
производства и переработки углеводородного сырья возрастают вероятность и
степень опасности взрывов и пожаров. Размеры ежегодного материального ущерба от
пожаров и взрывов во всех технически развитых странах имеют тенденцию к
неуклонному росту. При этом увеличиваются размеры материального ущерба от каждого
отдельного случая взрыва или пожара, так как с непрерывным ростом масштабов
производства увеличиваются единичная мощность установок и концентрация на
производственных площадях горючих и взрывоопасных продуктов и, прежде всего,
сжиженных углеводородных газов. Наибольшее число крупных пожаров и взрывов на
складах и открытых площадках обусловлено утечкой ЛВЖ и сжиженных углеводородных
газов. Для выявления причин аварий на предприятиях газоперерабатывающей отрасли
необходимо рассмотреть физико-химические свойства газа, особенности
технологических процессов, статистику характерных чрезвычайных ситуаций в
России и в мире [4].
1.2 Физико-химические свойства сжиженных углеводородных
газов, обуславливающие возникновение аварии
Давление
паровой фазы. Пары
сжиженных углеводородных газов обладают значительной упругостью (давлением),
которая возрастает с повышением температуры. Для жидкой фазы углеводородов
характерен высокий коэффициент объемного расширения, она может охлаждаться до
отрицательных температур. Паровая фаза имеет плотность, значительно превышающую
плотность воздуха, обладает медленной диффузией, способна накапливаться в
низких местах и колодцах, особенно при отрицательных температурах воздуха, в
отличие от других газов имеет низкую температуру воспламенения и низкие
значения пределов взрываемости (воспламеняемости) в воздухе, способна
образовывать конденсат при низких температурах воздуха или при повышении
давления.
Сжиженные
углеводородные газы в закрытых сосудах и газопроводах находятся под давлением,
которое соответствует упругости их паров при данной температуре. Давление в
сосудах изменяется пропорционально температуре [5].
Обеспечение
герметичности сосудов, газопроводов, запорной и регулирующей арматуры, а также
их соединений является условием полной безопасности и безаварийности при
хранении, розливе и транспортировке сжиженных газов. При заполнении сосудов
сжиженными газами сверхдопустимого возможно повышение давления, приводящее к
аварии, поэтому резервуары и баллоны полностью не заполняют, а оставляют
некоторый объем, занимаемый парами сжиженных газов. Степень заполнения
резервуаров и баллонов принимается в зависимости от марки газа, разности его
температур во время заполнения и при последующем хранении. При разности температуры
до 40 °С степень заполнения принимается 85%, а при большей разности она должна
соответственно снижаться [5].
Конденсатообразование. Нагрев жидкой фазы вызывает ее
испарение, увеличение массы насыщенных паров при одновременном повышении их
температуры и давления (упругости). При охлаждении паровой фазы возникает
обратный процесс - конденсатообразование. В связи с периодическими понижениями
и повышениями температуры окружающей среды (воздуха, земли) в течение суток и
года, а также в результате отбора паровой фазы в резервуарах и баллонах,
заполненных сжиженными углеводородными газами, непрерывно происходит процесс
тепломассообмена между жидкой и паровой фазами. Он более интенсивен, если
жидкая и паровая фазы находятся в различных температурных условиях (например,
подземные резервуары групповых установок в зимнее время находятся в зоне более
высоких температур, чем выходящие из земли газопроводы). В установках
сжиженного газа, смонтированных без учета процесса конденсатообразования в
паровой фазе, газоснабжение нарушается и возникают аварии [5].
Для
предупреждения указанных нарушений необходимо резервуары и трубопроводы
насыщенных паров располагать в зоне одинаковых температур, предусматривать
возможность беспрепятственного стока конденсата из газопроводов обратно в
резервуар. Значительную опасность представляет конденсат, образующийся в
трубопроводах паровой фазы перед компрессорами, Для предотвращения попадания
конденсата в компрессоры предусматривается обязательная установка
конденсатоотводчиков на всасывающих трубопроводах смеси углеводородов.
Насыщенные пары конденсируются при понижении температуры или повышении
давления, поэтому они не могут транспортироваться по трубопроводам без
постоянного отвода конденсата или дополнительного подогрева.
Для
предотвращения конденсатообразования входы в здания должны быть наружными,
цокольными, утепленными. Подземные газопроводы от резервуарных установок с
искусственным испарением, оборудованные нагревателями-регазификаторами,
необходимо прокладывать ниже глубины промерзания или с тепловым спутником,
обеспечивающим положительную температуру сжиженного газа [5].
Охлаждающее
действие сжиженных газов. В зимнее время сжиженные углеводороды могут охлаждаться до температур
ниже точки кипения и сохранять при этом свойства жидкости. Это объясняется тем,
что пропан отвердевает при -189°С, а н-бутан при -135°С. Переохлажденные
жидкости в испарение сжиженных углеводородов сопровождается отбором тепла из
окружающей среды, что служит дополнительной причиной глубоких обмораживаний.
Одной из особенностей сжиженных углеводородных газов является значительное
понижение температуры при испарении жидкой фазы в летнее время.
Пожаро-
и взрывоопасностъ.
Пожароопасность сжиженных газов характеризуется следующими свойствами: высокой
температурой горения, значительной теплотой, выделяющейся при сгорании
газовоздушной смеси, низкими пределами воспламеняемости (взрываемости) и
температурой воспламенения паровой фазы, потребностью большого количества
воздуха при горении [6].
Под
концентрационными пределами воспламеняемости понимается минимальное
(нижний предел) и максимальное (верхний предел) содержание в воздухе
горючих газов, за пределами которого их воспламенение любыми источниками огня
невозможно. Пределы воспламеняемости выражаются в процентах по объему при
нормальных условиях газовоздушной смеси. С увеличением температуры
газовоздушной смеси пределы воспламеняемости расширяются.
При
горении углеводородных газов в большом количестве образуются продукты сгорания,
которые содержат мало кислорода, необходимого для дыхания человека. Сжиженные
углеводородные газы тяжелее воздуха и при утечках распространяются по земле,
заполняя низкие места (впадины, колодцы, приямки и другие подземные
коммуникации). Таким образом, газ может распространиться на значительные
расстояния (до нескольких сотен метров).
Большую
опасность представляют хранилища газа в наземных резервуарах и баллонах. При
пожарах в случае возгорания газов характерны быстрое развитие огня, высокая
интенсивность тепловыделения, возможность взрывов баллонов и резервуаров, малая
эффективность обычных средств пожаротушения.
Часто
пожару предшествует взрыв, возникающий в результате воспламенения и горения
газовоздушной смеси в ограниченном объеме: производственном помещении, подвале,
канале, колодце, резервуаре, топке котла или печи. Горение в этом случае
сопровождается нагревом и расширением газов, что приводит к быстрому повышению
давления, влекущему за собой разрушение строительных конструкций [6].
Для
газоснабжения согласно ГОСТ 20448-90 «Газы углеводородные сжиженные топливные
для коммунально-бытового потребления» используют сжиженные углеводородные газы
нескольких марок: СПБТЗ - смесь пропана и бутана технических зимняя, СПБТЛ -
смесь пропана и бутана технических летняя и БТ - бутан технический (табл. 1
Приложения А).
Газы
углеводородные сжиженные топливные образуют с воздухом взрывоопасные смеси при
концентрации паров в % объемных от 1,5 до 9,5%. Характеристики углеводородов в
составе сжиженных газов приведены в табл.2 Приложения А [7].
Взрывоопасность газоперерабатывающего производства
определяется не только объемами и свойствами обращающихся веществ, но в
значительной мере характером и особенностями технологических процессов.
1.3 Переработка
газа
Попутные
нефтяные газы выделяются с нефтью при ее добыче из нефтяных скважин. С каждой
тонной добываемой нефти получают в среднем около 50 м3 газов.
Некоторая часть из них уходит сразу же при извлечении нефти на поверхность
земли. Другая часть газов остается растворенной в нефти и их затем отгоняют на
специальных установках. Попутные газы содержат смесь различных углеводородов,
водяные пары, азот, а иногда кислые компоненты: углекислоту и сероводород.
Транспортировать такой газ по трубопроводам на относительно большие расстояния
и под давлением выше 0,7 МПа практически невозможно, так как водяные пары и
тяжелые углеводороды при понижении температуры конденсируются, образуя жидкостные,
ледяные и гидратные пробки [1].
На
газоперерабатывающих заводах с полным технологическим циклом существуют пять
основных технологических процессов:
прием, замер
и подготовка нефтяного газа к переработке, т.е. сепарация, очистка, осушка;
компримирование
газа до давления, необходимого для переработки и транспортирования по
магистральным газопроводам до потребителей;
отбензинивание
газа, т.е. извлечение из него нестабильного газового бензина;
разделение
нестабильного бензина на газовый бензин и индивидуальные технически чистые
углеводороды пропан, изобутан, н-бутан;
прием,
хранение и отгрузка железодорожным транспортом или по трубопроводам жидкой
продукции завода [1].
Основным
технологическим процессом газоперерабатывающего завода является процесс
отбензинивания. Применяют четыре способа отбензинивания:
компрессионный,
низкотемпературная
конденсация и ректификация,
абсорбционный,
адсорбционный.
Компрессионный
способ отбензинивания основан на сжатии и последующем охлаждении газа в
воздушных и водяных холодильниках; при этом некоторая часть тяжелых
углеводородов и паров воды, входящих в состав газа, конденсируется, а затем
отделяется в сепараторах [1].
Компрессионный
способ как самостоятельный применяют крайне редко и только для отбензинивания
очень «жирных» газов с содержанием С3Н8+ высшие от 1000
г/м3 и выше. Этот способ не обеспечивает достаточной глубины извлечения
целевых компонентов из газа и обычно сочетается с другими способами
отбензинивания.
В процессе
низкотемпературной конденсации сжатый газ охлаждается до низких температур
специальными хладагентами (пропаном, аммиаком), в результате чего значительная
часть газа конденсируется. Углеводородный конденсат, содержащий все
углеводороды, входящие в состав исходного газа, отделяется в сепараторе и затем
подается в ректификационную колонну – деэтанизатор. Сверху колонны отводится
метан и этан, а снизу – нестабильный газовый бензин [1].
Применение
способа низкотемпературной конденсации целесообразно, когда в сырьевом газе
содержание С3Н8+ высшие превышают 300 г/м3 и
из газа извлекают гелий.
Низкотемпературная
ректификация отличается от процесса низкотемпературной конденсации тем, что
процесс ректификации происходит при более низкой температуре и в
ректификационную колонну поступает двухфазная смесь: охлажденный газ и выпавший
из него углеводородный конденсат. Сверху колонны уходит отбензиненный газ, а
снизу – деметанизированный углеводородный конденсат. Этан из конденсата
отделяют во второй колонне – деэтанизаторе.
Абсорбционный
способ отбензинивания основан на различной растворимости компонентов газа в
жидких нефтепродуктах, применяемых в качестве абсорбентов – поглотителей.
Процесс отбензинивания
проводят в цилиндрической колонне, называемой абсорбером. Абсорбер по высоте
разделен поперечными перегородками – барботажными тарелками, на которых
происходит контактирование восходящего снизу вверх потока газа и стекающего
вниз абсорбента. По мере подъема газа от нижней тарелки до верхней, содержащиеся
в газе тяжелые углеводороды постепенно растворяются в абсорбенте, и сверху
абсорбера отводится отбензиненный газ, почти не содержащий тяжелых
углеводородов [1].
Снизу абсорбера отводится
насыщенный абсорбент, который направляется на следующую стадию – десорбцию. На
этой стадии благодаря нагреву и снижению давления происходит отпарка из
абсорбента поглощенных из газа углеводородов, которые, покидая десорбер сверху,
проходят через конденсаторы-холодильники, где конденсируются и образуют
нестабильный газовый бензин. Применение абсорбционного способа наиболее
рационально для отбензинивания газов, содержащих от 200 до 300 г углеводородов С3Н8+ высшие в
1 м3.
При переработке нефтяных
газов с содержанием С3Н8+ высшие от 50 до 100 г/м3
применяют адсорбционный способ отбензинивания. Он основан на свойстве твердых
пористых материалов поглощать пары и газы. В качестве адсорбента обычно
используют активированный уголь, который поглощает из газа преимущественно
тяжелые углеводороды и постепенно насыщается ими. Для отгонки поглощенных
углеводородов и восстановления адсорбционной способности насыщенный уголь
обрабатывают перегретым водяным паром. Смесь водяных и углеводородных паров, отогнанных
из адсорбента, охлаждается и конденсируется. Полученный нестабильный бензин
легко отделяется от воды [1].
Полученный в результате
переработки осушенный и отбензиненный нефтяной газ можно транспортировать до
потребителей по трубопроводам под высоким давлением на расстояние в сотни и
тысячи километров.
Технологические процессы
переработки газа осуществляются при высоких температурах и высоком давлении,
что создает предпосылки для возникновения ЧС, положение усугубляется
существенным износом оборудования и пожаровзрывоопасными свойствами
перерабатываемого сырья и получаемых продуктов [8].
1.4
Назначение газофракционирования в общей схеме переработки газа. Основы процесса
ректификации
Нестабильный бензин, получаемый на газоотбензинивающей
установке методом компрессии, абсорбции, низкотемпературной ректификации или
адсорбции, состоит из углеводородов от этана до гептана включительно.
В зависимости от состава перерабатываемого газа и глубины
извлечения целевых компонентов из него составы нестабильных бензинов колеблются
в широких пределах. Как товарный продукт нестабильный бензин не находит
непосредственного применения: в народном хозяйстве используют выделенные из
него технически чистые индивидуальные углеводороды, такие как пропан, изобутан,
н-бутан, изопентан, н-пентан, гексан, стабильный газовый бензин. В качестве
коммунально-бытового топлива используют также пропан-бутановую смесь в
различных соотношениях в зависимости от времени года [1].
Основное требование к
качеству каждого выделенного углеводорода - это чистота, т. е. высокая
концентрация целевого компонента в получаемой фракции. Выделить совершенно
чистые (не имеющие примесей) углеводороды в промышленных условиях практически
невозможно. Вместе с целевым компонентом в продукте будут содержаться и другие
углеводороды, имеющие близкие температуры кипения. Такая смесь носит название
фракции того или иного компонента или группы компонентов, например, пропановая
фракция, пропан-бутановая фракция, бутан-изобутановая фракция. Четкое
разделение смесей жидких углеводородов на составляющие компоненты достигается в
процессе ректификации. Если смесь двух взаиморастворимых жидкостей подвергнуть
постепенному нагреву, то при некоторой температуре начнет выкипать жидкость,
имеющая более низкую температуру кипения. Эту жидкость называют низкокипящим
компонентом (н. к. к.). При температуре кипения можно перевести в пар
практически полностью весь низкокипящий компонент, содержащийся первоначально в
смеси. После этого остаток будет состоять из высококипящего компонента (в. к.
к.). Этот остаток называется кубовым остатком, а пары низкокипящего компонента
после их конденсации в холодильнике - дистиллятом. Данный процесс, называемый
простой перегонкой, не дает возможности получить разделенные компоненты в
чистом виде, так как в парах низкокипящего компонента будет содержаться
некоторое количество паров высококипящего компонента и, наоборот, в кубовом
остатке будет растворено некоторое количество низкокипящего компонента. Для
полного или четкого разделения компонентов применяют ректификацию [1].
Ректификация - разделение жидких смесей на составляющие
компоненты или группы составляющих компонентов, различающихся по температурам
кипения, в результате противоточного взаимодействия паров смеси и жидкости смеси.
Взаимодействие паров и
жидкости достигается в ректификационных колоннах, снабженных контактными
устройствами - ректификационными тарелками или насадкой.
Сырье, которое необходимо разделить на две части -
высококипящую и низкокипящую, подается в среднюю часть колонны на тарелку
питания. Сырье может подаваться в колонну в виде жидкости, пара пли
парожидкостной смеси [1].
Введенная в колонну жидкая
смесь стекает по контактным устройствам в нижнюю часть колонны, называемую
отпарной. Навстречу потоку жидкости поднимаются пары, образующиеся в результате
кипения жидкости в кубе колонны. Пары, поступающие на тарелку с нижележащей,
имеют более высокую температуру, чем стекающая с вышележащей тарелки жидкость.
На тарелке в результате контакта паров и жидкости (флегмы) происходит выравнивание
температур. При этом из паров, которые охлаждаются, выделяется в жидкую фазу некоторое
количество высококипящего компонента, а из стекающей жидкости испаряется некоторое
количество низкокипящего компонента, т. е. на каждой тарелке или контактном
устройстве происходит теплообмен и массообмен. В парах по мере их подъема по
колонне уменьшается содержание в.к.к. и соответственно возрастает концентрация
н.к.к., а в опускающейся флегме возрастает концентрация в.к.к. и уменьшается концентрация
н.к.к. (рисунок 1.1).
Пары с верха колонны отводятся в конденсатор, где они
охлаждаются, частично пли полностью конденсируются. Часть сконденсированного
верхнего продукта или дистиллята закачивается насосом в качестве орошения,
которое, стекая с верхней тарелки, создает жидкостный поток — флегму.
Избыточная часть дистиллята откачивается за пределы установки или же
направляется в качестве сырья для другой колонны.
Флегма с низа колонны отводится в кипятильник, где она в
результате подвода теплоты подвергается частичному испарению. Выделившиеся из
флегмы пары из кипятильника возвращаются в колонну (под нижнюю тарелку) и
образуют восходящий паровой поток, что необходимо для ректификации.
В одной ректификационной колонне жидкую углеводородную смесь
можно разделить на две фракции. Для разделения смеси на три фракции требуется
двухколонная установка. В первой колонне выделяется одна фракция, а смесь двух
других разделяется во второй колонне. Для разделения смеси на п фракций
требуется п—1 ректификационных колонн.

Ι – сырье;
ΙΙ – холодное орошение; ΙΙΙ – дистиллят; ΙV – пары из холодильника; V – кубовый остаток
Рисунок 1.1 – схема
ректификационной колонны
Число тарелок в ректификационной колонне зависит от разницы
температур кипения разделяемых компонентов. Чем более близкие температуры имеют
углеводороды, тем труднее разделить их смесь на составляющие компоненты, тем
больше тарелок в колонне требуется для этого [1].
Основные параметры, определяющие работу ректификационных
колонн, - это давление, температуры верха, низа и ввода сырья в колонну,
кратность орошения или флегмовое число. Теоретически процесс ректификации
углеводородов можно проводить при широком диапазоне давлений — от глубокого
вакуума до критических величин. Но оптимальное - это минимальное давление, при
котором конденсацию верхнего продукта можно проводить, охлаждая водой или
воздухом. Следовательно, выбранная температура в емкости орошения и будет
определять давление в колонне: при парциальной конденсации паров верхнего
продукта - это давление точки росы, а при полной конденсации — давление
насыщенных паров кипящей жидкости.
В большинстве ГФУ охлаждающем агентом является оборотная
вода, температура которой в средней полосе России поддерживается 16-20°С зимой
и 24-30°С - летом. Исходя из этого, температуру конденсации верхнего продукта
принимают равной 40°С, а при использовании аппаратов воздушного охлаждения
температура в емкости орошения должна быть на 10-12°С выше максимально
возможной температуры окружающего воздуха.
Давление в емкости орошения равно сумме парциальных давлений
насыщенных паров при данной температуре [1].
Давление в
ректификационной колонне принимают обычно на 0,2-0,3 МПа выше, чем давление в
емкости орошения. Этого достаточно для преодоления гидравлического
сопротивления при прохождении паров через тарелки и конденсаторы. При выделении
из жидкой смеси легких углеводородов, таких, как метан и этан, оптимальное
давление может изменяться в широких пределах, так как это связано не только с
составом сырья, но и с технологической схемой установки, определяющей
возможность использования дешевых хладоагентов.
При заданных составах верхнего продукта (дистиллята) и
жидкого остатка, отводимого с низа колонн, температуру вверху и внизу колонны
определяют методом последовательного приближения. Температуру верха колонны
определяют как температуру конца кипения верхнего продукта. Температура низа
колонны должна отвечать температуре начала кипения (однократного испарения) остатка
при давлении в колонне [1].
Температура сырья, подаваемого в колонну, должна
соответствовать расчетной температуре тарелки питания. Оптимальная температура
питания определяется в основном затратами на хладоагент и теплоноситель. При
использовании дорогих хладоагентов (пропан, аммиак) при отделении метана и
этана невыгодно перегревать сырье, т.о. лучше направить его в колонну при
температуре кипения или даже в переохлажденном состоянии. В то же время при
использовании дешевых хладоагентов (вода и воздух) и дорогих теплоносителей
становится выгодным подавать сырье в парожидкостном состоянии. В колоннах ГФУ
предусматривается от одного до четырех вводов сырья на разные тарелки питания.
Подачу сырья на ту пли иную тарелку питания подбирают экспериментально, и она
зависит от состава сырья. Чем больше содержится в сырье тяжелых углеводородов,
на нижнюю тарелку питания оно подается, и, наоборот, сырье, с большим
содержанием легких углеводородом подается на верхнюю тарелку питания. Между
двумя соседними вводами сырья обычно располагается от трех до шести тарелок [1].
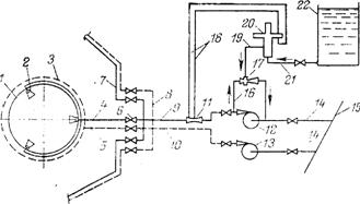
1.5
Технологическая схема газофракционирующей
установки ГФУ-1
ГФУ-1 предназначена для получения стабильного бензина и
сжиженных газов, или стабильного бензина и фракций индивидуальных углеводородов
из широкой фракции углеводородов [2].
Сырье с товарно-сырьевого парка через систему теплообменников
Т-2, Т-3, Т-4 с температурой 55-70 ºС и давлением 1,6-1,7 МПа поступает на
одну из питательных тарелок колонн К-4, К-5, К-6.
Верхний продукт колонн К-4, К-5, К-6 пропан-бутановые смеси
отводятся через конденсаторы - холодильники Х-10, Х-12, Х-15а, Х-13, Х-13а в
емкость орошения Е-11, Е-12, откуда часть продукта насосами Н-5(а, б), Н-6,
Н-8(а, б) подается на орошение колонн К-4, К-5, К-6, а избыток откачивается на
склад. Хвостовые газы из емкостей Е-11 и Е-12 через Е-12 через емкость Е-17
направляются в пункт редуцирования.
Нижние продукты (бутан-бензиновая смесь) колонн К-4, К-5, К-6
из испарителей И-1, И-2, И-3 через теплообменники Т-2, Т-3, Т-4, Т-5 с
температурой 50-70 ºС и давлением 0,6-0,7 МПа поступают в колонну К-7.
Колонны К-4, К-5, ГФУ-1 обвязаны с колонной К-8 ГФУ-2 для
отделения бутанов и углеводородов С5+выше [2].
Верхний продукт (смесь бутанов) колонны К-7 отводится через конденсаторы-холодильники
Х-15 в емкость Е-13, откуда часть продукта насосом Н-9 (а, б), с температурой
20-50 ºС, подается на орошение К-7, а избыток откачивается на склад.
Нижний продукт (стабильный газовый бензин) колонны К-7 из
испарителя И-4 через теплообменник Т-5 и холодильник Х-14 с температурой 20-40
ºС и давлением 0,3-0,4 МПа направляется в товарный парк [2].
Технологическая схема установки представлена на рисунке
1.2.
1.6
Особенности технологического процесса ректификации, обуславливающие его
пожаровзрывоопасность
Основными показателями работы ГФУ являются четкость
разделения сырья на составляющие компоненты и концентрация целевых компонентов
во фракциях. Качество их должно удовлетворять требованиям технических условий к
стандартам [1].
Исходя из утвержденного технологического регламента, для
каждой установки разрабатывается своя технологическая карта, в которой
указывают: оптимальный режим работы всего оборудования - пределы изменений
основных параметров процесса - давление в колоннах и емкостях орошения,
температура верха и низа (на контрольной тарелке) колонн, расход сырья, расход
орошения, уровни в кипятильниках, емкостях орошения и химический состав
получаемых продуктов.
Четкость ректификации и устойчивость технологического режима
в колоннах, а вместе с тем и качество получаемой на ГФУ продукции зависит в
основном от надежной работы контрольно-измерительных приборов и автоматических
регуляторов расхода, давления, уровня, температуры, анализаторов качества и от
опытности обслуживающего персонала.
Устойчивая работа ректификационных колонн ГФУ возможна при
обеспечении:
равномерной подачи сырья в целом на установку и на загрузку
отдельных колонн;
равномерной подачи орошения;
постоянства состава сырья;
надежного обеспечения установки теплоносителем и
хладоагентами.
Для правильного ведения технологического режима необходимо
знать влияние каждого из приведенных условий на процесс ректификации и на
качество получаемых продуктов [1].
Постоянство подачи сырья. Сырье в ГФУ поступает непосредственно из
газоотбензинивающих установок или же из товарно-сырьевых парков. При
неравномерной подаче сырья контактирующие на тарелках пары и флегма не приходят
в состояние равновесия из-за того, что в одних случаях уровни в тарелках будут
низкими, а в других - высокими, и поэтому возможен прорыв паров и, кроме того,
скорость паров тоже будет разной. При предельных нагрузках по сырью возможен
заброс флегмы с нижележащих тарелок на вышележащие и вынос вспененной жидкой
фазы через шламовую трубу колонны.
Неравномерность загрузки сырьем второй и последующих колонн
зависит не только от неравномерности подачи первоначального сырья на установку,
но и от устойчивой работы регуляторов уровня и откачивающих насосов (в том
случае, когда сырье в колонны подается насосами).
В схемах автоматического регулирования современных
ректификационных колонн уровни в емкостях, откуда откачивается сырье в колонны,
корректируются по расходу. Всякие изменения загрузки колонн необходимо
проводить плавно, без рывков, ориентируясь на показания расходомеров и
анализаторов качества — хроматографов на потоке дистиллятов и кубовых остатков [1].
Постоянство подачи орошения. Обычно состав дистиллята регулируется
изменением температуры верха колонны, что достигается изменением подачи орошения.
Для точного регулирования заданного состава дистиллята считается контрольной
температура на промежуточной тарелке (четвертой пли пятой, считая сверху), где
незначительное изменение составов контактирующих паров и флегмы сопровождается
большим изменением температуры, чем на верхней тарелке.
Если при повышении содержания в.к.к. в дистилляте резко
увеличить орошение, то повышается содержание н.к.к. в кубовом остатке.
Изменение орошения нужно также производить плавно, без рывков в течение
определенного времени и также ориентируясь на показания расходомеров и
анализаторов качества. Если состав сырья не меняется, то пропорционально
изменению расхода должны изменяться расход холодного орошения и расход
теплоносителя. При значительном уменьшении расхода питания в колонне расход
орошения можно уменьшить только до 0,4-0,6 от максимальной величины. Это
делается для того, чтобы способствовать сохранению четкой ректификации до
восстановления оптимальной подачи сырья в колонну [1].
Постоянство давления. Повышение давления в колонне может быть вызвано уменьшением
количества охлаждающей воды, поступающей в конденсаторы, или образованием
накипи и шлама в трубных пучках конденсаторов, особенно в летнее время, а
повышение давления в деэтанизаторе, где хладоагентом служит пропан или аммиак,—
уменьшением подачи этого хладоагента.
На ГФУ, в которых применяют аппараты воздушного охлаждения,
изменение давления в емкостях орошения, а равно и в колоннах, вызывается
изменением температуры окружающего воздуха в разное время суток, остановкой
одного или нескольких вентиляторов. В летний период должны работать все
вентиляторы с полностью открытыми жалюзи. В период жаркой погоды должны быть
включены и увлажнители воздуха, нагнетаемого вентиляторами. И если это не
помогает, то необходимо часть неконденсирующихся паров подавать на прием
сырьевых компрессоров.
В зимний период часть потока паров, выходящих из шлемовой
трубы колонны, необходимо через автоматический регулятор перепускать в емкости
орошения, т.е. мимо конденсаторов. Этим самым обеспечивается поддержание
нужного давления в емкостях и подпора па приеме насосов орошения. Независимо от
температуры окружающего воздуха температура конденсации дистиллята в зимнее
время не должна быть ниже 20-25 °С.
Регулирование работы
ректификационных колонн затруднительно из-за большой их инерционности. Следует
иметь в виду, что при регулировании процесса ректификации изменение режима
очень медленно распространяется от тарелки к тарелке. Так, возмущение при
изменении подачи сырья или орошения доходит до кубовой части колонны через
значительный промежуток времени. Такое запаздывание зависит не только от
количества тарелок, по которым стекает флегма, но и от величины вместимости
куба колонны.
Обслуживающий персонал ГФУ и других установок с ректификационными
колоннами должен знать влияние всех параметров на процесс ректификации и
воздействовать на процесс изменением не одного из какого-либо параметров, но по
совокупности нескольких [1].
1.7
Статистика чрезвычайных ситуаций на предприятиях нефтегазового комплекса
Анализ характера и причин
аварий в нефтегазовой промышленности показывает, что в последнее десятилетие
большинство из них (около 95 %) связано со взрывами: 54% в аппаратуре, 46% в
производственных зданиях и на открытых технологических площадках. Статистика ЧС
за 2000-2005 гг показывает, что из общего количества взрывов в 42,5% случаев
происходят взрывы сжиженных углеводородных газов. При залповых выбросах горючих
7 % не сопровождаются воспламенением, 35% завершаются взрывами, в 23% случаев
взрывы сочетаются с пожарами, 34% сопровождаются только пожарами (рисунок 1.3) [9].

Рисунок 1.3 – Диаграмма последствий
залповых выбросов СУГ
Аварийность промышленных
предприятий имеет тенденцию к росту, о чем свидетельствует статистика аварий в
Российской Федерации и в мире.
04.01.1966 г. В Фейзене (Франция) произошел взрыв
резервуара с жидким пропаном в результате пролива вещества из системы спуска
воды из резервуара и воспламенения облака от проезжавшей невдалеке автомашины.
Погибли 17 человек и получили травмы 80 человек [10].
19.11.1984 г. В пригороде Мехико Сан-Хуан в
хранилище сжиженных нефтяных газов в результате утечек большого их количества
из трубопровода и резервуара произошло несколько взрывов, начался пожар.
Погибло более 500 человек, больше 7000 получили травмы [10].
11.04.2000г. в Якутске произошел пожар в
результате несанкционированного отбора продукции с эксплуатационной колонны
оператором ГПЗ. Отбор производился в месте, где расположен уровнемер.
Температура продуктов в колонне на момент аварии составляла 77 С0
(тогда как при атмосферном давлении температура кипения получаемой продукции 38
С), т.е. фактически производился слив кипящего раствора, что является грубейшим
нарушением правил пользования газофракционирующей установкой. Канистра, в
которую непосредственно направлялся кипящий раствор, разорвалась и произошло
воспламенение. Причиной возгорания продукта предположительно является искра,
возникшая либо в результате разряда статического электричества, либо в
результате удара оторвавшейся горловины канистры о находящееся внутри
газофракционирующей установки оборудование [11].
23.08.2000 г. в цехе полимеризации бутилкаучука
ОАО "Синтезкаучук" в Тольятти (Самарская область) вспыхнул пожар
из-за утечки газа при проведении ремонтных работ. В результате пожара один
человек погиб и трое госпитализированы.
08.09.2002 г. на Сосновском газоперерабатывающем
заводе (Вуктыльский район Коми) во время ремонтных работ по устранению свища в одной из веток
конденсатопровода произошел взрыв, при этом погиб один человек и шестеро
получили ожоги различной степени тяжести [11].
05.01.2004 г. на Ямале произошел прорыв
магистрального газопровода. На газопроводе «Уренгой — Центр II» в результате коррозии
металла произошел взрыв с возгоранием. Пострадавших нет.
10.01.2004 г. в Польше неподалеку от города
Вадовице возник пожар на газопроводе, снабжавший газом газонаполнительную
станцию. Высота пламени достигала 50 метров. Причиной аварии послужила трещина
в газопроводе, который находился под высоким давлением. Пострадавших нет.
20.01.2004 г. В Алжире на газоперерабатывающем
заводе в результате коррозии взорвался резервуар со сжиженным пропаном, 27
человек погибло, 74 человека получили травмы различной степени тяжести.
20.02.2004 г. в Новороссийске в районе нефтяного
терминала Грушовое произошел разрыв магистрального газопровода
Крымск-Новороссийск-Геленджик, возник пожар. Пострадавших нет [13].
22.03.2005 г. в Муравленко (Ямало-Ненецкий
автономный округ, ЯНАО) на газоперерабатывающем заводе при вскрытии тепловой
камеры произошла вспышка паров газа без распространения пламени и горения, в
результате которой пострадали 4 человека [13].
26.07.2005 г. На Ново-Уфимском нефтеперабатывающем
заводе прогремел сильный взрыв, причиной взрыва стал прорыв трубопровода
газовой магистрали в цехе гидроочистки бензина. Жертв и пострадавших нет [13].
На основании вышеизложенных данных можно сделать вывод,
что к наиболее тяжелым последствиям приводят аварии, связанные с разрушением
сборников, содержащих сжиженные газы, или со взрывами газовых смесей внутри
резервуаров при их переполнении, повышении температуры сверхдопустимой,
применении несоответствующих материалов и низком качестве изготовления сосудов.
Основными причинами аварий являются ошибки и нарушение правил техники
безопасности персоналом, неисправность и изношенность оборудования (рисунок
1.4) [12].

1 – Ошибки персонала
(30%);
2 – Нарушение
технологического процесса (25%);
3 – Отказы средств
регулирования и защиты (20%);
4 – Пропуск через
фланцевые соединения (10%);
5 – Коррозия (5%);
6 – Механические
повреждения (5%);
7 – Сбои в подаче
электроэнергии (5%).
Рисунок 1.4 – Причины
возникновения аварий на предприятиях нефтегазопереработки
1.8
Анализ пожаровзрывоопасности газоперерабатывающего производства
Характерные аварии в газоперерабатывающей
промышленности подразделяются на взрывы на открытых установках и в
производственных помещениях, вызванные выбросами по каким-либо причинам горючих
и взрывоопасных веществ в атмосферу, и взрывы внутри технологического оборудования,
сопровождаемые его разрушением и выбросом горючих продуктов, что влечет за
собой вторичные взрывы или пожары в атмосфере.
Основное количество аварий связано с ведением
химико-технологических процессов (81%) , с подготовкой оборудования к ремонту,
ремонтными работами или приемом оборудования из ремонта (13%), по другим
причинам (6%).
Аварии в газоперерабатывающей промышленности являются
следствием несовершенства отдельных технических средств, недостатков проектов,
а также ошибочных действий производственного персонала. На основании обобщения
и анализа результатов технического расследования аварий на предприятиях отрасли
выявлены следующие основные причины и условия возникновения и развития аварий
[14]:
1) Пожаровзрывоопасные свойства применяемого сырья,
конечных и побочных продуктов;
2) Аппаратное оформление – наличие на установке аппаратов,
находящихся под давлением, высокая плотность расположения оборудования
(вероятность развития сценария с эффектом «домино»), значительные объемы
взрывоопасных материалов, находящихся в аппаратах;
3) Ведение процесса при сравнительно высоких давлениях (до
1,6 МПа) и высоких температурах (до 250 ºС).
4) Выход параметров технологического процесса за критические
значения – изменение давления, изменение температуры, изменение уровня
жидкости, изменение состава сырья, изменение дозы и скорости подачи сырья.
5) Нарушение герметичности оборудования. Наибольшее
число случаев разгерметизации технологических систем связано с повышенной
скоростью коррозии металла, сверхдопустимым износом оборудования и
трубопроводов, некачественным выполнением сварных швов, пропуском через
прокладки фланцевых соединений, недостаточным уплотнением сальниковых набивок,
конструктивными недостатками аппаратов, сброс продукта через предохранительные
клапана в атмосферу без сжигания.
6) Неисправность средств регулирования и противоаварийной
защиты процессов. Пятая часть взрывов, пожаров и загораний на
предприятиях газоперерабатывающей промышленности обусловлена несовершенством,
неисправностью или необоснованным отключением контрольно-измерительных
приборов, блокировок и других средств автоматического управления процессом.
Наибольшую опасность представляют отказы в работе средств регулирования
заданных параметров: температуры, давления, уровней жидкости в аппаратуре,
скорости дозирования и состава материальных сред, которые, в конечном итоге,
приводят к разгерметизации технологического оборудования, выбросам в атмосферу
взрывоопасных продуктов и крупным авариям. Многие отклонения режима, вызванные
отказами и средств регулирования, являются также и причиной возникновения
источников воспламенения или импульсов взрыва [22].
7) Непрофессиональные и
ошибочные действия обслуживающего персонала, в том числе, при проведении
сварочных и ремонтных работ, неудовлетворительная ревизия состояния
оборудования и трубопроводов; нарушение правил технической эксплуатации, а
также некомпетентность при принятии решений в экстремальных ситуациях;
8) Невыполнение на предприятиях графиков
планово-предупредительного ремонта оборудования, некачественный монтаж или
ремонт оборудования.
9) Возможность появления источника воспламенения –
образование зарядов статического электричества при движении газов и жидкостей
по аппаратам и трубопроводам, применение тока высокого напряжения для электродвигателей,
применение при производстве работ инструментов, дающих при ударах искру,
производство ремонтных работ с применением открытого огня, неисправность или
отсутствие средств молниезащиты и защиты от статического электричества,
нарушение правил противопожарной дисциплины, неисправность заземления и
изоляции электрооборудования, неисправность средств пожаротушения, открытые
форсунки печей [19].
Таким образом, выявленные основные причины, условия
возникновения и развития взрывов показывают, что низкий уровень обеспечения
взрывопожаробезопасности отдельных предприятий создает повышенную вероятность
возникновения на них взрыва.
1.9
Анализ пожаровзрывоопасности предприятий газоперерабатывающей промышленности в
аспектах экономики, экологии, этики и устойчивости в чрезвычайных ситуациях
Аварии на предприятиях
газоперерабатывающей промышленности влекут за собой большой материальный ущерб
и приводят к значительным затратам при восстановлении производства.
Экономический ущерб от взрыва
и пожара на газофракционирующей установке оценивается остаточной балансовой
стоимостью разрушенного здания, оборудования и стоимостью потерянного или
пришедшего в негодность сырья и готовой продукции. Следствием этого является и
упущенная выгода [20].
Фактические потери для
народного хозяйства значительно превышают экономический ущерб, так как в него
не включены убытки от простоя предприятия, стоимость проектно-восстановительных
работ.
Кроме того, имеют место
затраты на тушение пожара и защиту соседних участков (огнетушащие вещества и
горюче-смазочные материалы для пожарной техники), применение привлекаемой
техники, необходимой для ликвидации ЧС на газоперерабатывающем заводе, включая
и амортизационные отчисления для используемой техники, оплату работы спасателей
и других ликвидаторов ЧС, выплату семьям погибших, лечение пострадавшего в
результате аварии на газоперерабатывающем заводе рабочего персонала [20].
Для обеспечения
возможности компенсации причиняемых при пожаре и взрыве установки убытков и
создания дополнительных источников финансирования природоохранных мероприятий
необходимо осуществить экологическое страхование для предприятий
нефтегазопереработки, т.е. страхование ответственности организации – владельца
источника экологической опасности.
Внезапное и
непреднамеренное нанесение ущерба жизни, здоровью или имуществу третьих лиц или
окружающей среде в результате пожара и взрыва является страховым случаем.
Страховое возмещение
определяется в результате рассмотрения дела в суде и включает в себя:
а) ущерб, причиненный
уничтожением или повреждением имущества;
б) вред, причиненный
жизни или здоровью;
в) вред, причиненный
природной среде;
г) компенсацию расходов,
произведенных страхователем в целях уменьшения убытков и ликвидации последствий
аварии.
Страховщиком не
возмещаются:
а) вред, причиненный
работникам страхователя;
б) моральный вред;
в) вред, причиненный
имуществу, которым страхователь обладает на праве собственности, ином вещном
или обязательственном праве;
г) неустойки и штрафы;
д) упущенная выгода [23].
Экологическое страхование
выполняет ряд функций. Важнейшими из них являются:
а) компенсационная –
реализуется путем аккумулирования денежных средств в фондах страховых
организаций, за счет которых в дальнейшем компенсируются убытки, причиненные
третьими лицам и окружающей природной среде;
б) превентивная –
обеспечивается путем возложения на страхователя обязанности проведения
комплекса мероприятий, направленных на снижение риска возникновения аварий.
Невыполнение этих обязанностей может служить основанием для отказа в выплате
страхового возмещения, поэтому страховщик осуществляет жесткий контроль за
выполнением страхователем условий договора по проведению превентивных мер.
Экологическое страхование может быть
добровольным и обязательным. При добровольном страховании страхователями могут
быть юридические лица, расположенные на территории РФ, также за ее пределами,
но имеющие производственные мощности на территории РФ. Обязательное
экологическое страхование в настоящее время предусмотрено ФЗ «О промышленной
безопасности опасных производственных объектов» Согласно этому закону
организации, эксплуатирующие опасные производственные объекты, обязаны
заключить договор страхования ответственности на случай аварии на данном
объекте. Наличие договора является одним из обязательных условий выдачи
лицензии этим организациям [23].
Этическая проблема причин возникновения
пожара и взрыва на объекте газоперерабатывающей промышленности заключается в
халатном отношении персонала, неправильной эксплуатации оборудования,
несоблюдении техники пожарной безопасности, несоблюдении правил при ведении
огневых работ.
Способность оборудования
газоперерабатывающего завода противостоять поражающим факторам пожара и взрыва
характеризует его устойчивость в ЧС. Для повышения сопротивляемости поражающим
факторам ЧС необходимо проведение ряда мероприятий для предотвращения пожаров и
взрывов и уменьшения их развития в случае возникновения (требования норм к
проектированию и строительству зданий и сооружений объектов экономики, к технике
безопасности на рабочем месте, пожарной охране предприятия и др.). Мероприятия
по обеспечению взрывобезопасности рассмотрены ниже в п. 1.9.
1.10 Предотвращение взрывов и взрывозащита производственного
оборудования, зданий, сооружений и технологических процессов предприятий
нефтегазопереработки
Взрывобезопасность
производственных процессов, зданий, сооружений, производственного оборудования
обеспечивают мерами по взрывопредупреждению и взрывозащите, организационными и
организационно-техническими мероприятиями в соответствии с действующими
нормативно-техническими документами.
Взрывопредупреждение -
комплекс организационных и технических мер, предотвращающих возможность
возникновения взрывов и направленных на исключение условий образования
взрывоопасных газовоздушных смесей и источников их зажигания [24].
Взрывозащита - комплекс
технических мер, предотвращающих воздействие на людей опасных и вредных
факторов взрыва и обеспечивающих сохранение производственного оборудования,
зданий, сооружений, сырья и готовой продукции. Так как необходимым и
достаточным условием возникновения взрыва является наличие взрывоопасной
газовоздушной (смеси с содержанием горючего в пределах области воспламенения) и
источника инициирования взрыва (источника зажигания смеси достаточной мощности
и температуры), то для предотвращения взрыва необходимо исключить эти условия
или хотя бы одно из них. Основные направления мероприятий по
взрывопредупреждению представлены на рисунке 1.5.
Для обеспечения защиты
людей и материальных ценностей при возникновении взрыва должны быть
предусмотрены меры, предотвращающие воздействие следующих опасных факторов
взрыва:
-
пламени и
высокотемпературных продуктов горения;
-
давления взрыва;
-
высокоскоростных
газовоздушных потоков;
-
ударных волн;
-
обрушившихся
конструкций зданий и сооружений и разлетающихся элементов строительных
конструкций, производственного оборудования и коммуникаций [24].
Основные направления
технических мер по взрывозащите представлены на рисунке 1.6.

Рисунок 1.5 – Мероприятия
по взрывопредупреждению на ТГПЗ

Рисунок 1.6 – Мероприятия
по пожаровзрывозащите
Таким образом, в разделе
произведен анализ аварийности объектов газоперерабатывающей промышленности,
рассмотрены особенности технологического процесса, пожаровзрывоопасные свойства
сжиженных углеводородных газов, выявлены причины возникновения аварий и условия
их возникновения. Рассмотрена необходимая информация для разработки сценария
развития аварии разделе 2.
2 АНАЛИЗ ВОЗМОЖНЫХ ЧРЕЗВЫЧАЙНЫХ СИТУАЦИЙ И ИХ РАЗВИТИЕ.
ОЦЕНКА РИСКА ГАЗОФРАКЦИОНИРУЮЩЕЙ УСТАНОВКИ
В данном разделе содержатся исходные данные о
предприятии, необходимые для анализа риска объекта, рассмотрены возможные
причины возникновения аварий на газофракционирующей установке Туймазинского
газоперерабатывающего завода, разрабатывается сценарий возникновения
чрезвычайной ситуации, по которому будут произведены расчеты в следующих
разделах дипломного проекта.
2.1
Характеристика Туймазинского газоперерабатывающего завода
Туймазинский
газоперерабатывающий завод (Туймазинское производство) – филиал открытого
акционерного общества «Акционерная нефтяная компания «Башнефть».
Туймазинский
газоперерабатывающий завод (ТГПЗ) предназначен для переработки попутного
нефтяного газа с месторождений Республик Башкортостан и Татарстан и поступающей
по трубопроводам и поступающей по трубопроводам широкой фракции легких
углеводородов (ШФЛУ) от Оренбургского газового комплекса и месторождений
Сибири.
Завод осуществляет прием
и переработку ШФЛУ, поступающей в железнодорожных цистернах от других
поставщиков.
Основными товарными
продуктами завода являются:
- газы углеводородные
(пропан-бутановые фракции) сжиженные топливные для коммунально-бытового
потребления;
- изобутановая фракция;
- фракция нормального
бутана;
- гексановая фракция;
- бензин газовый.
Опасный производственный
объект отнесен к декларируемым объектам по наличию воспламеняющихся газов 805,1
т и горючих жидкостей, находящихся в технологическом процессе 396,6 т [2].
ТГПЗ расположен в Туймазинском районе на удалении 7 км к
северо-западу г.Туймазы.
Площадь ТГПЗ 27 га, в т.ч. технологические установки –
11.4 га, товарно-сырьевой парк – 16.4 га.
Климат района – умеренно-континентальный. Рельеф
местности относительно ровный с редкими лесопосадками. Балки, овраги,
естественные и искусственные водоемы отсутствуют. Территория объекта
незатопляемая. Землетрясения, сели, лавины, карстовые явления на месте
расположения объекта не наблюдались. Территория объекта не является сейсмически
опасной [2].
ТГПЗ имеет ограждение по всему периметру. Круглосуточно
территория объекта охраняется вневедомственной военизированной охраной.
Температура
воздуха:
- среднемесячная самого
холодного месяца (январь) – минус 18,4 ˚С,
- среднемесячная самого
жаркого месяца (июль) – 25,6 ˚С,
- абсолютный минимум –
минус 50 ˚С,
- абсолютный максимум –
40 ˚С,
Среднегодовая температура
воздуха 2,8 ˚С,
Преобладающее направление
ветра в течении года юго-западное. Среднегодовая скорость ветра – 3,1 м/с [2].
2.2
Численность населения, которая может пострадать в результате воздействия
факторов ЧС
В соответствии с санитарными нормами СанПиН
2.2.1/2.1.1.1031-01 ТГПЗ относится к предприятиям 2 класса, нормативная
санитарно-защитная зона для которых установлена 500 м. Нормативная и
фактическая санитарно-защитная зона для ТГПЗ 500 м. В пределах
санитарно-защитной зоны жилые застройки отсутствуют.
Ближайшие объекты от Туймазинского газоперерабатывающего
завода расположены на расстоянии:
1.
Газонаполнительная
станция (ГНС) «Туймазы-Газ» - 200 м к северо-западу
2.
Туймазинский
участок Октябрьского филиала «СГ-Транс» - 250 м к северо-западу
3.
ЧП «Ахмитдинов» -
возле РСУ
4.
Специализированное
строительно-монтажное управление (ССМУ) – возле РСУ 200 м к западу
5.
Автозаправочная
станция – 300 м к востоку
6.
Туймазинский
завод технического углерода – 400 м к востоку
7.
Туймазинский
участок хранения химреагентов Октябрьской базы Башнефтеснаба – 800 м к
юго-востоку
8.
ЗАО «Торговый
дом» Туймазинское медстекло – 1100 м к востоку
9.
ДООО
«Железобетон» - 1200 м к северо-востоку
10.
ПЧ-147 – 200 м к
западу [2].
На Туймазинском газоперерабатывающем заводе общая
численность персонала составляет 228 человек, наибольшей рабочей смены – 130
человек, средняя численность – 114 человек, таблица 2.1.
Таблица 2.1 – Сведения об общей численности персонала и
численности наибольшей рабочей смены
| Составляющие декларируемого
объекта |
Численность, чел |
| Средняя смена |
Наибольшая смена |
| компрессорная станция |
9 |
17 |
| эстакада |
8 |
13 |
| лаборатория |
4 |
9 |
| заводоуправление |
36 |
36 |
| участок переработки газа |
17 |
28 |
| товарно-сырьевой парк |
6 |
8 |
| ремонтно-механическая мастерская |
11 |
32 |
| Контрольно-измерительные приборы
и аппараты |
6 |
16 |
| электроцех |
7 |
14 |
| лаборатория наладки и измерения |
2 |
5 |
| участок водоснабжения |
3 |
7 |
| котельная |
4 |
6 |
| экологическая лаборатория |
1 |
3 |
| транспортный участок |
9 |
19 |
| медицинский пункт |
1 |
1 |
| газоспасательный пункт |
5 |
10 |
Перечень крупных близлежащих организаций и населенных
пунктов, которые могут оказаться в зонах действия поражающих факторов аварии,
представлены в таблице 2.2 [2].
Таблица 2.2 - Перечень близлежащих организаций и
населенных пунктов, которые могут оказаться в зонах действия поражающих
факторов аварии
| Наименование организации |
Максимальная численность смены,
чел. |
| Газонаполнительная станция (ГНС)
«Туймазы-Газ» |
11 |
| Туймазинский участок Октябрьского
филиала «СГ-Транс» |
21 |
| ЧП «Ахмитдинов» |
15 |
| Специализированное
строительно-монтажное управление (ССМУ) |
6 |
| Туймазинский завод технического
углерода |
139 |
| Автозаправочная станция |
3 |
| Туймазинский участок хранения
химреагентов Октябрьской базы Башнефтеснаба |
4 |
| ЗАО «Торговый дом» Туймазинское
медстекло |
60 |
| ООО «Железобетон» |
197 |
| ПЧ-147 |
32 |
| г.Туймазы |
Более 60 тыс. |
2.3
Оценка риска аварий на газофракционирующей установке
Прогнозирование частоты
аварий проводится на основе статистический данных. В разделе 1 приведена
статистика ЧС на предприятиях нефтепереработки и причин их возникновения. Аварийные
ситуации, связанные со взрывами и пожарами на газоперерабатывающих заводах, как
правило, влекут за собой значительные потери среди людей, разрушения
технологического оборудования, а также значительный материальный ущерб. Крупные
аварии обычно характеризуются комбинацией случайных событий, которые возникают
с различной частотой и на разных стадиях развития аварии. Для выявления
причинно-следственных связей между ними используется метод логико-графического
анализа «дерево событий».
Следует
отметить, следующие общие специфические особенности СУГ [10]:
·
При температуре
окружающей среды содержимое резервуара, представляет собой двухфазную среду
(жидкость-пар) с давлением, превышающим атмосферное (иногда в 7-8 раз);
·
Разгерметизация
резервуара в любой её точке приводит к истечению жидкой или парообразной среды
с образованием в окружающем пространстве взрывоопасного паровоздушного облака;
·
При истечении
жидкой фазы определенная часть её (в некоторых случаях до 40 %) мгновенно
испаряется, остальная часть жидкости образует зеркало пролива, из которого
происходит интенсивное испарение продукта;
·
СУГ являются
горючими веществами, минимальные энергии зажигания смесей паров которых с
воздухом низки;
·
Сгорание
взрывоопасных паровоздушных облаков приводит к образованию ударных волн с тем
или иным разрушением окружающих объектов.
Сжиженный пропан относится к жидкостям, у которых критическая
температура выше, а точка кипения ниже окружающей среды. Основное отличие жидкостей
данной категории заключается в явлении «мгновенного испарения», которое
возникает тогда, когда в системе, включающей жидкость, находящуюся в равновесии
со своими парами, понижается давление. Через некоторое время устанавливается
новое состояние равновесия, причем температура кипения жидкости будет ниже.
Доля мгновенно испарившейся жидкости зависит от температуры окружающей среды.
Мгновенное испарение протекает интенсивно. Как только внешняя поверхность массы
жидкости освобождается от своего пара, и внешний слой распадается, происходит
освобождение нижнего слоя. При этом образующийся при расширении пара импульс
приводит к выносу пара в окружающую атмосферу, где он смешивается с воздухом,
образуя облако паровоздушной смеси. Размер парового облака, образующегося при
полном разрушении резервуара со сжиженным газом, будет зависеть от степени
заполнения сосуда жидкостью в момент разрыва. Чем меньше степень заполнения
резервуара, тем меньше возрастает первоначальный объем пара.
При пробое резервуара выше уровня жидкости, выброс пара при
давлении в резервуаре будет продолжаться до тех пор, пока вся жидкость не
испарится. Хотя при этом от окружающей среды подводится тепло, содержимое будет
охлаждаться до температуры, зависящей от размера отверстий.
При пробое резервуара ниже уровня жидкости в отверстии плоской
стенки, скорее всего можно ожидать появление однофазного потока жидкости. При
этом мгновенное испарение будет происходить с внешней стороны места утечки.
Образование парового облака может привести к трем типам
опасностей: крупному пожару, взрыву парового облака, токсическому воздействию [10].
Учитывая характер
поведения сжиженного пропана, построено блок-схема развития различных аварийных
ситуаций на газофракционирующей установке ТГПЗ (рисунок 2.1), на основании
блок-схемы, построено дерево событий (рисунок 2.2).
Рисунок 2.1 – Блок-схема развития аварийных ситуаций на газофракционирующей
установке

Рисунок
2.2 – Дерево событий возникновения аварий на газофракционирующей установке
Вероятность
возникновения инициирующего события – разрушение емкости с выбросом пропановой
фракции, принята равной 1.
Значение частоты возникновения отдельного события или сценария
пересчитывается путем умножения частоты возникновения инициирующего события на
условную вероятность развития аварии по конкретному сценарию.
1 - разрушение резервуара
с выбросом пропана;
2 – длительное истечение
продукта;
3 – мгновенная
разгерметизация;
4 – образование
парогазовоздушного облака;
5 – факельное горение;
6 – нет источника
воспламенения;
7 – есть источник
воспламенения;
8 – рассеяние облака;
9 –взрыв газовоздушной
смеси;
10 – рассеяние облака;
11 – взрыв газовоздушной
смеси;
12 – огненный шар;
13 – пожар пролива;
Значение частоты возникновения сценария аварийной ситуации
при разрушении резервуара содержащего пропановую фракцию, с образованием
огненного шара равно:
Ро.ш. = Р1· Р13 · Р37
· Р712 = 1·0,2·0,1·0,03= 6·10-4
Вероятность возникновения факельного горения:
Рфак = Р1·Р12·Р25
= 1·0,8·0,4= 0,32
Вероятность возникновения пожара пролива:
Рп.п. = Р1·Р13·Р37·Р713
=1·0,2·0,1·0,03= 6·10-4
Вероятность возникновения взрыва:
Рвзрыв = Р9+Р11= Р1·Р12·Р24·Р49+
Р1·Р13·Р37·Р711 =1·0,8·0,4·0,2+
+1·0,2·0,1·0,03= 6,4·10-2+6·10-4=6,46·10-2
Таким
образом, наиболее вероятным сценарием развития аварии является факельное
горение при длительном истечении продукта, но, учитывая статистику ЧС,
связанных с разрушением резервуаров, наибольшие разрушающие последствия имеют
залповые выбросы больших объемов продукта (мгновенная разгерметизация) с
последующим взрывом, поэтому будет рассматриваться именно этот сценарий.
2.4
Разработка сценариев развития чрезвычайной ситуации методом построения дерева отказов
Учитывая все свойства
обращающихся веществ и особенности технологического режима, рассматривая
причины возникновения аварийных ситуаций, было составлено дерево отказов
развития аварийных ситуаций, которое представлено на рисунке 2.3:
Прекращение
подачи электроэнергии приведет к резкому увеличению температуры теплоносителя в
змеевиках печи, переполнению емкостей орошения и подъему давления в колоннах и
емкостях.
Прекращение
подачи воздуха КИП и А приводит к отказу в работе регуляторов уровней, давлений
и температуры, отказ в работе КИП и А приведет к переполнению колонн и
емкостей, повышению давления и температуры в аппаратах.
Прекращение
подачи воды оборотного водоснабжения приведет к повышению давления в колоннах и
емкостях вследствие прекращения конденсации паров продуктов в
конденсаторах-холодильниках.
Выход из
строя насосов приведет к переполнению емкостей орошения и подъему давления в
аппаратах [2].
Аварийные ситуации на
рассматриваемом объекте возникают вследствие разрушения (полного или
частичного) колонн, емкостного оборудования, трубопроводов, поэтому именно эти
варианты аварий и выбираются в качестве типовых сценариев.
Рисунок 2.3 – «Дерево отказов»
развития аварии на газофракционирующей установке
2.5
Краткое описание рассматриваемой чрезвычайной ситуации
Анализ имеющихся данных,
природно-климатических сведений о районе расположения завода показал, что
наиболее опасным вариантом развития аварии будет полная разгерметизация емкости
орошения с пропаном объемом 16 м3 на открытой площадке.
Сжиженный
пропан в емкости орошения находится под давлением 1,6 МПа, при температуре
50ºС. Причиной разгерметизации емкости орошения послужили нарушение
технологического процесса (прекращение подачи воды оборотного водоснабжения
привело к прекращению конденсации паров продуктов в
конденсаторах-холодильниках, это привело к повышению давления в емкости
орошения), нарушение герметичности аппарата (коррозия сварного шва) и отказ
предохранительного клапана.
Произошел залповый выброс
сжиженного пропана, часть пропана мгновенно испарилась, образовав облако
паровоздушной смеси, жидкая фаза вылилась на подстилающую поверхность,
образовав зеркало пролива.
Источником воспламенения
послужила искра, созданная падающими конструкциями разрушенной емкости. При
воздействии источника воспламенения произошел взрыв облака паровоздушной смеси
и пожар пролива.
Авария произошла летом,
месяц - июль, в 15.30, смена находится на рабочих местах и воздействию опасных
факторов подвержено максимальное количество людей, скорость ветра – 1 м/с.
Вследствие воздействия поражающих факторов взрыва, здания на различном
расстоянии от центра взрыва будут подвержены полным, сильным, средним и слабым
разрушениям. Люди, находящиеся на открытых площадках, в зданиях и сооружениях
получат смертельные и травмирующие поражения. Расчет воздействия поражающих
факторов ЧС проводится в разделе 3 дипломного проекта «Пожаровзрывозащита».
3
ПОЖАРОВЗРЫВОЗАЩИТА ГАЗОФРАКЦИОНИРУЮЩЕЙ УСТАНОВКИ ТУЙМАЗИНСКОГО
ГАЗОПЕРЕРАБАТЫВАЮЩЕГО ЗАВОДА
В данном разделе рассчитываются показатели
пожаровзрывоопасности объекта, определяется категория газофракционирующей
установки по пожаровзрывоопасности, приводятся основные огнетушащие средства,
используемые при тушении сжиженных углеводородных газов, рассчитывается
молниезащита установки, оцениваются социальный и индивидуальный риски, разрабатываются
мероприятия по предупреждению пожаров и взрывов.
3.1
Анализ производства по пожаровзрывоопасности. Характеристика используемых в
производстве веществ и материалов по пожаровзрывоопасности
В нефтегазовом комплексе
используется и перерабатывается большое количество горючих и взрывоопасных
материалов. Для повышения безопасности технологических процессов необходима
правильная оценка взрыво- и пожароопасности этих процессов и выполнение ряда
мероприятий, направленных на более рациональное проектирование и безопасную
эксплуатацию.
Участок переработки газа
относится к взрывопожароопасным производствам категории «А». Производства,
относящиеся к данной категории, связаны с применением или получением горючих
газов, нижний предел воспламенения которых составляет 10 % и менее по отношению
к объему воздуха, жидкостей с температурой вспышки паров до 28 градусов при
условии, что указанные газы и пары могут образовывать взрывоопасные смеси.
Основными факторами,
определяющими опасность участка, являются:
а) наличие и применение в
больших количествах сжиженных и газообразных углеводородов.
б) применение открытого
огня в печах для нагрева теплоносителя и абсорбента.
в) ведение процесса при
сравнительно высоких давлениях (до 1,6 МПа) и высоких температурах (до
250º С).
г) применение тока
высокого напряжения для электродвигателей.
д) возможность
образования зарядов статического электричества при движении газов и жидкостей
по аппаратам и трубопроводам [3].
Пожаровзрывоопасность
газофракционирующей установки обусловлена физико-химическими свойствами
перерабатываемых веществ и получаемых продуктов. Сильная зависимость параметров
газа от температуры является основным источником опасностей в газовом хозяйстве
(Таблица 3.1).
Таблица 3.1 - Зависимость некоторых параметров углеводородов от
температуры
|
Т
°С
|
Пропан |
|
Рабс,
МПа
|
rж, кг/м3
|
rn, кг/м3
|
| -60 |
0,04 |
606 |
1,11 |
| -55 |
0.05 |
598 |
1.36 |
| -50 |
0,06 |
593 |
1,81 |
| -45 |
0,09 |
587 |
2.07 |
| -40 |
0,11 |
581 |
2.61 |
| -35 |
0.14 |
575 |
3.25 |
| -30 |
0.17 |
565 |
3,87 |
| -25 |
0.20 |
559 |
4.62 |
| -20 |
0.24 |
553 |
5,48 |
| -15 |
0.29 |
548 |
6.40 |
| -10 |
0,34 |
542 |
7.57 |
| -5 |
0,41 |
535 |
9.05 |
| 0 |
0.47 |
528 |
10,37 |
| 5 |
0,55 |
521 |
11,90 |
| 10 |
0.63 |
514 |
13.60 |
| 15 |
0.73 |
507 |
15,51 |
| 20 |
0.83 |
499 |
17.74 |
| 25 |
0.95 |
490 |
20.15 |
| 30 |
1.07 |
483 |
22.80 |
| 35 |
1.21 |
474 |
25,30 |
| 40 |
1.37 |
464 |
28.60 |
| 45 |
1.53 |
451 |
34,50 |
| 50 |
1,70 |
446 |
36,80 |
| 55 |
1.89 |
437 |
40.22 |
| 60 |
2,10 |
434 |
44,60 |
Сжиженные
углеводородные газы, находящиеся под сверхатмосферным давлением при температуре
выше или равной температуре окружающей среды в сосудах, резервуарах и другом
технологическом оборудовании, являются перегретыми жидкостями. Сжиженный пропан
относится к веществам с критической температурой выше, а точкой кипения ниже
чем в окружающей среде. Его особенностью является "мгновенное" (очень
быстрое) испарение части жидкости при разгерметизации и охлаждение оставшейся
доли до точки кипения при атмосферном давлении. Аварийное вскрытие емкостей с
негорючей или горючей перегретыми жидкостями сопровождается взрывом и опасным
действием осколков [13]. Основные физико-химические свойства пропана,
обуславливающие его пожаровзрывоопасность, приведены в таблице 3.2:
Таблица
3.2 - Характеристика пропана
| Параметры |
Пропан |
| Химическая формула |
С3Н8
|
| Молекулярная масса |
44 |
|
Плотность жидкой фазы при
температуре 0° С и давлении 101,3 кПа, кг/м3
|
528 |
|
Температура кипения при
атмосферном давлении, 0С
|
-42,17 |
|
Теплота сгорания в газообразном
состоянии, МДж/м3
|
85 |
|
Температура самовоспламенения, 0С
|
466 |
| Пределы воспламеняемости в смеси
с воздухом при нормальных атмосферных условиях, % объема: |
|
| Нижний |
2,4 |
| Верхний |
9,5 |
Анализ свойств
перерабатываемых веществ на производстве, причин аварий и неполадок на газофракционирующей
установке, а также на аналогичных объектах показал, что самым неблагоприятным
сценарием аварии является мгновенная разгерметизация резервуара или емкости,
выброс углеводородных смесей с формированием парогазового облака, с последующим
его загоранием и взрывом, а также образование пожара пролива.
3.2
Описание расчетного сценария аварии
Отключение подачи воды
оборотного цикла привело к прекращению конденсации паров продукта в
холодильниках, вследствие чего повысилось давление внутри емкости орошения с
пропаном, которая была подвергнута коррозионному износу, вследствие отказа
предохранительного клапана произошла разгерметизация емкости по сварному шву,
жидкая фаза продукта вылилась на подстилающую поверхность, мгновенно
испарившийся пропан образовал газовоздушную смесь. Произошел взрыв от искры
созданной падающими конструкциями разрушенного резервуара и пожар пролива.
Авария произошла летом,
месяц - июль, в 15.30, смена находится на рабочих местах и воздействию опасных
факторов подвержено максимальное количество людей, скорость ветра – 1 м/с,
температура воздуха - 20ºС. Происходит взрыв образовавшегося облака
взрывоопасной смеси и пожар пролива. Объем емкости Vе= 16 м3, степень заполнения емкости 80%, давление
в емкости p=1,6 МПа, температура в емкости
50ºС, плотность пропана при давлении 1,6 МПа и температуре 50ºС
ρе=450 кг/м3.Масса пропана, находящегося в емкости m=0,8· Vе· ρе= 0,8·16·450 = 5760 кг
Будем считать, что при
мгновенной разгерметизации емкости с пропаном, вся масса пропана выйдет в
окружающее пространство, при этом часть пропана мгновенно испарится, а другая
часть выльется на подстилающую поверхность.
По графику (рисунок 3.1)
определяем долю мгновенно испарившегося пропана:
a
0,6
0,5



0,4
03

0,2
0,1
-100 -50 0 50 100 t
вещества., 0С
a - доля мгновенно испарившейся
жидкости
Рисунок 3.1 - Доля мгновенно испарившейся
жидкости для пропана при мгновенной разгерметизации оборудования
При 50 ºС доля
мгновенно испарившегося пропана будет составлять 0,4 от общей массы пропана.
Так как происходит мгновенное воспламенение, именно эта часть будет участвовать
в образовании взрыва или огненного шара, остальная часть образует пожар
пролива.
Таким образом, во взрыве
примет участие 2304 кг пропана, а в пожаре пролива 3456 кг.
3.3
Расчет показателей пожаровзрывоопасности газофракционирующей установки
Методика расчета критериев пожарной опасности при сгорании
взрывоопасной пыли определена в ГОСТ Р 12.3.047-98 «Пожарная безопасность
технологических процессов. Общие требования. Методы контроля», а также НПБ
105-03 «Определение категорий помещений, зданий и наружных установок по
взрывопожарной и пожарной опасности».
3.3.1
Расчет параметров волны давления
Избыточное давление Dp, кПа, развиваемое при сгорании
газопаровоздушных смесей, рассчитывают по формуле:
, (3.1)
где р0 —
атмосферное давление, кПа (допускается принимать равным 101 кПа);
r - расстояние от геометрического центра
газопаровоздушного облака, м;
mпp - приведенная масса газа или пара, кг, рассчитанная
по формуле:
mпр = (Qсг / Q0)mг,п Z, (3.2)
где Qсг — удельная теплота сгорания газа или
пара, Дж/кг;
Z— коэффициент участия, который
допускается принимать равным 0,1;
Q0— константа, равная 4,52 · 106 Дж/кг;
mг,п — масса горючих газов и (или) паров,
поступивших в результате аварии в окружающее пространство, кг.
Импульс волны давления i, Па · с, рассчитывают по формуле
, (3.3)
Расчет:
Удельная теплота сгорания
пропана 4,6 · 107 Дж/кг [25].
Находим приведенную массу
mпр по формуле (3.3.2):
mпр = (Qсг / Q0)mг,п Z = (4,6 · 107/4,52 · 106) · 2304· 0,1 = 2344 кг.
Находим избыточное
давление Dp на расстоянии 30 м по формуле (3.1)
Dp = 101·[0,8 ·23440,33 / 30
+ 3 ·2344 0,66 / 302 + + 5·2344 /303] = 135
кПа.
Находим импульс волны
давления i по формуле (3.3):
i = 123 · (2344)0,66 / 30 =
687 Па · с.
Зависимость избыточного
давления на фронте ударной волны и импульса волны давления от расстояния до
центра взрыва представлена в таблице 3.3, и в соответствии с ГОСТ Р 12.3.047-98
выделяются следующие зоны разрушений:
Таблица 3.3 - Степень
разрушения зданий при воздействии избыточного давления
| Степень поражения |
Избыточное давление, кПа |
Расстояние до центра взрыва, м |
Импульс волны давления,
Па · с
|
Полное
разрушение зданий
|
100 |
35 |
597 |
| 50 %-ное разрушение зданий |
53 |
50 |
423 |
| Средние повреждения зданий |
28 |
71 |
290 |
| Умеренные повреждения зданий
(повреждение внутренних перегородок, рам, дверей и т.п.) |
12 |
130 |
156 |
| Нижний порог повреждения человека
волной давления |
4,6 |
250 |
82 |
| Малые повреждения (разбита часть
остекления) |
2,8 |
400 |
45 |
3.3.2
Расчет размеров зон, ограниченных нижним концентрационным пределом
распространения (НКПР) газов
При испарении пропана
образуется взрывоопасная зона. Для определения ее максимальных размеров
используется нижеприведенная методика.
Расстояния XНКПР, YНКПР
и ZНКПР, м, для горючих газов, ограничивающие область
концентраций, превышающих НКПР, рассчитывают по формулам:
, (3.4)
, (3.5)
где mг - масса поступившего в открытое пространство горючего
газа при аварийной ситуации, кг;
rг - плотность горючего газа при расчетной температуре и
атмосферном давлении, кг/м3;
СНКПР
— нижний концентрационный предел
распространения пламени горючего газа, % (об.) [25].
Расчет:
Для пропана СНКПР = 2,3 % об, масса
пропана mг=2304 кг.
= 14,6
= 116 м,
= 0,33
= 2,6 м.
ρг – плотность паров СУГ при расчетной
температуре и атмосферном давлении, кг/м3, которая рассчитывается по
формуле:
ρг = М/(V0·
(1+0,00367· tp)), (3.6)
где М – молярная масса, кг/моль, равна 44 кг/кмоль для
пропана;
V0 – мольный объем, равный 22,413 м3/кмоль;
tp
– расчетная температура, 0С, равная 20 0С;
ρn
= 44/(22,4· (1+0,00367·20)) = 1,83 кг/м3;
Радиус Rб, м, и высоту Zб, м, зоны, ограниченной НКПР газов и паров, вычисляют
исходя из значений HНКПР, YHKHP и ZНКПР.
При этом Rб > ХНКПР, Rб > YНКПР и Zб > h + Rб (h =2 м
– высота емкости, м).
Для горючих газов
геометрически зона, ограниченная НКПР газов, будет представлять цилиндр с
основанием радиусом Rб и высотой hб = 2Rб при Rб £ h и hб = h + Rб при Rб > h, внутри которого расположен
источник возможного выделения горючих газов.
Цилиндр, внутри которого
располагается источник возможного выделения горючих газов, будет иметь
следующие параметры: радиус Rб= 116 м, высота hб = 118 м. В пределах этой зоны создается взрывоопасная
среда.
3.3.3
Расчет интенсивности теплового излучения при образовании «огненного шара»
Облако пара или
топливовоздушной смеси, переобогащенное топливом, и не способное поэтому
объемно детонировать, начинает гореть вокруг своей внешней оболочки, образуя
огневой шар. Такие шары, вызванные горением углеводородов, светятся и излучают
тепло, что может причинить смертельные ожоги и вызвать возгорание горючих
веществ.
Расчет интенсивности
теплового излучения «огненного шара» q, кВт/м2, проводят по формуле:
q = Ef · Fq · t, (3.7)
где Ef — среднеповерхностная плотность теплового излучения
пламени, кВт/м2;
Fq — угловой коэффициент облученности;
t - коэффициент пропускания атмосферы.
Ef определяют на основе имеющихся
экспериментальных данных. Допускается принимать Ef равным 450 кВт/м2 [25].
Fq рассчитывают по формуле:
, (3.8)
где Н— высота
центра «огненного шара», м;
Ds — эффективный диаметр «огненного шара», м;
r — расстояние от облучаемого объекта до точки на
поверхности земли непосредственно под центром «огненного шара», м.
Эффективный диаметр
«огненного шара» Ds
рассчитывают по формуле:
Ds =5,33 m 0,327, (3.9)
где т — масса
горючего вещества, кг.
H определяют в ходе специальных
исследований. Допускается принимать H равной Ds/2.
Время существования
«огненного шара» ts, с,
рассчитывают по формуле:
ts = 0,92 m 0,303 , (3.10)
Коэффициент пропускания
атмосферы t рассчитывают
по формуле:
t = ехр [-7,0 · 10-4 (
- Ds / 2)] , (3.11)
Доза теплового излучения
воздействующего на людей определяется по формуле:
Q = q · ts.
, (3.12)
Данные для расчета:
Расстояние от облучаемого
объекта до точки на поверхности земли непосредственно под центром «огненного
шара» 50 м.
Расчет:
По формуле (3.9)
определяем эффективный диаметр «огневого шара» Ds
Ds = 5,33 · (2304)0,327 = 66 м.
По формуле (3.8),
принимая H = Ds /2 = 33 м, находим угловой
коэффициент облученности Fq
Fq =
= 0,126.
По формуле (3.11) находим
коэффициент пропускания атмосферы t:
t = ехр [-7,0 · 10-4 (
– 66 / 2 )] = 0,98.
По формуле (3.7),
принимая Ef = 450 кВт/м2, находим интенсивность
теплового излучения q
q = 450 · 0,126 · 0,98 = 55 кВт/м2.
По формуле (3.10)
определяем время существования «огненного шара» ts:
ts = 0,92 · 23040,303 = 9,6 с.
По формуле (3.12),
определяем дозу теплового излучения воздействующего на людей от «огненного
шара»:
Q = q · ts = 55 · 9,6 = 5,2 · 105 Дж/м2.
Зависимость величины
теплового излучения огневого шара от расстояния до его центра представлена в
таблице 3.4.
Таблица 3.4 - Зависимость величины теплового потока от
расстояния до его центра
| Расстояние до центра огневого
шара, м |
Тепловой поток, q,
кВт/м2
|
Доза теплового излучения, Дж/м2
|
| 50 |
55 |
5,2 ×105
|
| 60 |
44 |
4,2 ×105
|
| 70 |
39 |
3,8×105
|
| 80 |
27 |
2,6×105
|
| 90 |
22 |
2,1×105
|
| 100 |
17 |
1,6×105
|
За время существования
огневого шара (9,6 сек.) люди получат ожоги различной степени тяжести (см.
приложение А, табл. 3).
3.3.4
Расчет интенсивности теплового излучения при пожаре пролива
Интенсивность теплового
излучения q, кВт/м2, рассчитывают по формуле:
q = Ef · Fq · t, (3.13)
где Ef — среднеповерхностная плотность теплового излучения,
кВт/м2;
Fq — угловой коэффициент облученности;
t — коэффициент пропускания атмосферы.
Ef принимают на основе имеющихся
экспериментальных данных. При отсутствии данных допускается Ef принимать равной 100 кВт/м2
для СУГ [24].
Рассчитывают эффективный
диаметр пролива d, м, по формуле
, (3.14)
где S — площадь пролива, м2.
Рассчитывают высоту
пламени Н, м, по формуле
, (3.15)
где т — удельная
массовая скорость выгорания топлива, кг/(м · с);
rв — плотность окружающего воздуха, кг/м3;
g— ускорение свободного падения, равное 9,81 м/с2.
Определяют угловой
коэффициент облученности Fq по формуле:
, (3.16)
где
(3.17),
где А = (h2 +
+ 1) / 2S1, (3.17)
Sl= 2r/d, (3.18)
где r— расстояние от геометрического центра пролива до
облучаемого объекта
, (3.19)
(3.20)
B = ( 1+S12 ) / ( 2S1 ), (3.21)
Определяют коэффициент
пропускания атмосферы t по
формуле:
t = exp[ -7,0 · 10 -4
( r - 0,5 d)], (3.22)
Расчет: происходит
испарение с поверхности разлившейся жидкости; площадь испарения при разливе на
горизонтальную поверхность определяется (при отсутствии справочных данных),
исходя из расчета, что 1 л жидкостей, разливается на площади 0,1 м2
поверхности.
Определим площадь
пролива:
При мгновенной
разгерметизации емкости, в пожаре пролива участвует 3456 кг вещества, по
таблице 3.1 плотность жидкой фазы пропана при температуре окружающего воздуха
20ºС равна 499 кг/м3. Объем жидкого пропана, участвующего в
пожаре пролива равен
V = m/ρ = 3456/499 = 6,92 м 3= 6920 л
S = 6920·0,1 = 692 м2.
Определяем эффективный
диаметр пролива d по формуле (3.14):
d =
=
=
28 м.
Находим высоту пламени по
формуле (3.15), принимая
т = 0,1 кг / (м2 · с), g =
9,81 м/с2 и rв = 1,2 кг/м3:
=57 м.
Находим угловой
коэффициент облученности Fq по формулам (3.16) – (3.21), принимая r = 50 м:
,
= 7,14,
4,84,
= 3,64.
=0,04,
=0,11,
Fg=
= 0,11.
Определяем коэффициент
пропускания атмосферы по формуле (3.22):
t = exp [ - 7,0 · 10 -4 (50 - 0,5 ·14)] = 0,97.
Находим интенсивность
теплового излучения q
по формуле (3.13), принимая Еf= 100 кВт/м2
q = 100 · 0,11 · 0,97 = 10,6 кВт/м2.
В соответствии с ГОСТ Р
12.3.047-98 разделяются различные степени поражения людей и материалов в
зависимости от интенсивности теплового излучения от пожара. На расстоянии 50 м
от геометрического центра разлива при воздействии теплового потока 10,6 кВт/м2
люди получат ожоги 1 и 2 степени тяжести.
3.4
Оценка индивидуального и социального риска
Индивидуальный риск - вероятность (частота) возникновения опасных факторов
пожара и взрыва, возникающая при аварии в определенной точке пространства.
Характеризует распределение риска.
Социальный риск - зависимость
вероятности (частоты) возникновения событий, состоящих в поражении
определенного числа людей, подвергшихся поражающим воздействиям пожара и
взрыва, от числа этих людей. Характеризует масштаб пожаровзрывоопасности.
Социальный риск оценивается по поражению не менее десяти человек.
3.4.1 Оценка индивидуального риска
Вероятность реализации
различных сценариев аварии рассчитывают по формуле:
Q (Ai) = Qав Q (Ai)ст, (3.23)
где Q (Ai)ст — статистическая
вероятность развития аварии по i-й ветви логической схемы.
Для СУГ, Q (Ai)ст определяют по таблице
3.5.
Таблица 3.5 - Статистические вероятности
различных сценариев развития аварии с выбросом СУГ
| Сценарий аварии |
Вероятность |
| Огненный шар |
0,7039 |
| Горение пролива |
0,0287 |
| Сгорание с развитием избыточного
давления |
0,0119 |
Условная вероятность
поражения человека избыточным
давлением, развиваемым при сгорании газопаровоздушных смесей, на расстоянии r от эпицентра рассчитывают следующим
образом:
- вычисляются избыточное
давление Dp и импульс i;
- исходя из значений Dp и i, вычисляют значение «пробит» — функции Рr по формуле
Pr = 5 - 0,26 ln (V), (3.24)
, (3.25)
где Dp — избыточное давление, Па; i — импульс волны давления. Па·с.
V = (17500/ 53000)8,4 +
(290/ 423)9,3 = 0,029,
PrС.Д.= 5 – 0,26 ln 0,029 = 5,92.
В зависимости от
«пробит»-функции определяется условная вероятность поражения избыточным
давлением (см. приложение А, табл. 4):
QпС.Д. = 82
Условная вероятность
поражения человека тепловым излучением определяется следующим образом:
Pr ПП.=-14,9+2,56ln(t·q1,33), (3.26)
где t –эффективное время экспозиции, с;
q – интенсивность теплового излучения, кВт/м2.
Эффективное время
экспозиции для пожаров проливов ГЖ и СУГ определяется по формуле:
t = tо + x/v, (3.27)
где tо – характерное
время обнаружения пожара, с (допускается принимать t=5 с);
х – расстояние от места
расположения человека до зоны (интенсивность теплового излучения не превышает 4
кВт/м2), м;
v – скорость
движения человека, м/с (допускается принимать v = 5/с);
x = r – d/2, (3.28)
где r – расстояние от центра пролива, м;
d – диаметр пролития, м,
x = 50 – 31/ 2 = 34,5 м,
t = 5 + 34,5 / 5 = 11,9 с,
PrП=-14,9 + 2,56 ln(t × q1,33),
PrП=-14,9 + 2,56 ln(11,9 × 10,61,33) = 0,52.
С помощью приложения А,
табл. 4 определяют условную вероятность
поражения человека тепловым
излучением:
QпП = 0.
По формуле (3.26) определяем
«пробит»-функцию для «огненного шара»:
PrО.Ш.=-14,9 + 2,56 ln(9,6 × 551,33) = 4,53.
В зависимости от
«пробит»-функции определяется условная вероятность поражения тепловым
излучением от воздействия «огненного шара» (см. приложение А, табл. 4) равна:
QпО.Ш. = 32.
Индивидуальный риск R, год-1, определяют по формуле
, (3.29)
где
— условная вероятность поражения
человека при реализации i-й
ветви логической схемы;
Q(A,) — вероятность реализации в течение
года i -й ветви логической схемы, год-1; п — число
ветвей логической схемы (рисунок 3.2).

Рисунок 3.2 —
Логическая схема развития аварии, связанной с выбросом горючих веществ на
наружных установках
Символы А1
- А6 обозначают:
А1 — мгновенный выброс продукта с последующим
взрывом;
А2 — мгновенный выброс продукта с образованием “огненного
шара”;
A3
— мгновенный выброс продукта с образованием пожара пролива;
A4 — медленное истечение продукта с последующим взрывом;
A5
—медленное истечение продукта с последующим образованием “огненного шара”;
A6— медленное истечение продукта с последующим
образованием пожара пролива.
Выполним оценку вероятности развития аварии в
соответствии с табл. 3.4.1 и формуле (3.4.1.1). Вероятность мгновенной
разгерметизации емкости принимается 4·10-7 год -1.[3]
Вероятность сгорания
паровоздушной смеси в открытом пространстве с образованием волны избыточного
давления (А1):
Qс.д = 4·10-7 · 0,0119
= 4,7 · 10-9 год -1.
Вероятность образования
«огненного шара» (А2) :
Qо.ш = 4 · 10-7 ·
0,7039 = 2,8 · 10-7 год -1.
Вероятность воспламенения
пролива (А3)
Qп.п = 4 · 10-7 · 0,0287 = 1,1
· 10-8 год -1.
Вероятности развития
аварии в остальных случаях принимают равными 0.
RВ = 1,1 · 10-8 · 0 + 2,8 · 10-7 · 32 + 4,7 · 10-9
· 82 = 8,77 · 10-6
Величина индивидуального
риска при аварии на газофракционирующей установке превышает значение 10-6 по
ГОСТ Р 12.3.047-98, необходимо внедрение технических решений, обеспечивающих
снижение величины риска.
3.4.2
Оценка социального риска
Оценку пожарной опасности
при аварии на газофракционирующей установке осуществляется с помощью критерия
социального риска. Расчет социального риска производится при возникновении таких
поражающих факторов, как избыточное давление, развиваемое при сгорании
газопаровоздушной смеси, интенсивности теплового излучения пожара пролива и
«огневого шара».
1. Производится
разделение территории на зоны поражения. Целесообразно провести разделение на
три зоны — А, Б, В, а именно:
-
зона А -
территория занимаемая блоком состоящим из газофракционирующей установки 30 м
(количество обслуживающего персонала 4 чел.);
-
зона Б - территория,
занимаемая газоперерабатывающим заводом , кроме товарно-сырьевого парка 200 м
(количество человек, постоянно пребывающих в зоне Б, 57 чел);
-
зона В -
территория товарно-сырьевого парка, коллективных садов, Туймазинского завода
технического углерода, автозаправочной станции 500 м (количество человек,
постоянно пребывающих в зоне Б, 319 чел).
2. С помощью методов,
приведенных ранее в данном разделе, рассчитываются значения поражающих факторов
для заданных расстояний от места инициирования аварии (табл. 3.6).
Таблица 3.6 - Значения параметров
поражающих факторов аварии для заданных расстояний от места инициирования
аварии
| Зона |
Расстояние
от места инициирования аварии
r, м
|
Поражающие факторы
|
| Тепловое излучение пожара пролива |
Тепловое излучение «огненного шара» |
Избыточное давление |
|
q, кВт/м2
|
q, кВт/м2
|
tS,
с
|
Dp, кПа |
i, Па ×с |
А
|
50 |
10,6 |
55,0 |
9,6 |
53 |
423 |
| Б |
100
150
200
|
6,8
4,3
2,9
|
17,0
6,5
3,0
|
9,6
9,6
9,6
|
16,6
9,2
5,9
|
206
137
103
|
| В |
250
300
350
400
450
500
|
1,8
0,7
0,1
0
0
0
|
1,5
0,73
0,22
0,12
0,06
0
|
9,6
9,6
9,6
9,6
9,6
9,6
|
4,6
3,8
3,1
2,8
2,4
2,0
|
82
69
58
51
45
41
|
Согласно расчетам, вероятности сгорания паровоздушной
смеси с образованием волны давления, образования «огненного шара» и
воспламенения пролива соответственно составляют Qс.д = 4,7 · 10-9 год-1; Qо.ш = 2,8 · 10-7 год-1; Qв.п = 1,1 · 10-8 год-l. Вероятности
развития аварии в остальных случаях принимают равными 0.
3. Ожидаемое число Ni
погибших людей при реализации i-й ветви логической схемы (рисунок 3.2)
определяется по формуле:
(3.30)
где k – число
рассматриваемых зон поражения, выбираемое исходя из того, что вне k-й зоны все
значения QПi,k1 · 10-2 год -1, а в k-й
зоне хотя бы одно из значений QПi,k > 1 · 10-2 год -1.
4. Учитывая данные таблицы
3.6 определяются средние по зонам условные вероятности поражения человека (Qп) и ожидаемое число погибших людей (Ni) при реализации соответствующих
вариантов логической схемы (таблица 3.7)
Таблица 3.7 -
Результаты вычислений, необходимые для определения социального риска
| Зона |
Расстояние от установки, м |
Число человек в зоне |
Условные вероятности поражения
человека (средние по зонам), Qп
|
Ожидаемое число погибших человек,
Nп
|
| 1 |
2 |
3 |
4 |
5 |
| Воздействие теплового излучения
пожара пролива |
А
Б
В
|
50
100
150
200
250
300
350
400
450
500
|
4
11
19
27
35
44
51
59
66
74
|
0
0
0
0
0
0
0
0
0
0
|
0
0
0
0
0
0
0
0
0
0
|
| Воздействие теплового излучения
«огненного шара» |
А
Б
В
|
50
100
150
200
250
300
350
400
450
500
|
4
11
19
27
35
44
51
59
66
74
|
0,32
0
0
0
0
0
0
0
0
0
|
2
0
0
0
0
0
0
0
0
0
|
| Воздействие избыточного давления |
| 1 |
2 |
3 |
4 |
5 |
А
Б
В
|
50
100
150
200
250
300
350
400
450
500
|
4
11
19
27
35
44
51
59
66
74
|
0,82
0,39
0,03
0
0
0
0
0
0
0
|
4
5
1
0
0
0
0
0
0
0
|
5. Социальный риск
рассчитывается по формуле:
, (3.31)
где l — число ветвей логической схемы, для
которых Ni ³ N0 (N0 — ожидаемое число погибших людей, для которого
оценивается социальный риск. Допускается принимать N0 =
10).
S = 4,7 · 10-9.
Социальный риск не
превышает нормативное значение 10-7, пожарная безопасность
выполнена, но требуется принятие всех возможных мер по снижению риска
возникновения взрыва.
3.5
Разработка мероприятий по предупреждению пожаров и взрывовна
газофракционирующей установке
Взрывобезопасность -
состояние производственного процесса, предприятия или его отдельных участков,
при котором исключена возможность взрыва, предотвращения воздействия на людей
опасных и вредных факторов в случае его возникновения, которое обеспечивает
сохранение материальных ценностей - зданий, сооружений, производственного
оборудования, сырья и готовой продукции.
Для обеспечения защиты
людей и материальных ценностей при возникновении взрыва должны быть
предусмотрены меры, предотвращающие воздействие следующих опасных факторов
взрыва:
-
пламени и
высокотемпературных продуктов горения;
-
давления взрыва;
-
высокоскоростных
газовоздушных потоков;
-
ударных волн;
-
обрушившихся
конструкций зданий и сооружений и разлетающихся элементов строительных
конструкций, производственного оборудования и коммуникаций.
3.5.1
Молниезащита
От прямых ударов молнии могут происходить механические
разрушения объектов, через которые происходит грозовой разряд. Ток молнии
выделяет очень большое количество тепла, что может служить причиной
возникновения пожара, если вблизи канала молнии находятся легковоспламеняющиеся
предметы. Помимо возгорания тепловое воздействие молнии может вызывать взрывы.
Молниезащита включает комплекс мероприятий и устройств,
предназначенных для обеспечения безопасности людей, предохранения зданий,
сооружений, оборудования и материалов от взрывов, возгораний и разрушений,
возможных при воздействии молнии [23].
В соответствии с назначением зданий и сооружений
необходимость выполнения молниезащиты, ее категория, а при использовании
стержневых и тросовых молниеотводов – тип зоны защиты определяются по таблице
3.8.1 в зависимости от ожидаемого количества поражений здания или сооружения
молнией в год.
Ожидаемое количество поражений молнией в год зданий и
сооружений определяется по формуле:
N = 9π hзд2 n∙10-6,
(3.32)
где hзд – наибольшая высота здания или
сооружения (резервуара), м принимается 21,4 м высоту самой высокой колонны на
установке;
n – среднегодовое число ударов молнии в 1 км2
земной поверхности в месте расположения сооружения, для Республики Башкортостан
n = 4.
N = 9·3,14·21,42·4·10-6 =0,0518.
Полученное значение
показывает, что поражение молнией резервуара происходит один раз в 20 лет.
Согласно таблице 3.8 газофракционирующая установка относится ко II категории молниезащиты
Таблица 3.8 - Тип зоны защиты при использовании
стержневых и тросовых молниеотводов при ожидаемом количестве поражений молнией
в год здания или сооружения
|
Здания
и сооружения
(класс)
|
Местоположение |
Тип
зоны защиты
при
использовании
стерж.
и тросовых
молниеотводов
|
Кате-
гория
молние-
защиты
|
| 1 |
2 |
3 |
4 |
|
Здания
и сооружения или их части, которые согласно Правилам устройства
электроустановок (ПУЭ) относятся к зонам
классов
В-I и В-II
|
На всей
территории России |
Зона А |
I |
|
Здания
и сооружения или их части, которые согласно ПУЭ относятся к зонам классов В-Iа,
В-Iб, В-IIа
|
В
местностях со средней продол- жительностью гроз 10 ч/год |
При
ожидаемом кол-ве пораж. мол-
нией в
год при N>1 –зона А, N≤1 – В
|
II |
| Наружные
установки, создаю-щие согласно ПУЭ зону класса В-Iг |
На всей
территории России |
Зона Б |
II |
| Здания
и сооружения или их части, которые согласно ПУЭ относятся к зонам классов П-I, П-II, П-IIа |
В
местн. со средн.
продолжительн.
гроз 20 ч/год и более
|
Для зд.
и сооруж. I и II ст. огнестойкос.
при
0,1<N≤2 и для III, IV, V ст. огнест. при
0,02<N≤2 зона Б; при N>2 – А
|
III |
| Наружные
установки и откры-тые склады, создающие согласно ПУЭ зону класса П-III |
>> |
При
0,1<N≤2 – зона Б, при N>2 – А |
III |
| Здания
и сооружения III, IV, V степени
огнестойкости (в том числе здания из легких металлоконструкций с покрытием,
имеющим сгораемый утеплитель), в которых отсутствуют помещения, относимые по
ПУЭ к зонам взрыво- и пожароопасных классов |
>> |
При
0,1<N≤2-зона Б; при N>2 – А |
III |
| Здания
вычислительных центров |
>> |
Зона Б |
II |
Молниезащита зданий и
сооружений II категории от прямых ударов молнии
должна выполняться отдельно стоящими или установленными на защищаемом объекте
стержневыми или тросовыми молниеотводами. При установке отдельно стоящих
молниеотводов расстояние от них по воздуху и земле до защищаемого объекта и
вводимых в него подземных коммуникаций не нормируется.
Газофракционирующая установка относится ко II категории молниезащиты. В зону
защиты входит пространство, ограниченное цилиндром высотой Н = 21,4 м и
радиусом R = 15 м. При этом молниезащита от прямых ударов молний выполняется
отдельно стоящими стержневыми молниетоводами. Тип зоны защиты при использовании
стержневых молниеотводов – зона Б.
Наружные
установки, содержащие горючие и сжиженные газы, должны быть защищены следующим
образом:
- корпуса
установок из железобетона, металлические корпуса установок и отдельных
резервуаров при толщине металла крыши менее 4 мм должны быть оборудованы
молниеотводами, установленными на защищаемом объекте или отдельно стоящими;
- металлические
корпуса установок и отдельных резервуаров при толщине крыши 4 мм и более, а
также отдельные резервуары объемом менее 200 м3 независимо от
толщины металла крыши, а также металлические кожухи теплоизолированных
установок достаточно присоединить к заземлителю.
Проанализировав формы зон защиты одиночного тросового
молниеотвода, а также различные комбинации с указанным молниеотводом
(многократный стержневой, двойной стержневой и два стержневых разной высоты молниеотводы),
а также приняв во внимание геометрические параметры объекта, для которого
необходимо рассчитать молниезащиту можно сказать, что для рассматриваемого
объекта наиболее подходит отдельно стоящий одиночный тросовый молниеотвод,
поскольку горизонтальное сечение последнего есть прямоугольник, закруглённый с
коротких сторон. В состав молниеотвода входят: 2 опоры, молниеприёмник в виде
троса, непосредственно воспринимающий удар молнии (трос соединяет вершины
указанных опор), токоотводы, по которым ток, возникающий при ударе молнии,
передаётся на землю, и наконец, заземлители, обеспечивающие растекание тока в
земле.
Тросовые
молниеприемники изготовляют из стального многопроволочного оцинкованного троса
сечением не менее 35 мм2.
Опоры
тросовых молниеотводов выполняются с учётом натяжения троса и действия ветровой
нагрузки на трос [25].
Зона защиты одиночного
тросового молниеотвода приведена на рисунке 3.3. Она представляет собой
двускатную плоскость с приставленными полуконусами на концах. Горизонтальное
сечение зоны защиты на высоте защищаемого сооружения hх, представляет собой прямоугольник с приставленными к малым
сторонам полукругами радиусом rх. С учетом стрелы провеса троса
сечением 35-50 мм2 при известной высоте опор hоп и длине пролета а высота
троса определяется:
h =hоп – 2, при а < 120 м, (3.33)
h=hоп – 3 при 120 < а < 150, (3.34)
Зона защиты одиночного
тросового молниеотвода имеет следующие габаритные размеры.
Высота зоны защиты:
h0=0,92 · h, м (3.35)
Радиус зоны защиты на
уровне земли:
r0=1,7 · h, м (3.36)

1 – граница зоны
защиты на уровне высоты здания;
2 – граница зоны
защиты на уровне земли;
3 – защищаемый объект
– газофракционирующая установка;
4 – опоры
молниеотвода.
Рисунок 3.3 - Общий вид молниезащиты газофракционирующей
установки.
Для зоны Б высота
одиночного тросового молниеотвода при известных значениях высоты здания и
половин ширины определяют по формуле:
h=(rх+1,85·hх)/1,7, м (3.37)
Высота тросового
молниеотвода h=(15+1,85·21,4)/1,7=32 м.
Так как для II категории молниезащиты при установке
отдельно стоящих молниеотводов расстояние от них по воздуху и в земле до
защищаемого объекта и вводимых в него подземных коммуникаций не нормируется, то
опоры расположим у торцов установки. Тогда длина пролета троса а=150+2·0=150
м.
Высота опор составляет hоп =32-3=29 м.
Высота зоны защиты hо=0,92 · 32 = 29,4 м.
Радиус зоны защиты на
уровне земли r0=1,7 · 12,8 = 54,4 м.
Для
устойчивого положения опор их основания закреплены четырьмя железобетонными
сваями (каждая), которые и выполняют роль заземлителей. что железобетонные сваи
должны быть заглублены не менее, чем на 5 метров, а их диаметр находится в
диапазоне 0,25÷0,4 метра.
Значит,
параметры конструкции стержневого молниеотвода, обеспечивающего молниезащиту
газофракционирующей установки:
-
высота торосового
молниеотвода – 32 м;
-
высота опоры – 29
м;
-
Длина пролета
троса 150 м;
-
высота зоны
защиты – 29,4 м;
-
радиус зоны
защиты – 54,4 м.
3.5.2
Разработка автоматической системы пожаротушения
Системы пожаротушения
предназначены для предотвращения, ограничения развития, тушения пожара, а также
защиты от пожара людей и материальных ценностей. Одним из самых надежных
средств для решения этих задач являются системы автоматического пожаротушения,
которые в отличие от систем ручного пожаротушения и систем, управляемых
оператором, приводятся в действие пожарной автоматикой по объективным
показаниям и обеспечивают оперативное тушение очага возгорания без участия
человека.
Установка пожаротушения
или противопожарная установка - это совокупность стационарных технических
средств для тушения пожара за счет выпуска огнетушащего вещества. Конструктивно
автоматические установки пожаротушения состоят из резервуаров или других
источников, наполненных необходимым количеством огнетушащего состава, устройств
управления и контроля, системы трубопроводов и насадков-распылителей.
Количество распылителей, длины и сечение трубопроводов, требуемое количество
огнетушащего вещества определяются тщательными расчётами.
Подразделяются системы
автоматического пожаротушения, прежде всего, по используемому огнетушащему
веществу:
газовое пожаротушение
(СО2, аргон, азот, хладоны);
водяное пожаротушение
(вода);
пенное пожаротушение и
водопенное пожаротушение (вода с пенообразователями);
порошковое пожаротушение
(порошки специального химического состава);
аэрозольные системы
пожаротушения (подобны порошкам, но частицы на порядок меньше по размерам);
системы тонкодисперсной
воды (тонкораспыленной воды) [24].
3.5.2.1
Огнетушащие средства, используемые при тушении сжиженных углеводородных газов
Для подавления процесса горения можно снижать содержание
горючего компонента, окислителя (кислорода воздуха), снижать температуру
процесса или увеличивать энергию активации реакции горения. В соответствии с
этим в настоящее время при тушении пожаров используют один из следующих
основных способов:
- изоляцию очага горения от воздуха или снижение путем
разбавления воздуха негорючими газами, концентрации кислорода в воздухе до
значения, при котором не может происходить процесс горения;
- охлаждение очага горения ниже определенных температур
(температур самовоспламенения, воспламенения и вспышки горючих веществ и
материалов);
- интенсивное ингибирование (торможение) скорости химической
реакции окисления;
- механический срыв пламени в результате воздействия на него
сильной струи газа или жидкости;
- созданием условий огнепреграждения.
Для тушения горящих СУГ
используется наиболее распространенный способ, которым является охлаждение зоны
горения. Сущность его заключается в охлаждения горящих веществ до температуры
ниже температуры их воспламенения. При небольшом очаге пожара можно применить
способ изоляции реагирующих веществ, за счет разобщения зоны горения от воздуха
слоем какого-либо воздухонепроницаемого материала. Для этого применяются
твердые листовые изолирующие материалы (войлок, асбестовая и обычная ткань) или
сыпучие негорючие материалы (песок, тальк, различные флюсы).
Для тушения СУГ
применяются следующие огнетушащие составы и средства [19]:
- газовые составы:
инертные разбавители (N2, СО2);
- галогеноуглеводороды,
порошки;
- вода аэрозольного
распыла с добавками и без;
- вода как средство
охлаждения;
- газо-аэрозольные
составы.
Инертные разбавители применяются для объемного тушения. Они оказывают
разбавляющее действие, уменьшая концентрацию кислорода ниже нижнего
концентрационного предела горения. К наиболее широко используемым инертным
разбавителям относятся азот, углекислый газ и различные галогеноуглеводороды.
Эти средства используются, если более доступные огнетушащие вещества, такие как
вода, пена оказываются малоэффективными.
В последнее время для тушения пожаров все более широко
применяют огнетушащие порошки. Они могут применяться для тушения пожаров
твердых веществ, различных горючих жидкостей, газов, металлов, а также
установок, находящихся под напряжением. Следует отметить, что порошковыми
составами можно ликвидировать горение сравнительно небольших объемов и
площадей, поэтому они используются для зарядки ручных и переносных
огнетушителей. Порошки рекомендуется применять в начальной стадии пожаров.
Наиболее простым, дешевым и доступным средством пожаротушения
является вода, которая подается в зону горения в виде компактных
сплошных струй или в распыленном виде. Вода, обладая высокой теплоемкостью и
теплотой испарения, оказывает на очаг горения сильное охлаждающее действие.
Кроме того, в процессе испарения воды образуется большое количество пара,
который будет оказывать изолирующее действие на очаг пожара. К недостаткам воды
следует отнести плохую смачиваемость и проникающую способность по отношению к
ряду материалов. Для улучшения тушащих свойств воды к ней можно добавлять
поверхностно- активные вещества. Воду нельзя применять для тушения ряда
металлов, их гидридов, карбидов, а также электрических установок.
Пены являются широко распространенным, эффективным и удобным средством тушения
пожаров. Существуют различные классификации пен, например по устойчивости,
кратности, основе пенообразователя и т. п. По способу образования пены можно
подразделять на химическую, газовая фаза которой получается в результате
химической реакции; и газомеханическую (воздушно-механическую), газовая фаза
которой образуется за счет принудительной подачи воздуха или иного газа.
Химическая пена, образующаяся при взаимодействии растворов кислот и щелочей в
присутствии пенообразователей, используется в настоящее время только в
отдельных видах огнетушителей [20].
3.5.2.2
Автоматические стационарные установки пожаротушения
Автоматические стационарные установки пожаротушения в
зависимости от используемых огнетушащих веществ подразделяют на водяные,
пенные, газовые и порошковые.
Для тушения пожаров сжиженных
газов целесообразней использовать автоматические установки водяного и пенного
пожаротушения [20,21]
Принципиальная схема
комбинированной установки для тушения пожаров в резервуарах представлена на
рисунке 3.4.
В случае если система
пожарной защиты полностью автоматизирована, ее пуск осуществляется от пожарных
датчиков. Полуавтоматические установки пожаротушения могут включаться вручную.
Для включения системы или установки должны применяться задвижки, управляемые
дистанционно.
В качестве пожарных
датчиков используются приборы обнаружения оптического излучения пламени, так
как они являются наиболее чувствительными и быстродействующими [23].
3.5.2.3
Расчет расхода раствора пенообразователя
Расчет расхода раствора пенообразователя на тушение
пожара определяется исходя из интенсивности подачи раствора пенообразователя на
1 м2 расчетной площади тушения и времени тушения.
Расчетную площадь тушения принимают равной площади
горизонтального сечения резервуара.
S = πD2/4, (3.38)
где D – диаметр резервуара,м.
Диаметр резервуара D=2 м. Расчетная площадь тушения равна
3,14 м2.
Расход раствора пенообразователя Woв на тушение пожара определяется по формуле:
Woв = Io
S τКз, (3.39)
где Io—
оптимальный удельный расход (интенсивность подачи) раствора пенообразователя,
для сжиженного пропана - 0,08 л/(м2∙с);
S —расчетная площадь пожара, м2;
τ—расчетная продолжительность работы средств АПЗ,
с;
Кз—коэффициент запаса (принимается 1,2).
Расчетное время тушения пожара для систем
автоматического пенного пожаротушения - 10 мин [23].
Расход раствора
пенообразователя на тушение пожара при горении резервуара с сжиженным пропаном
составит:
Woв. = 0,08·3,14·600·1,2 = 181 л;
Таким образом, по проведенным расчетам расход раствора
пенообразо-вателя на тушение пожара автоматической системой пенного
пожаротушения при горении резервуара с сжиженным пропаном составит 181 л.
3.5.2.4
Расчет расхода воды на охлаждение резервуаров
Для предотвращения взрыва
горящего резервуара и возгорания соседних резервуаров применяют охлаждение их
водой. Каждый резервуар оборудуется распылителем воды.
Расход воды на охлаждение
горящего и смежных резервуаров определяется по следующей формуле:
qвохл =
π ·(Ігв·Dгр + 0,5 ·Ісмв·Dсмр
·n), (3.40)
где Ігв-
расход воды на 1м длины окружности горящего резервуара, принимаемый равным 0,5
л/(м2·с);
Ісмв-
расход воды на 1м длины окружности смежного резервуара, принимаемый равным 0,2
л/(м2·с);
Dгр
,Dсмр- диаметры горящего и смежных резервуаров, м;
n- число смежных
резервуаров;
Тогда получим:
qвохл=3,14·
(0,5·2+0,5·0,2·2·2)=5,18 л/с.
Следовательно, расход
воды для охлаждения горящего и соседних с ним резервуаров составит – 5,18 л/с.
3.5.2.5
Расчет количества пенообразующих устройств
В качестве пенообразующих
устройств, для пенной системы пожаротушения применяют пеногенераторы.
Число потребных для
защиты резервуара пеногенераторов nг
определяется по формуле:
nг=0,785D2p·Ip/qгp, (3.41)
где Dp- диаметр резервура, м;
Ip- удельный расход раствора, л/(м2·с),
для сжиженного пропана - 0,08 л/(м2∙с);
qгp-
производительность генератора пены по раствору, л/с, принимается равным для
пеногенератора ГВП 2 л/с [3]. Тогда получим:
nг= 0,785·22·0,08/2=1
Следовательно, количество
пенообразующих устройств (пеногенераторов) на один резервуар составит 1 штуку.

1 - резервуар; 5 - пенная
камера с ГВП; 3 - кольцо водяного орошения; 4 - трубопровод. для подачи
пенообразующего раствора в ГВП; 5 - трубопровод для подачи воды в кольцевой
ороситель; 6 - задвижка; 7 - коллектор раствора; 8 - водяной коллектор; 9 -
магистральный трубопровод для подачи раствора; 10 -магистральный трубопровод
для подачи воды; 11 - сопло Вентури; 12, 13 -насосы; 14 - всасывающая
линия насоса; 15 - водопровод; 16 - циркуляционные трубы смесители; 17 - смеситель;
18 - трубки для управления дозатором; 19 - труба для подачи
пенообразователя к смесителю; 20 - автоматический дозатор; 21 - труба для
подачи пенообразователя к автоматическому дозатору; 22 - бак с
пенообразователем.
Рисунок 3.3 - Принципиальная схема комбинированной
системы установки для тушения пожаров в резервуарах с нефтепродуктами
многократной воздушно-механической пеной и орошением резервуара водой
3.5.3
Системы автоматической пожарной сигнализации
Автоматическая пожарная сигнализация является важной мерой
предотвращения крупных пожаров. При отсутствии пожарной сигнализации от момента
обнаружения пожара до вызова пожарных подразделений проходит большой промежуток
времени, что в большинстве случаев приводит к полному охвату помещения
пламенем. Основная задача автоматической пожарной сигнализации - обнаружение
начальной стадии пожара, передача извещения о месте и времени его возникновения
и при необходимости включения автоматических систем пожаротушения и
дымоудаления.
Функционально автоматическая пожарная сигнализация состоит из
приемно-контрольной станции, которая через сигнальные линии соединена с пожарными
извещателями. Задачей сигнальных извещателей является преобразование различных
проявлений пожара в электрические сигналы. Приемно-контрольная станция после
получения сигнала от первичного извещателя включает световую и звуковую
сигнализацию и при необходимости автоматические установки пожаротушения и
дымоудаления.
Скорость срабатывания автоматической пожарной сигнализации в
основном определяется скоростью срабатывания первичных извещателей. В настоящее
время наиболее часто используют тепловые, дымовые, световые и звуковые пожарные
извещатели.
Тепловые извещатели по принципу действия разделяются на максимальные, дифференциальные
и максимально-дифференциальные. Первые срабатывают при достижении определенной
температуры, вторые - при определенной скорости нарастания температуры, а
третьи - от любого значительного изменения температуры. В качестве
чувствительных элементов применяют легкоплавкие замки, биметаллические
пластины, трубки, заполненные легко расширяющейся жидкостью, термопары и т. д.
Тепловые пожарные извещатели устанавливают под потолком в таком положении,
чтобы тепловой поток, обтекая чувствительный элемент извещателя, нагревал его.
Тепловые пожарные извещатели не обладают высокой чувствительностью, поэтому
обычно не дают ложных сигналов срабатывания в случае увеличения температуры в
помещении при включении отопления, выполнения технологических операций.
Дымовые пожарные
извещатели обладают
меньшей инерционностью. Пожарная защита современных промышленных предприятий
включает комплекс профилактических, организационных и технических мероприятий,
дополняющих друг друга и тесно взаимосвязанные между собой.
Технические средства
борьбы с пожарами подразделяются на оповестительные и исполнительные. К
оповестительным относятся различного рода сигнальные устройства (пожарные
извещатели).
Исполнительные средства
подразделяются на мобильные, переносные и стационарные.
Стационарные средства
тушения в свою очередь подразделяются на автоматические, полуавтоматические и
неавтоматические.
К автоматическим
стационарным средствам тушения относятся такие, в которых процессы обнаружения
и тушения пожара полностью автоматизированы. Полуавтоматические стационарные
средства тушения включаются оператором.
Потребность в средствах автоматической пожарной зашиты
(АПЗ) обусловливается тем, что современные промышленные предприятия становятся
все более комплексно механизированными и автоматизированными. Отсутствие в них
автоматических средств пожарной защиты снижает уровень механизации и
автоматизации. Для современных производств характерна тенденция максимальной
интенсификации производства при минимуме обслуживающего персонала, что в ряде
случаев связано с повышением пожарной опасности. Уменьшить эту опасность можно
только за счет автоматизации пожаротушения [23].
3.6
Оценка возможного числа пострадавших
Сценарий аварии,
разработанный в разделе 2 дипломного проекта, предполагает возникновение взрыва
и пожара пролива на газофракционирующей установке. Основными поражающими
факторами при данном сценарии аварии будут тепловое излучение пожара пролива и
избыточное давление ударной волны при взрыве. Основная часть людей во время
возникновения ЧС находится внутри зданий и сооружений, т.е. воздействие
теплового излучения многократно ослабляется, основным поражающим фактором при
определении числа пострадавших будем считать избыточное давление во фронте
ударной волны.
Найдем возможное число
пострадавших от взрыва пропана на газофракционирующей установке, используя
результаты расчетов п.3.3.1, рисунок 1 Приложения Б (план расположения площадок
объекта), и таблицу 5 Приложения А.
Определим количество
пострадавших людей в зданиях, получивших различную степень разрушения (таблица 3.9):
- в полностью разрушенных
зданиях выходит из строя 100 % находящихся в них людей, при этом полагают, что
все пострадавшие находятся в завалах;
- в сильно разрушенных
зданиях выходит из строя до 60 % находящихся в них людей, при этом считают, что
50 % из числа вышедших из строя может оказаться в завале, остальные поражаются
обломками, стеклами и давлением в волне;
- в зданиях, получивших
средние разрушения, может выйти из строя до 10 - 15 % находящихся в них людей.
Таблица 3.9 – Количество
пострадавших людей в зданиях, получивших различную степень разрушения
| Здание |
Тип здания |
Расстояние от центра взрыва, м |
Величина избыточного давления,
кПа |
Степень разрушения здания |
Количество людей, находящихся в
зданиях |
Количество людей, вышедших из
строя |
| Техноло-гическая насосная 1 блока |
Кирпич-ное одно-этажное |
26 |
130 |
полная |
3 |
3 |
| Компрес-сорная станция |
Кирпич-ное двух-этажное |
50 |
50 |
сильная |
9 |
6 |
| Здание мате-риального склада №1 |
Железо-бетонное крупно-панельное
одно-этажное |
70 |
30 |
средняя |
3 |
2 |
| Здание заводоуп-равления |
Кирпич-ное трех-этажное |
75 |
30 |
сильная |
32 |
19 |
| Итого |
47 |
30 |
Остальные здания получат
слабую степень разрушения. Согласно расчетам в п.3.3.1, радиус разрушений
зданий слабой степени составит 250 м, в этой зоне находятся 87 человек.
Таким образом, общее
количество пострадавших составит 87 человек, 30 из них погибнут, остальные 57
человек, получат травмы различной степени тяжести.
Результаты проведенных
расчетов:
1.
Газофракционирующая
установка относится к
категории АН, величина индивидуального риска при возможном
сгорании сжиженного пропана с образованием волн давления превышает 10-6
в год на расстоянии 30 м от наружной установки, горизонтальный размер зоны,
ограничивающей газопаровоздушные смеси с концентрацией горючего выше нижнего
концентрационного предела распространения пламени (НКПР), превышает 30 м и расчетное
избыточное давление при сгорании газовоздушной смеси на расстоянии 30 м от
наружной установки превышает 5 кПа.
2.
Социальный риск
не превышает нормативное значение 10-7, пожарная безопасность
выполнена, но требуется принятие всех возможных мер по снижению риска
возникновения взрыва.
3.
В соответствии с
таблицей 3.3.1 и рисунком 1 Приложения Б полному разрушению подверглось здание
технасосной блока №1, сильным разрушениям подверглись здания заводоуправления и
компрессорной станции.
4. Общее количество
пострадавших составит 87 человек, 30 из них погибнут, остальные 57 человек,
получат травмы различной степени тяжести, основным поражающим фактором будет
избыточное давление ударной волны.
4 ПЛАНИРОВАНИЕ И ТЕХНОЛОГИЯ ВЫПОЛНЕНИЯ
АВАРИЙНО-СПАСАТЕЛЬНЫХ И ДРУГИХ НЕОТЛОЖНЫХ РАБОТ ПРИ ЛИКВИДАЦИИ ЧРЕЗВЫЧАЙНОЙ
СИТУАЦИИ НА ТУЙМАЗИНСКОМ ГАЗОПЕРЕРАБАТЫВАЮЩЕМ ЗАВОДЕ
Последствия ЧС парализуют
нормальное функционирование объекта экономики, ведут к гибели людей, большому
материальному ущербу. В связи с этим важное социальное и экономическое значение
имеет планирование и осуществление мероприятий по предупреждению и ликвидации
последствий ЧС.
Одной из важных задач,
обеспечивающих условия своевременного и эффективного проведения мероприятий и
работ по ликвидации чрезвычайных ситуаций и спасению населения, является
планирование аварийно – спасательных и других неотложных работ. Планирование
позволяет конкретизировать пути достижения целей и решение отдельных задач по времени,
ресурсам и исполнителям [31].
В данном разделе рассматривается планирование
организации АСДНР при ликвидации последствий ЧС, установление такой
последовательности и такой организации проведения мероприятий, которые
позволяют обеспечить в кратчайшие сроки и с привлечением минимально необходимых
сил и средств выполнение работ по ликвидации данной ЧС.
Целью данного раздела
является проведение планирования АСДНР, проводимых при ликвидации чрезвычайной
ситуации на газофракционирующей установке ТГПЗ.
Планирование АСДНР на
газофракционирующей установке ТГПЗ осуществляется на основе расчетов,
приведенным в разделе 3 (см. также Приложение Б рисунок 1):
- полному разрушению
подверглось здание технологической насосной блока №1, здание материального
склада №1 подверглось средней степени разрушения;
- площадь пожара пролива S = 692 м2;
-количество пострадавших
со смертельным исходом 30 человек (считается, что все они находятся в завалах),
легкой степени и средней степени тяжести 57 человек, 17 из них находятся в
завалах.
На основании этих данных
производится планирование АСДНР. При планировании ведения АСДНР при ликвидации
ЧС на ТГПЗ основными задачами являются:
- анализ сложившейся
обстановки;
-
определение
характера разрушений;
-
разработка
комплекса превентивных мероприятий;
-
планирование и
технология ведения аварийно-восстановительных работ;
-
расчет
необходимых сил и средств для проведения мероприятий;
-
подбор
спасательной техники для выполнения работ.
4.1 Перечень
превентивных мероприятий при авариях на пожаро- и взрывоопасных
объектах
Превентивные мероприятия
направлены на предотвращение аварийных ситуаций, либо снижение ущерба при их возникновении.
Режимы проведения мероприятий: 1- режим повседневной деятельности, 2 - режим
повышенной готовности, 3 - режим чрезвычайной ситуации [32].
Комплекс превентивных
мероприятий представлен в таблице 4.1.
Таблица 4.1 - Перечень
основных превентивных мероприятий при авариях на ТГПЗ
Мероприятия, осуществляемые на
региональном уровне
|
Характеристика мероприятий,
параметры их проведения
|
1
|
2 |
| Проверка работоспособности
автоматических систем обнаружения и оповещения о возникновении аварии на
объектах |
Режимы 1, 2. Оборудование
объектов датчиками контроля и обнаружения возгорании, определения критических
параметров производственных процессов, автоматического отключения установок и
оборудования в случае угрозы. Установка и регламентная проверка спринклерных и
дренчерных систем пожаротушения, систем создания инертной среды, изоляции
аварийных помещений и установок. Создание и периодическая проверка локальных
систем оповещения. |
| Контроль на промышленном объекте
за выполнением правил противопожарной безопасности |
Режимы 1, 2. Сертификация
производств по степени пожарной опасности. Экспертиза соответствия
технологических процессов и изменений в них нормам противопожарной
безопасности. Периодический комиссионный осмотр и актирование объектов.
Контроль за пополнением и освежением средств пожаротушения, знанием
персоналом правил противопожарной безопасности. Проведение учений и
тренировок. |
| 1 |
2 |
|
Защита персонала и населения
- организация системы оповещения
о возникновении ЧС;
- обеспечение персонала
индивидуальными средствами защиты;
- планирование проведения
эвакуации из опасных районов
|
Режимы 1, 2. Организация и
оборудование систем оповещения в соответствии с современными достижениями
противопожарной техники и с учетом отраслевой специфики. Прогнозирование зон
воздействия первичных и вторичных факторов поражения для персонала и
населения близлежащих жилых кварталов. Определение мер защиты в случае
аварии, определение маршрутов вывода персонала и населения из опасных зон и
маршрутов ввода сил и средств для ликвидации аварий. Обучение персонала и
населения правилам поведения и приемам спасения в случае аварии. |
| Подготовка к привлечению при
необходимости дополнительных сил и средств в соответствии с планом
взаимодействия |
Режимы 1, 2. Осуществляется на
этапе планирования действий на случай аварии. Организация взаимодействия с
министерствами и ведомствами Российской Федерации. Группировка сил РСЧС: ГПС
МВД; формирования ПГ министерств и ведомств; силы ГО; ВСМК МЗ. Срок
приведения в готовность - от 1, 5 часов до 3 суток. Основные задачи
определены.
Решение принимается на уровне
министров.
|
Превентивные мероприятия,
независимо от их объема, все же не исключают возможности возникновения
чрезвычайной ситуации. И при ее возникновении необходимо в кратчайшие сроки
провести аварийно – спасательные работы [32].
4.2
Планирование, технология выполнения аварийно-спасательных и других неотложных
работ в зоне аварии
Аварийно - спасательные и
другие неотложные работы (в дальнейшем - АСДНР) при взрыве и пожаре пролива на
газофракционирующей установке ТГПЗ включают в себя следующие мероприятия:
- разведка зоны ЧС
(инженерная, пожарная, медицинская);
- ввод сил и средств АСС,
АСФ в зону ЧС;
- отключение
коммунально-энергетических систем (КЭС);-
- тушение пожаров;
- поисково-спасательные
работы в зоне ЧС;
- оказание медицинской
помощи пострадавшим;
- эвакуация пострадавших
и материальных ценностей в зоне ЧС;
- подача воздуха в
заваленные помещения;
- организация управления
и связи в зоне ЧС;
- обеспечение общественного
порядка в зоне ЧС;
- проведение
аварийно-спасательных работ связанных с тушением пожаров в зоне ЧС;
- разборка завалов,
расчистка маршрутов и устройство проездов в завалах;
- укрепление или
обрушение поврежденных и грозящих обвалом конструкций зданий, сооружений на
путях движения и в местах работ;
- восстановление
отдельных участков энергетических и водопроводных сетей для обеспечения
противопожарного водоснабжения;
- работы по инженерной и
организационной подготовке участков спасательных работ и рабочих мест в зоне ЧС
(расчистка площадок, установка на площадках техники, ограждений и
предупредительных знаков, освещение рабочих мест);
- ликвидация аварий на
коммунально-энергетических сетях в зоне ЧС;
- газоспасательные
работы;
- ликвидация
(локализация) ЧС, связанных с разгерметизацией систем, оборудования, выбросом в
окружающую среду взрывоопасных и токсичных продуктов [33].
Успех проведения аварийно-спасательных и других
неотложных работ в зоне ЧС достигается за счет заблаговременно проведенной
подготовки спасательных формирований, в том числе:
1)
изучение обстановки сложившейся на
обслуживаемой территории при ЧС;
2)
изучения особенностей основных
объектов расположенных на территории ТГПЗ;
3)
оценки маршрутов выдвижения в
район возможных действий;
4)
планирования организации
управления, проведения расчета сил и средств связи;
5)
организации взаимодействия с
соответствующими комиссиями по чрезвычайным ситуациям по вопросам совместных
действий при ведении аварийно-спасательных и других неотложных работ при ЧС [33].
Проведение
аварийно-спасательных и других неотложных работ в зоне аварии на ТГПЗ
осуществляется согласно блок-схемы, представленной на рисунке 4.1.
4.3
Районы расположения формирований и время их выдвижения в зону чрезвычайной
ситуации
После получения сигнала
об аварии на ТГПЗ первым эшелоном в зону ЧС выдвигаются силы постоянной
готовности - объектовые, находящиеся на территории ТГПЗ - газоспасательный
отряд, пожарная часть ПЧ-147, медицинские формирования (3 санитарных поста).
Время их готовности,
после получения сигнала
от дежурного диспетчера предприятия о возникновении ЧС составляет 5 минут [36].
Вторым эшелоном, по
решению руководителя ликвидации ЧС, для наращивания основных сил и средств
выдвигается пожарная часть ПЧ-48, расположенная на расстоянии 5,3 км и ПЧ-146,
расположенная на расстоянии 6,2 км. Для оказания медицинской помощи
пострадавшим и эвакуации их в лечебные учреждения в зону ЧС выдвигается бригада
скорой медицинской помощи, сформированная на базе больницы №1 г.Туймазы,
находящейся на расстоянии 7 км. Для спасения пострадавших из-под завалов
прибывает спасательные формирования аварийно-спасательной службы г.Туймазы,
находящейся на расстоянии 5,0 км (рисунок 1 Приложения Б).
Время выдвижения формирований из мест дислокации в
зону ЧС определяется по формуле:
t = tд.с. + tсб + tсл + tб.р, , (4.1)
где tд.с. - время до сообщения о пожаре, мин. Равно времени от
начала возникновения пожара до сообщения о нем в пожарную часть. Принимается
равным 5 минутам;
tсб - время обработки информации и сбора личного состава
по тревоге (принимается не более 1 мин.);
tсл - время следования на пожар, мин.
Определяется практически при наибольшей интенсивности движения транспорта или
по формуле:
tсл = L ´ 60 / Vсл, (4.2)
где L - расстояние
от места дислокации формирования до объекта, км,;
Vсл - средняя скорость движения
автомобиля, км/ч.
Vсл=40 км/ч для пожарных машин, Vсл=80
км/ч для машин скорой помощи и машин аварийно-спасательной службы.
Время следования ПЧ-48 до
объекта: t = 5,3´ 60 / 40 = 7 мин.
Время следования ПЧ-146
до объекта: t = 6,2´ 60 / 40 = 8 мин.
Время следования БСМП до
объекта: t =7 ´ 60 / 80 = 5 мин.
Время следования АСФ до
объекта: : t =5 ´ 60 / 80 = 4 мин
tб.р. - время боевого развертывания,
которое принимается от 3 до 5 мин.
Подставляя данные
значения в формулу (4.2) получаем общее время выдвижения:
- ПЧ-48 до объекта: tсв = 5 + 1 + 7 + 4 = 17 мин.
- ПЧ-146 до объекта: tсв = 5 + 1 + 8 + 4 = 18 мин.
- БСМП до объекта: tсв = 5 + 1 + 5 + 4 = 15 мин.
- АСФ до объекта: tсв=5+1+4+4=14 мин.
Данные о времени прибытия
формирований РСЧС в зону бедствия позволяют повысить эффективность и точность
планирования аварийно-спасательных работ.
4.4
Организация разведки в зоне ЧС
Разведка – важнейший вид
обеспечения действий формирований. Она организуется и ведется с целью
своевременного добывания данных об обстановке, необходимых для принятия
обоснованного решения и успешного проведения спасательных и неотложных
аварийно-восстановительных работ в очагах поражения и зонах катастрофического
затопления, районах стихийных бедствий, аварий, катастроф.
Разведка зоны ЧС, где
планируется проведение АСДНР, включает в себя инженерную, пожарную и
медицинскую разведку.
Пожарная разведка проводится для выявления и уточнения
пожарной обстановки в зоне ЧС. После установления районов и масштабов пожаров
определяются пути отхода и наиболее удобные рубежи локализации огня для
обеспечения продвижения формирований к месту проведения спасательных работ [19].
В ходе разведки пожара устанавливают:
- какая площадь охвачена огнем, какой продукт горит и какому
оборудованию угрожает; наличие продукта на установке и какие операции
происходят, возможность перекрытия продукта;
- состояние горящих и смежных сооружений, наличие в них
продуктов, давление и температура;
- состояние задвижек, трубопроводов, возможность остановки
поступления газа на установки;
- возможность обвалования горящей жидкости на площадке под
колоннами;
- наличие угрозы взрывов, деформации конструкций и разлива
жидкости из аппаратуры, либо утечек горючих паров и газов;
- отключена ли установка от сырьевых и товарных линий;
- наличие и состояние промышленной канализации, опасность
переброса по ней огня на соседние установки.
Медицинская разведка определяет количество и состояние
пораженных, места сосредоточения пораженных перед их эвакуацией в лечебные
учреждения и места развертывания медицинских формирований, объем работ, и
необходимое количество привлекаемых сил и средств для их проведения.
В ходе медицинской разведки устанавливают:
местонахождение и
количество пострадавших, приемы и способы их спасения;
безопасные места сбора
пострадавших и способы их эвакуации;
определение мест, удобных для развертывания медицинских
пунктов, пунктов санитарной обработки;
Инженерная разведка проводится для установления степени и
характера разрушений, состояния коммунально-энергетических сетей, дорог,
мостов, переправ, местонахождения пострадавших, определения объемов и способов
проведения поисково-спасательных и аварийно-восстановительных работ [19]. В
ходе инженерной разведки определяются:
зона ЧС;
степень разрушения зданий
и сооружений, объем завалов, приемы и способы извлечения пострадавших из-под
завалов;
состояние подъездных
путей;
состояние
коммунально-энергетических сетей;
наличие участков, опасных
для работы спасателей по причинам возможного взрыва, пожара, обрушения
конструкций, наличие электросетей под высоким напряжением.
необходимое количество и
тип аварийно - спасательной техники и оборудования для проведения работ.
Первичная разведка
производится разведывательной группой в составе 2 расчетов из 3 человек,
сформированной на основе газоспасательного отряда объекта экономики.
Время следования к месту
пожара определим по формулам (4.1) - (4.2):
tсл = L ´ 60 / Vсл, (4.2)
где L =0,2 км-
расстояние от места дислокации формирования до места ЧС;
Vсл =20 км/ч- средняя скорость движения
автомобиля на объекте экономики.
tсл = L ´ 60 / Vсл=0,2´60/20=1 мин
Время следования
газоспасательного отряда к месту ЧС:
t = 2 + 1 + 1 + 2 = 5 мин.
Зоной разведки является
квадрат зоны средних разрушений со стороной примерно 100 м (рисунок 3
Приложения Б), при разведке объект разбивается на 2 участка шириной 50 м и
длиной L = 100 км, скорость движения разведчиков принимается 2 км/ч,
тогда время проведения первичной разведки равно:
tр= 2 ´L´60/ Vр = 2·0,1·60/2=6 мин
Расчет оснащается
средствами связи и индивидуальной защиты, шанцевым инструментом, средствами
обозначения мест нахождения пострадавших, средствами оказания первой
медицинской помощи.
Обнаруженные пострадавшие
опрашиваются об их состоянии, полученных травмах, условиях, в которых они
оказались, и о наличии в помещениях других пострадавших. По возможности им
оказывается первая медицинская помощь. После этого пострадавшие направляются на
пункты сбора пораженных. При невозможности безопасного передвижения
пострадавших их местоположение обозначается специальными указателями, размеры,
форма и содержание которых устанавливается командиром подразделения.
Специалисты,
действующие в составе разведдозора, выявляют и уточняют обстановку применительно
к задачам, которые придется выполнять специальным подразделениям,
обеспечивающим действия спасателей. Участки пожара, обходы завалов,
неустойчивые конструкции, места нахождения пострадавших обозначаются установленным
порядком.
О
результатах разведки командиры разведывательных дозоров докладывают выславшим
их командирам (штабам).
По
завершении выполнения поставленной задачи разведывательный дозор
останавливается, ведет наблюдение, командир дозора докладывает о выполнении
задачи и действует в соответствии с полученным указанием.
Ведение
разведки прекращается только по приказу командира (начальника), выславшего
разведку. Параллельно с ведением разведки формирования приступают к поиску
пострадавших.
Таким образом, для
ведения разведки потребуется 6 человек личного состава (газоспасательный отряд)
и 2 автомобиля УАЗ-469.
4.5
Организация спасения людей, находящихся в завалах
Поиск пострадавших под завалами разрушенных зданий
представляет собой совокупность действий личного состава поисковых
подразделений, направленных на обнаружение и уточнение местонахождения людей,
их функционального состояния и объема необходимой помощи [37].
Поиск пострадавших
производится силами специально подготовленных поисковых подразделений
спасателей (групп, звеньев, расчетов) после проведения рекогносцировки,
инженерной разведки очага поражения и объекта работ.
В зависимости от
наличия соответствующих сил и средств поисковые работы могут вестись следующими
способами:
сплошным визуальным
обследованием участка спасательных работ (объекта, здания);
с использованием специальных приборов
поиска (технический способ).
4.5.1
Расчет параметров завалов, образующихся при полных и сильных разрушениях зданий
Анализ характера
разрушений зданий при чрезвычайных ситуациях показал, что здания при полном
разрушении практически полностью превращаются в обломки, образуя завалы. При
разрушении зданий на ступень ниже полной в расчетах можно принять, что объем
завалов составляет примерно 50% от объемов завалов зданий в случае их полного
разрушения [34].
Длина завала –
геометрический размер завала в направлении наибольшего размера А здания при вне
здания:
Азав = A + L, (4.3)
Ширина завала –
геометрический размер завала в направлении наименьшего размера В здания при
взрыве вне здания:
Взав = В + L, (4.4)
Высота завала (h) – расстояние от уровня земли до максимального
уровня обломков в пределах контура здания.
Основными факторами,
определяющими высоту завала, являются этажность здания и величина действующего
давления во фронте воздушной ударной волны. Чем больше давление, тем дальше
разлетаются обломки, что приводит к уменьшению высоты завала (рис.4.2).

Н – высота здания;
h – высота завала;
Взав – ширина
завала;
В –
ширина здания;
А – длина здания;
Азав- длина
завала.
Рисунок 4.2 – Расчетная
схема образования завала при взрыве вне здания
Объем образовавшегося завала:
, (4.5)
где А, В, Н – длина,
ширина и высота здания;
g – объем завала на 100 м3 объема
здания, g определяется в соответствии с
таблицей 6 Приложения А.;
Результаты расчета
параметров завалов для зданий ТГПЗ при аварии на газофракционирующей установке
приведены в таблице 4.2.
Объемно-массовые
характеристики завалов используются для обоснования состава транспортной и
грузоподъемной инженерной техники. К этим характеристикам отнесены: удельный
объем завала, объем завала от разрушенного здания, объемный вес завала и
пустотность [37].
К показателям,
характеризующим крупные обломки завалов, отнесены максимальный вес, размеры и
структура обломка по составу арматуры. Максимальный вес обломков необходимо
знать для подбора грузоподъемности крана, а их размеры – для подбора
транспортных средств. Эти показатели получены на основе анализа проектов
производственных и жилых зданий и могут быть приняты для производственных
зданий по таблице 7 приложения А.
Исходя из таблиц 6-7 приложения
А, определим характеристики завала, образующегося при разрушении кирпичного
производственного здания в результате взрыва (таблица 4.3).
Таблица 4.3 -
Характеристика завала, образующегося при разрушении производственных зданий
| Объемно-массовые характеристики
завала |
технасосная |
мат.склад |
заводоуправление |
компр.станция |
|
Пустотность, (a), м3
|
60 |
60 |
40 |
40 |
|
Удельный объем, (g), м3
|
20 |
20 |
21 |
21 |
|
Объемный вес, (b), т/м3
|
1 |
1 |
1,5 |
1,5 |
|
Примечания: 1.Пустотность завала
(a) - объем пустот на 100 м3 завала.
2. Удельный объем завала (g) - объем завала на 100 м3 строительного объема.
3. Объемный вес завала (b) - вес в т 1 м3 завала.
|
| Структура завала по весу обломков
(тип обломков по весу), (%) |
технасосная |
мат.склад |
заводоуправление |
компр.станция |
| Очень крупные больше 5 т |
60 |
60 |
10 |
10 |
| Крупные от 2 до 5 т |
10 |
10 |
40 |
40 |
| Средние от 0,2 до 2 т |
5 |
5 |
10 |
10 |
| Мелкие до 0,2 т |
25 |
25 |
40 |
40 |
| Вес основных конструктивных
элементовпроизводственных зданий |
| Конструктивные элементы |
технасосная |
мат.склад |
заводоуправление |
компр.станция |
| Вес, т |
1,5 |
2 |
1,5 |
2 |
Как видно из таблицы 4.3 для
выполнения спасательных работ при разборке завалов кирпичных и мелкоблочных
бескаркасных зданий потребуются грузоподъемные средства свыше 5 тонн, этим
требованиям соответствует автокран КС-35715.
4.5.2
Способы деблокирования пострадавших из-под завалов
Пострадавшие, находящиеся
под обломками строительных конструкций, в зависимости от структуры завала,
глубины их нахождения, а также от возможностей имеющихся технических
спасательных средств, деблокируются следующими способами (рисунок 4.5).

Рисунок 4.5 - Способы
деблокирования пострадавших
Технология деблокирования
пострадавших путем разборки завала сверху применяется при нахождении
пострадавших на небольшой глубине от поверхности завала, на некотором удалении
от его края, или при невозможности использования других способов деблокирования
пострадавших.
Технология деблокирования пострадавших путем устройства
лаза в завале применяется в основном при нахождении пострадавших в завалах,
состоящих из крупных обломков строительных конструкций. Является основным
методом деблокирования в этих условиях. Путем расширения имеющихся полостей и
пустот в теле завала с использованием специальных средств и одновременной
фиксацией неустойчивых элементов.
Технология
деблокирования пострадавших из завала путем сплошной горизонтальной разборки
применяется при нахождении пострадавших на значительной глубине от поверхности
завала и отсутствии в завале полостей, позволяющих деблокировать пострадавших
путем их расширения или проделывания лаза в теле завала [38].
При рассматриваемой
чрезвычайной ситуации, так как высота завала не превышает 2 м, наиболее
приемлемыми способ разборки завала сверху.
Разборка завала сверху
осуществляется после обнаружения заваленного человека, укрепления неустойчивых
обломков и конструкций, выбора и ограждения рабочего места, размещения на
рабочем месте компрессора или источника электроэнергии, отключения всех
трубопроводов и кабелей.
Схема организации работ по
деблокированию пострадавшего способом разборки завала приведена на рисунке 4.6.
1 - компрессор; 2 -
ограждение рабочей площадки и места производства работ; 3 - завал; 4 - края
выемки; 5 - место блокирования пострадавшего; 6 - выемка; 7 - лебедка. Н -
высота завала.
Рисунок 4.6 - Схема
организации работ по деблокированию пострадавшего способом разборки завала
сверху
Разборка завала сверху
осуществляется спасательным звеном численностью в 7 человек методом послойного
удаления обломков в отвал. Старший расчета отвечает за качественное и
своевременное выполнение работ и соблюдение мер безопасности. Верхний слой
обломков убирается с помощью лебедки после предварительного дробления и резки
арматуры. Мелкие обломки убираются вручную в отвал. Данные операции повторяются
до тех пор, пока не будет освобожден пострадавший. По мере приближения к месту
блокирования пострадавшего, применение отбойных молотков исключается, чтобы
предотвратить подвижку завала и защемленных конструкций. Работы по разборке
завала производятся с использованием автокрана, универсального комплекта УКМ-4,
дисковых мото- и электропил и гидроножниц. Если пострадавший находится под
крупными обломками, то его освобождают при помощи домкратов, пневматических
подушек, плунжерных распорок [38].
Для производства работ по
разборке завала вручную выбираются или оборудуются с помощью средств
механизации (бульдозер, трактор) площадки, где устанавливаются компрессорные
станции, а при необходимости и другая техника.
4.5.3 Расчет сил и средств для расчистки завалов и
деблокирования пострадавших
Для извлечения пострадавших из–под завалов на ТГПЗ создаются
спасательные механизированные группы, а также звенья ручной разборки завалов.
Количество личного
состава для комплектования механизированных групп может быть определено по
следующей зависимости:
, чел (4.6)
где Nсмг
- численность личного состава, необходимого для комплектования спасательных
механизированных групп;
W - объем завала разрушенных зданий и
сооружений (218 м3);
Пз - трудоемкость по разборке завала, чел.ч/м3,
принимается равная 1,8 чел.ч/м3;
Т- общее время выполнения спасательных
работ в часах (2 ч);
Кз - коэффициент, учитывающий структуры
завала (Кз=0,2) ;
Кс - коэффициент, учитывающий снижение
производительности в темное время суток, принимается равным 1,5;
Кп - коэффициент, учитывающий погодные
условия (Кп=1)
Если известно количество
людей, находящихся в завале, то объем завала для извлечения пострадавших можно
определить по формуле
, м3, (4.7)
где Nзав -
количество людей, находящихся в завале, чел;
hзав - высота
завала, м;
Vзав - объем завала, который необходимо
разобрать для извлечения пострадших.
Используя таблицы 3.6 и
4.4, находим объем завала для извлечения пострадавших:
Vзав=
1,25·(3·0,62+9·1,06+3·0,71·+32·1,30)=68,9 м3
Данная зависимость
предполагает, что для извлечения одного пострадавшего требуется устроить в
завале шахту (колодец) на всю высоту завала и размером в плане 1 х 1 м. Коэффициент 1,25 учитывает увеличение объема разбираемого завала за счет невозможности
оборудования шахты указанных размеров (осыпание завала, извлечение крупных
обломков, наклона шахты и т.п.
Nсмг =0,15 · (68,9· 1,8/2) · 0,2 · 1,5 · 1
= 9 чел
Приведенная зависимость
по определению личного состава для комплектования механизированных групп
применима при условии, если неизвестно количество людей, находящихся в завале.
Поэтому коэффициент 0,15 предполагает (по опыту) долю разбираемого завала от
его общего объема.
Для определения
количества формируемых спасательных механизированных групп необходимо общую
численность личного состава разделить на численность одной группы:
, групп (4.8)
nсмг = 9/23 = 1 группа
Общее количество
спасательных звеньев (nр.з) ручной разборки, при этом составит:
, ед (4.9)
где n - количество смен в
сутки при выполнении спасательных работ (1 смена);
к - коэффициент,
учитывающий соотношение между механизированными группами и звеньями ручной
разборки в зависимости от структуры завала (к=8).
nр.з = 1·8·1 = 8 ед.
Количество личного
состава для укомплектования звеньев ручной разборки (Nрз), в этом случае, определяется как
произведение их количества на численность:
(4.10)
Nрз = 7·8 = 56 чел
Для проведения
поисково-спасательных при аварии на газофракционирующей установке необходимы 1
группа механизированной разборки завала и 8 групп ручной разборки общей
численностью 79 человек, формируемых на основе
газоспасательного отряда объекта и аварийно-спасательных формирований АСС
г.Туймазы.
4.6
Эвакуация пострадавших и персонала предприятия
Эвакуация - основное
мероприятие по защите людей. При возникновении
крупномасштабной ЧС на территории Туймазинского газоперерабатывающего завода,
при развитии опасной обстановки в зоне аварии особенно важными являются
вопросы своевременной эвакуации персонала.
Эвакуация, представляет
собой комплекс мероприятий по организованному вывозу всеми видами транспорта
персонала предприятия из опасной зоны, в город и в медицинские учреждения. Весь
фонд транспортных средств, пригодных к использованию в целях эвакуации
пострадавших и всего персонала предприятия, независимо от форм собственности,
на основании «Плана взаимодействия служб», привлекается к ведению спасательных
работ. Эвакомероприятия осуществляются по решению соответствующего начальника
ГО с последующим докладом вышестоящему руководству.
Персонал получивший,
травмы различной степени тяжести и нуждающийся в госпитализации, направляют в
больницу №1 г.Туймазы, остальные сотрудники эвакуируются по месту жительства.
Пункт погрузки
пострадавших для эвакуации организуется на площадке, где останавливаются
служебные автобусы. Рабочая смена на момент возникновения аварии, составляет
114 человек, из них 27 человек не подверглись воздействию поражающих факторов и
эвакуируются по месту жительства с помощью 2 автомобилей ПАЗ – 3205, имеющихся
в автомобильном парке завода, количество мест в каждом равно 21 человек. 57
человек получат травмы различной степени тяжести и подлежат эвакуации в
медицинские учреждения при помощи машин скорой помощи ГАЗ-27057 (10 автомобилей)
и УАЗ-452А (4 автомобиля) [36].
4.7
Организация пожаротушения
Под организацией тушения
пожара понимают комплекс мероприятий, связанных с подготовкой боевых действий
пожарных подразделений.
Старшим руководителем
тушения пожара является начальник противопожарной службы города, прибывшей на
объект. В зависимости от поставленной задачи и сложившейся обстановки старший
руководитель тушения пожара ставит задачи подчиненным подразделениям и выделяет
им участки работ. Руководят борьбой с пожарами непосредственно на местах
командиры противопожарных формирований. В первую очередь локализуют и тушат те
очаги пожаров, которые препятствуют успешному проведению спасательных работ и
создают угрозу распространения огня. В ходе тушения пожара личный состав
формирований должен строго соблюдать правила безопасности, внимательно следить
за состоянием строительных конструкций [37].
4.7.1
Особенности тушения открытых технологических установок
Особенностью
пожаров на открытых технологических установках является большая скорость
распространения горения, высокая тепловая радиация пламени, возможность
возникновения взрывов, выброса и растекания горючих жидкостей и сжиженных газов
на большие площади. Поэтажное размещение оборудования увеличивают удельные
нагрузки горючих веществ, повышают пожарную опасность, усложняют процесс
тушения пожара.
При
авариях на открытых технологических установках горючие газы и пары нагретого
нефтепродукта могут образовать загазованные зоны, величина которых зависит от
расхода продукта и скорости ветра.
Следует в кратчайшие
сроки локализовать и ликвидировать очаги пожара, чтобы не допустить ухудшения
пожарной обстановки и дальнейшего развития ЧС. Если загорание произошло вблизи
наземных резервуаров, во избежание повышения в них давления необходимо
немедленно включить орошение и противопожарную водяную завесу. Если этого
недостаточно, резервуары следует поливать водой из брандспойта мощной струей
[17].
Первые действия подразделений пожарной охраны должны быть направлены
на:
1. Прекращение растекания горючих жидкостей и газов.
2. Охлаждение соседних аппаратов и установок, попадающих в
зону интенсивного теплового излучения
3. Тушение разлившейся жидкости и факела из неисправного
аппарата, не прекращая при этом охлаждения и аппаратов и установок, находящихся
в зоне интенсивного теплового излучения.
4. При организации штаба пожаротушения, предусмотреть
создание двух боевых участков: БУ-1 - охлаждение горящего резервуара и соседних
аппаратов; БУ-2-тушение разлившейся жидкости из неисправного аппарата [38].
4.7.2
Выбор способов прекращения горения и огнетушащих веществ
Существует
четыре способа тушения пожаров: охлаждения, разбавления, изоляции и химического
торможения реакций.
Для
тушения пожаров СУГ на наружных установках используются способ охлаждение зоны
горения для защиты технологического оборудования с помощью компактных и
распыленных струй воды, и способ изоляции реагирующих веществ для тушения
пожара пролива с помощью воздушно-механической пены низкой и средней кратности.
Защиту
технологического оборудования организуют с момента прибытия первых
подразделений и продолжают в периоды локализации и ликвидации пожара. Для этого
используют автоматические средства защиты и огнетушащие средства, додаваемые
передвижной пожарной техникой.
При
охлаждении технологического оборудования необходимо обеспечивать орошение всей
поверхности горящих и половины поверхности соседних аппаратов и установок.
Необходимость орошения соседних аппаратов определяется расстоянием до фронта
пламени [38].
4.7.2.1
Водоснабжение
На территории завода проложены 2 кольцевых противопожарных
водопровода диаметрами 150 и 250 мм, на которых установлены 54 пожарных
гидранта. Вода в сеть подается от общего заводского водозабора, насосами из
реки Ик, расположенной в районе деревни Ильчимбетово, на расстоянии 12,5 км от
завода, по двум водопроводам диаметрами 300мм.
Общая производительность насосов 1200 м3/час. На
территории завода имеется 6 пожарных водоема, 4 из которых объемом 200 м3,1
-100 м3,1 - 800 м3. Для забора воды из водоемов, возле них
имеются манифольдные колодцы [39].
4.7.2.2
Расчет сил и средств пожаротушения
1.Согласно расчетам в пункте 3.3.4 площадь пролива равна 692
м2.
Для тушения пожара пролива понадобится раствора
пенообразователя средней кратности (к=100) [39]:
Qр.п.=S·Iрп, (4.11)
Где S –
площадь пожара (равна площади пролива), Iрп – интенсивность подачи раствора пенообразователя. Iрп= 0,08 л/с·м2 для ГПС-600.
Qр.п =692·0,08=48 л/с.
Определим необходимое количество стволов ГПС-600 для тушения
пожара пролива:
NГПС= Qр.п / QГПС (4.12)
Где Qр.п –
количество пенообразователя, необходимое для тушения пожара, л/с,
QГПС –
производительность одного ГПС. QГПС=6 л/с для ГПС-600.
NГПС = 48/6=8
шт ГПС-600.
Необходимо подать 8 стволов ГПС-600 с противоположных сторон.
2.Расход воды на
охлаждение горящего резервуара:
Qр=Sр·JП (4.13)
Где Sр – площадь резервуара, м2,
JП – интенсивность подачи воды на тушение, л/с. JП = 0,3 л/с для лафетных стволов.
Qр = 8·0,3=2,4 л/с
Необходимо лафетных стволов:
Nл.с.= Qр /Qл.с. (4.14)
Где Qл.с=
21 – производительность одного лафетного ствола, л/с
Nл.с =2,4/21=0,11
Принимаем один лафетный ствол для охлаждения горящего резервуара.
3.Расход воды на охлаждение соседних колонн:
Qоск= (Sk·Jo)/2 (4.15)
Где Sk –
площадь колонны, м2, Jo -
интенсивность подачи воды на охлаждение, л/с
Qоск = (110·0,2)/2= 11 л/с.
Количество лафетных стволов, которые понадобятся для
охлаждения:
Nл.с.= Qоск./Qл.с.=11/21=0,53 (4.16)
Принимаем по одному лафетному стволу на каждую соседнюю
колонну.
Таким образом, для локализации и тушения пожара, необходимы 3
лафетных ствола для охлаждения аппаратов и 8 ГПС-600 для тушения пожара
пролива.
Определим общий расход воды на тушение и охлаждение:
Qв= NГПС · QГПС + NЛС · QЛС = 8·6+3·21=111 л/с (4.17)
Определяем пропускную способность трубопровода. При напоре в
сети 80 м и диаметре трубопровода 150 мм, пропускная способность 140 л\с. Следовательно, трубопровод обеспечивает потребности на тушение пожара, защиту и
охлаждение оборудования.
Для работы с лафетными стволами необходимо на каждый ствол
одно отделение, всего 3. Для подачи пены с помощью ГПС-600 с четырех
направлений – 4 отделения. Одно отделение состоит из 1 машины АЦ-5-40 и 5
человек. Таким образом, для тушения пожара потребуется 7 машин АЦ-5-40 и 35
человек личного состава.
4.8 Расчет сил для локализации аварий на коммунально-энергетических
сетях
На Туймазинском
газоперерабатывающем заводе имеется водопроводная сеть. Определим площадь
расчистки подъездных путей из расчета 0,6 км заваленных маршрутов на 1 км2 разрушенной части города по следующей формуле:
Lпп = 0,6∙Sраз
, км, (4.18)
Sраз – площадь
зоны сильных разрушений
Sраз=π∙R2=3.14·352=3846 м2=0,0038 км2,
Где R –радиус зоны сильных разрушений
Lпп = 0,6∙Sраз=
0,6∙0,0038 = 0,002 м2.
Определим численность
личного состава для расчистки подъездных путей по формуле:
(4.19)
Lпп - протяженность
заваленных подъездных путей, км;
Nпп - численность
личного состава, участвующего в расчистке
подъездных путей,
человек;
n - количество смен работы в сутки,
ед;
=2 человека
Расчистить подъездные
пути требуется в кратчайшие сроки (1 час), так как это необходимо для ввода
механизированных формирований в зону ЧС.
Определим количество
аварий на КЭС из 8 аварий на 1 км2 разрушений по следующей формуле:
Ккэс = 8∙
Sразр, ед, (4.20)
Ккэс = 8∙0,0038=1
ед
Определим численность личного
состава для ликвидации аварий на КЭС по формуле:
(4.21)
где Ккэс -
количество аварий на КЭС, ед;
Nкэс -
численность личного состава аварийно-технических команд.
человек
Количество и наименование основной инженерной техники,
привлекаемой для проведения непосредственно спасательных работ, определяется
оснащением спасательных механизированных групп из расчета, что каждая группа
укомплектовывается бульдозером, экскаватором, автокраном и компрессором.
Количество бульдозеров
для расчистки подъездных путей определяется по формуле:
, (4.22)
где Lпп -
протяженность заваленных подъездных путей, км;
Т - время выполнения
работ в очагах, ч;
kусл - коэффициент условий выполнения
задачи.
ед
Инженерная техника для
оснащения аварийно-технических команд определяется потребностью в
укомплектовании аварийно-технических команд из расчета по одному бульдозеру,
экскаватору и автокрану в каждую команду.
Потребное количество
инженерной техники для ликвидации аварий на КЭС можно определить по формуле:
(4.23)
где kкэс - количество аварий на
коммунально-энергетических сетях.
5 ед
Для охраны общественного
порядка привлекается ведомственная охрана объекта в количестве 32 человек.
Общее количество сил и
средств, необходимых для проведения АСДНР представлены в таблице 4.4.
Результаты расчета сил и
средств и техники для проведения АСДНР представлены в таблицах 4.4 и 4.5:
Таблица 4.4 - Состав сил
для проведения аварийно-спасательных работ
| Наименование работ |
Количество отрядов |
Специальность |
Количество человек |
| 1 |
2 |
3 |
4 |
|
Первая медицинская
помощь
|
1 |
Врач |
5 |
| Средний медперсонал |
30 |
| Тушение пожара |
7 |
Пожарный |
35 |
| Аварийные работы на КЭС |
1 |
Участник
ликвидации ЧС
|
8 |
|
Расчистка
подъездных путей
|
1 |
Участник
ликвидации ЧС
|
2 |
| Охрана общественного порядка |
1 |
Вневедомственная охрана |
32 |
|
Разборка завалов
(механизированная группа
разборки)
|
1 |
Командир группы |
1 |
| Крановщик |
1 |
| Стропальщик |
2 |
| Экскаваторщик |
1 |
| Бульдозерист |
2 |
| Компрессорщик |
2 |
| Газосварщик |
2 |
| Разборка завалов (звено ручной
разборки) |
8 |
Спасатель разведчик |
24 |
| Спасатель |
24 |
| Спасатель–командир звена |
8 |
| Итог |
Врачи, спасатели |
107 |
|
|
Участники ликвидации |
72 |
| Итого |
179 |
|
|
|
|
|
Таблица 4.5 - Расчет
техники для проведения АСДНР
| Тип работ |
Наименование
техники
|
Количество спастехники, ед |
| 1 |
2 |
3 |
|
Заправка спастехники
топливом
|
Автоцистерна
заправочная
|
1 |
| Тушение пожара |
Автоцистерна пожарная |
7 |
|
Аварийные работы
на КЭС
|
Бульдозер |
2 |
| Автокран |
1 |
| Экскаватор |
2 |
|
Вспомогательная
техника
|
Тягач для бульдозера |
4 |
| Автобус |
4 |
| Тягач для кухни полевой |
1 |
| Бортовой грузовик |
4 |
|
Разборка завалов
(механизированная
группа разборки)
|
Автокран |
1 |
| Экскаватор |
2 |
| Компрессор |
1 |
| Газосварочный аппарат |
1 |
| Бульдозер |
2 |
| Перевозка раненных и погибших в
специализированные медицинские учреждения |
Машина скорой помощи |
10 |
| Реанимация |
4 |
|
Машина скорой
специальной помощи
|
2 |
|
Общее техническое
обеспечение АСДНР
|
Силовая электростанция |
1 |
|
Осветительная
электростанция
|
2 |
|
Разборка завалов
(звено ручной разборки)
|
Прибор для определения
местонахождения заваленного человека или группы людей |
1 |
| Мотоперфораторы |
2 |
| Разжимной прибор |
1 |
| Спасательные ножницы |
1 |
| Плунжерная распорка |
1 |
| Лебедка |
1 |
| Носилки |
5 |
| Молоток |
1 |
| Малая саперная лопата |
2 |
| Ножовка по дереву |
2 |
| Пожарный топор |
1 |
| Итого |
59 |
|
|
|
|
4.9
Подбор комплекта и комплекса спасательной техники для выполнения работ в зоне
чрезвычайной ситуации
Для механизации трудоемких процессов при проведении
АСДНР по ликвидации последствий ЧС необходимо правильно подобрать комплекты и
комплексы спасательных машин.
Большой объем работ в зоне аварии невозможно провести
в короткие сроки без применения различной техники. Только широкая механизация
всех видов работ позволит своевременно осуществить спасение пострадавших и
выполнение неотложных аварийно-восстановительных работ. Для механизации работ могут
применяться имеющиеся на объекте различные типы и марки строительных машин и
механизмов, а также техника расположенная в ведении смежных предприятий. Подбор
машин выполняется на основе соответствия их главных эксплуатационных параметров
требованиям к машинам для механизации АСДНР и технологии производства
работ. Производится выбор оптимального варианта комплексной механизации на
основе сравнения основного и дополнительных показателей.
При выборе оптимального варианта комплексной
механизации, основным показателем является продолжительность производства
работ, также учитывается оснащенность формирований ликвидаторов ЧС, объемы и
характер необходимых работ. Для каждого формирования разработан «План
ликвидации аварийных ситуаций» на объекте, в соответствии с которым
привлекаются имеющиеся в их распоряжении машины и другие технические средства,
необходимые для ликвидации ЧС [36].
4.9.1 Теоретические основы отбора дорожных машин для
механизации работ в зоне ЧС
Задача
расчетов заключается в подборе дорожных машин в соответствии с условиями
выполнения работ. Так же требуется определить, подходит ли Бульдозер марки
Д-521 для работ по ликвидации завала. Тактико-технические характеристики
Бульдозера представлены в приложении Б.
Исходные данные расчетов
принимаются на основе обстановки, в том числе и инженерной: объема завалов,
состояния подъездных путей и т.д.
техническая
производительность машины Пт = 0,77 км/м.
коэффициент, зависящий от
числа проходов бульдозера по одному следу. В данном случае расчет проводится
при двух проходах К =0,4 [5];
длина отвала бульдозера
Д-521 L0=336 см [5];
угол поворота отвала в
плане для бульдозеров с неповоротным отвалом sinω = 1;
усилие на перемещение
призмы волочения на 1 погонный сантиметр длины отвала Рпр
=25,0кгс/см
усилие копания на один
погонный сантиметр длины отвала PK=4,5 кгс/см
коэффициент сопротивления
гусеничного хода fг =0,2
коэффициент использования
сцепного веса базовой машины, φсц =0,9 [5];
коэффициент буксования кб=
0,1.
коэффициент полезного
действия силовой передачи и ходовой части, η =,82.
С целью определения
максимальной производительности, которую может дать машина с учетом ее основных
конструктивных параметров и условий работы, осуществляется тяговый расчет.
Отметим,
что рабочий процесс машины в каждом элементе рабочего цикла возможен в том
случае, если сила тяги машины по двигателю Рд и сила тяги машины по
сцеплению Рсц будут больше (или равны) сумме всех сил сопротивлений W для соответствующих элементов цикла,
которые машина должна преодолевать в заданных условиях, т. е.
(4.24)
В противном
случае возможно, что заглохнет двигатель или забуксует движитель.
В соответствии с [5] для
проведения работ по расчистке завалов выбирается бульдозер со средним значением
номинальной силы тяги – 135 — 200 кН.
Данным требованиям
подходит бульдозер Д-521.
Производительность машин
при работе в завалах зависит от характеристик завала, схемы производства работ
и технических параметров машин. Таким образом, для ориентировочных расчетов
примем:
Пэ = 0,65∙Пт
(4.25)
где Пт
техническая производительность машины;
Эксплуатационная
производительность бульдозеров на гусеничных тракторах при прокладывании
проездов в завалах может быть определена по формуле:
, км/ч, (4.26)
где N — мощность
двигателя трактора, л.с;
К — коэффициент,
зависящий от числа проходов бульдозера по одному следу;
W — полное сопротивление
движению бульдозера при работе, кгс.
Пэ =
= 0,5 км/ч (4.27)
Полное сопротивление
движению бульдозера при работе W слагается из сопротивления копанию W1,
сопротивления перемещению призмы волочения (объема породы перед отвалом) W2
и сопротивления перемещению бульдозера W3.
Сопротивление копанию
определяется по формуле:
W1 = PK∙Lo∙sinω, кгс (4.28)
где PK∙—
усилие копания на один погонный сантиметр длины отвала, кгс/см;
L0 — длина
отвала;
ω — угол поворота
отвала.
W1 = 4,5∙336∙1
= 1512 кгс
Сопротивление перемещению
призмы волочения определим по формуле:
W2 = Pпр∙L0,
кгс (4.29)
где Рпр —
усилие на перемещение призмы волочения на 1 погонный сантиметр длины отвала,
кгс/см.
W2 = 25,0∙336
= 8400 кгс
Сопротивление
перемещению бульдозера определяется по формуле
W3 = Gб∙fг (4.30)
где Gб — полный вес бульдозера, кг;
fг — коэффициент сопротивления
гусеничного хода.
W3 = 16900∙0,2 = 3380 кгс
Полное
сопротивление движению бульдозера при работе рассчитывается по формуле:
W=Wl + W2 + W3. (4.31)
W = 1512 + 8400 +
3380 = 13292 ≈ 13000 кгс
Опыт
производства работ по прокладыванию проездов в завалах с помощью бульдозеров
показывает, что минимальное заглубление отвала при этом должно быть примерно 0,2 м.
Поэтому,
если найденное расчетом полное сопротивление движению бульдозера при
заглублении отвала 0,2 м окажется больше максимальной силы тяги трактора, то
это указывает на нерациональность применение данного типа бульдозера для прокладывания
проездов [2].
Рассчитаем
силу тяжести базового тягача для создания номинального тягового усилия по
сцеплению по формуле:
GT=Pном/φсц (4.32)
где φсц — коэффициент использования сцепного
веса базовой машины;
Рном
— номинальное тяговое усилие, кгс.
GT =
180∙103/0,9 = 200000 кгс
(4.33)
Общая
сила тяжести конструкции бульдозеров рассчитаем по формуле:
Gб = 1,2∙GT, (4.34)
где Gб — сила тяжести базовой машины
Gб = 1,2∙200 = 240000 кгс
Мощность
двигателя базовой машины выбирается такой, чтобы обеспечить заданные
транспортные скорости бульдозеров и необходимое для работы тяговое усилие по
двигателю. Для последнего случая эффективная мощность двигателя определим по
формуле:
, кВт (4.35)
где vp — расчетная рабочая скорость
бульдозера, м/с;
Обычно
бульдозеры производят сдвигание грунта на I или II
передаче, или (0,9…1,0) м/с. возвращение его к месту набора грунта для нового
цикла осуществляется, как правило, задним ходом со скоростью (1,1…2,2) м/с. В
данном случае используется средняя скорость движения бульдозера vp = 1,5 м/с.
η —
коэффициент полезного действия силовой передачи и ходовой части.
Тогда,
Nд =
= 304 кВт
В
противном случае возможно, что заглохнет двигатель или забуксует движитель.
При
выполнении тягового расчета машины прежде всего следует определить, какую силу
тяги может развивать машина по двигателю. Определим ее по формулу:
Рд1=367,2∙Nд/v1 (4.36)
Рд1
= 367,2∙304/6,9 = 16000 кгс
Рдз.ход
= 367,2∙Nд/vз.ход (4.37)
Рдз.ход
= 367,2∙304/4,8 = 23100 кгс
Рд =
(Рд1+ Рдз.ход)/2 (4.38)
Рд
= 13439,5 + 8400 = 19800 кгс
Далее
следует определить, какую силу тяги может развивать машина по сцеплению.
Рассчитаем ее по формуле:
Рсц
= φRгр = φ(Gб∙cosα ± Wy) (4.39)
где
φ — коэффициент использования сцепного веса машины;
Rгр— нормальная реакция завала на
машину;
α — угол
уклона местности;
Wy —
вертикальная составляющая рабочих сопротивлений.
Заметим,
что при α ≤ 6° влияние угла местности α и Wy на силу Рсц незначительное. Поэтому в данных расчетах
при α < 6° можно принимать α = 0 и Wy = 0.
Рсц
= 0,9∙(240∙103∙1 ± 0) = 216000 кгс
После
определения Рд и Рсц произведем их сравнение с той целью,
чтобы определить, какая сила тяги будет ограничивать возможности рабочего процесса
машины.
Максимальная
сила тяги по двигателю Рд будет меньше при минимальной скорости
движения машины, т.е. ограничиваться силой тяги по двигателю. Результаты расчета показывают, что
максимальное тяговое усилие бульдозера Д-521 превышает его сопротивление
движению и, следовательно, применение этого бульдозера при прокладывании
проездов рационально.
4.9.2 Теоретические основы отбора подъемно-транспортных
машин для механизации аварийно-спасательных работ
Задача расчетов
заключается в подборе подъемно-транспортных машин для механизации
аварийно-спасательных работ. Так же требуется определить, подходит ли кран
марки КС -35715 для работ по ликвидации завала. Тактико-технические
характеристики автокрана представлены в приложении Б.
Исходные данные расчетов
принимаются на основе обстановки, в том числе и инженерной. Приведем
дополнительные данные, необходимые для расчета:
масса
груза 2 т (плита 6∙3 [8]);
в соответствии с [5] для
проведения работ по расчистке завалов выбирается автокран с грузоподъемностью
16 т.
расстояние между
выносными опорами крана КС-35715 М=4,4м;
расстояние
от выносной опоры до объекта с1= 1 м [5];
расстояние
от ближайшей к крану точки объекта до груза с2 =5м;
номинальная
грузоподъемность крана КС-35715 (Ивановец) Qкр =16т [9]
расстояние
от оси поворотной платформы до корневого шарнира стрелы с0=0,90 м
[9];
высота
корневого шарнира стрелы над опорной поверхностью h0=1,4 м [9];
высота
объекта (выбирается из расчета максимальной высоты
завала Н0
=1,1 м;
наибольшая
ширина стрелы b=1,0м;
минимально
допустимое расстояние при прохождении груза над объектом;, принимается согласно
требованиям техники безопасности К3 ≥ 0,5
высота
строповой подвески (минимальная для данного груза). hстр=1м;
Первая
операция заключается в предварительном выборе крана по номинальной
грузоподъемности. При этом должно соблюдаться ограничение:
Qкр ≥ Qгр (4.40)
где Qкр - номинальная грузоподъемность крана;
Qгр- масса груза;
Следующая
операция — определение необходимого вылета стрелы крана lтр при котором должна осуществляться
работа с данным грузом.
Значение
lтр определяется из условий размещения
крана по отношению к завалу по номограмме [5]:
lтр = (М/2) + с1 + с2
+ (b/2) (4.41)
где М —
расстояние между выносными опорами крана КС-35715;
с1
— расстояние от выносной
опоры до объекта;
с2
— расстояние от
ближайшей к крану точки объекта до груза;
b — ширина груза составляет 6 м (из расчета высоты колонны одноэтажного промышленного здания).
lтр = (4,4/2) + 1 + 5 + (6/2) = 11м
Далее
определим максимальный вылет стрелы 1мах, при котором может быть
поднят груз массой Qгр. Для этого используется грузовая
характеристика крана, представляющая собой функциональную зависимость Q = (l,L,b)
где l — вылет стрелы;
L — длина стрелы
крана;
b — наибольшая
ширина стрелы.
После
определения lmax производится проверка:
lтр≤lмах (4.42)
11м=11м,
откуда можно сделать
вывод, что длина необходимого вылета стрелы соответствует требованиям.
Можно
переходить к следующей операции — определению допустимого вылета lдоп по условию размещения объекта
(разрушенное сооружение, завал и т. д.) под стрелой крана. Сущность этого условия
состоит в том, что при установке груза в необходимое положение стрела не только
не должна касаться объекта , но между ними должен сохраняться зазор. Рассчитаем
его по формуле
ε ≥0,1-0,15 м. (4.43)
Размер
допустимого вылета, исходя из указанного условия, определяется по формуле:
Lдоп = L(
м (4.44)
где L — длина стрелы крана;
с0
— расстояние от оси
поворотной платформы до корневого шарнира стрелы;
h0
— высота корневого шарнира стрелы над опорной поверхностью;
Н0
— высота объекта (выбирается из расчета максимальной высоты завала;
b - наибольшая
ширина стрелы;
с — расстояние от корневого шарнира
стрелы до объекта,
Определим расстояние от
корневого шарнира стрелы до объекта по формуле:
с = (М/2) - с0 +
с1 (4.45)
с = (4,4/2) - 0,9 + 1 = 2,3 м
lдоп = 11,1 м
Далее
необходимо проверить
lтр ≤ lдоп (4.46)
11 м = 11 м,
что
соответствует требованиям, следовательно, можно перейти к следующей операции.
Далее
определяется высота подъема крюка Нтр. Подвешенный на крюк груз при
повороте крана должен проходить с некоторым запасом над объектом. Необходимая
высота подъема крюка составит:
Нтр
= К3 + hгр
+ hстр, м (4.47)
где К3
— размер запаса
hгр — высота груза (высота плиты
составляет 0,2м );
hстр — высота строповой подвески
(минимальная для данного груза);
Нтр
= К3 + hгр
+ hстр = 0,5 + 0,2 + 1 = 1,7 м
Следующая
операция заключается в определении максимальной высоты подъема крюка Нмах
при вылете стрелы Нтр. Значение Нмах получают из грузовой
характеристики [5]. Нмах = 6,75 м
Далее
производится проверка:
Нтр
≤ Нмах (4.48)
1,7 < 6,75
что соответствует
требованиям, следовательно, можно перейти к следующей операции.
Определение
допустимой по условию размещения груза под стрелой высоты подъема крюка Ндоп
при вылете стрелы lтр.
Значение
допустимой высоты Ндоп находится по формуле:
Ндоп
= Нмах + hстр
-
(4.49)
Ндоп = 6,75 +
1 -
= 7,4 м
Заключительной операцией
является проверка:
Нтр
≤ Ндоп (4.50)
1,7<7,4 м,
что удовлетворяет
условиям.
На основе проведенных
выше расчетов можно сделать вывод, что автокран КС-35715 (Ивановец) в полной
мере соответствует требованиям, возникающим при выполнении данных АСДНР.
4.9.3 Основы отбора экскаваторов для выполнения работ
при ведении аварийно-спасательных работ
Так же
требуется определить, подходит ли экскаватор марки Э-652 для работ по
ликвидации завала. Тактико-технические характеристики экскаватора представлены
в приложении Б.
При
отборе экскаваторов необходимо, чтобы техническая производительность
экскаватора была выше необходимой для выполнения АСДНР нормальной технической
производительности
Пт ≥
[ПТо] (4.51)
ПТо
составляет до 70 м3/ч
Исходные данные расчетов
принимаются на основе обстановки, в том числе и инженерной (см п.3, п 2.1);.
Приведем дополнительные данные, необходимые для расчета:
экскаватор Э-652:
В соответствии с [5] для
проведения работ по расчистке завалов выбирается экскаватор с объемом ковша от
0,65 до 1,25 м3 т.
коэффициент разрыхления; kp = 1,25 для грунта 3 категории [5];
коэффициент наполнения
ковша кн =1,2 [2];
экскаватор колесный SOLAR
210W-V с объемом ковша 1,18 м3:
время разгона ковша tраз =2с;
время торможения ковша tторм= 2 с
Рассчитаем производительность
экскаватора Э-652 с объемом ковша q = 0,65 м3.
Техническая
производительность экскаватора при разработке завала будет зависеть от степени
приспособленности рабочего органа к разработке завала, и рассчитывается по
формуле:
Пт
= n∙q∙Кн/Кр, м3/ч (4.52)
kp - коэффициент разрыхления;
кн -
коэффициент наполнения ковша;
Пт = 65∙0,65∙1,2/1,25
= 48, м3/ч
Производительность
данного экскаватора (Э-652) не соответствует требуемой для данного вида работ
производительности. Следовательно, необходимо подобрать экскаватор с большим
объемом ковша: экскаватор колесный SOLAR 210W-V с объемом ковша 1,18 м3.
Техническая
производительность данного экскаватора составляет:
Пт = 65∙1,18∙1,2/1,25
= 73,6, м3/ч
На основе проведенных
выше расчетов можно сделать вывод, что экскаватор SOLAR 210W-V в полной мере
соответствует требованиям, возникающим при выполнении данных АСДНР.
Определим число циклов
экскаватора за час работы по формуле:
n = 3600/Тц (4.53)
где Тц -
продолжительность одного рабочего цикла при совмещении отдельных операций.
n = 3600/55 = 65.
Продолжительность одного
рабочего цикла рассчитаем по формуле:
Тц = tкоп + tпод + tп + tр + t’п + tоп, с (4.54)
где tкоп — продолжительность копания;
tпод — продолжительность подъема рабочего
оборудования;
tп — продолжительность поворота рабочего оборудования с
загруженным ковшом;
tр — продолжительность разгрузки;
t'п — продолжительность поворота с
порожним ковшом;
tоп — продолжительность опускания рабочего оборудования в забой.
Тц =
15,6 + 15,6 + 4 + 4 + 15,6 = 55, с
Продолжительность копания
рассчитывается по формуле:
tк = lk/Vk, с (4.55)
tк = 7,8/0,5 = 15,6 с
Продолжительность
подъема рабочего оборудования рассчитывается по формуле:
tпод = lпод/vпод, с (4.56)
где lпод — длина пути подъема (определяется
так же, как lкоп), м;
Vпод — скорость подъема рабочего
оборудования, м/с. Составляет 7,8 м/с
tпод = 15,6с
Продолжительность
поворота с груженым ковшом:
Тц =
(φ/ω) + (tраз/2) + (tторм/2) (4.57)
где
φ — угол поворота платформы в плане от положения копания до положения
выгрузки;
ω —
скорость поворота при установившемся движении, рад/с;
tраз — время разгона;
tторм— время торможения.
Продолжительность
поворота с порожним ковшом t'п
определяется аналогично
tп.= t'п= 3 + 1 + 1 = 4с
Продолжительность
опускания рабочего оборудования в забой:
tоп = l’оп/vоп
(4.58)
l’оп —
длина пути опускания рабочего оборудования, м;
vоп — скорость опускания рабочего оборудования, м/с.
tоп = 7,8/0,5 = 15,6 с
После проведения расчетов
производительности спасательной техники, установлено, что она соответствует
условиями выполнения работ по расчистке завалов. Определено, что техники,
которая входит в автопарк завода, достаточно для проведения АСДНР, за
исключением 2 бульдозеров и 2 экскаваторов, которые прибудут с «Туймазинского
завода технического углерода».
4.10
Завершение аварийно-спасательных и других неотложных работ
По завершении
спасательных работ старший спасатель докладывает о результатах работ
руководителю АСДНР. Руководитель АСДНР принимает доклады руководителей работ на
участках о результатах работ (их завершении), уточняет достоверность сведений и
на месте дает указание штабу руководства АСДНР о составлении акта проведения
(завершения) АСДНР и передаче объекта (территории) его руководству. После
составления акта руководитель АСДНР ставит задачу руководителям (старшим) работ
на участках и старшим оперативных групп по выводу сил и средств и возвращению в
места постоянной дислокации.
По прибытии в места
постоянной дислокации руководители (старшие) работ и оперативных групп
докладывают по линии дежурных диспетчерских служб в КЧС (через оперативно -
дежурную службу) о прибытии.
Руководители (старшие)
работ и оперативных групп в двухнедельный срок представляют руководителю АСДНР
отчет о выполненных работах и затратах на выполнение работ.
Размеры ущерба
подсчитываются всеми заинтересованными органами управления, службами,
организациями и предприятиями и представляются в КЧС в 15-дневный срок через
руководителя АСДНР.
Руководитель АСДНР докладывает
в вышестоящий орган управления о завершении и результатах работ и в месячный
срок представляет на рассмотрение Администрации района (органа местного
самоуправления) через КЧС ПБ отчет о выполненных работах, размерах ущерба и
затратах на выполнение АСДНР.
Таким образом, в ходе планирования АСДНР:
-
Разработана технология и порядок проведения аварийно- спасательных и других
неотложных работ в зоне чрезвычайной ситуации.
- Подобрано необходимое количество сил и средств для
локализации и ликвидации аварии:
Все мероприятия нуждаются в значительных материально –
технических затратах, например, техника в горюче – смазочных материалах,
персонал и спасатели в средствах индивидуальной защиты и т.д. Для этих целей
организуется материально – техническое обеспечение.
5 Организация управления ликвидацией ЧС
Управление при ликвидации
чрезвычайных ситуаций заключается в руководстве силами РСЧС при проведении
аварийно-спасательных и других неотложных работ. Главной целью управления
является обеспечение эффективного использования сил и средств различного
предназначения, в результате чего работы в зонах чрезвычайных ситуаций должны
быть выполнены в полном объеме, в кратчайшие сроки, с минимальными потерями
населения и материальных средств.
Для Туймазинского
газоперерабатывающего завода деятельность управления ликвидацией ЧС
организуется в соответствии с Конституцией и федеральными законами РФ, указами
и распоряжениями Президента, постановлениями и распоряжениями Правительства
Российской Федерации, нормативными правовыми актами РБ и Положением о единой
государственной системе предупреждения и ликвидации ЧС (РСЧС).
Основными задачами
организации управления ликвидации ЧС являются:
·
Подготовка вариантов
решений и обеспечение деятельности Комиссии по предупреждению и ликвидации ЧС и
обеспечению пожарной безопасности;
·
организация
планирования и проведения аварийно-спасательных и других неотложных работ;
·
координация
действий территориальных и функциональных подсистем РСЧС;
·
оценка масштабов
ЧС и прогнозирование возможных ее последствий;
·
осуществление
непосредственного руководства по проведению аварийно-спасательных и других
неотложных работ;
·
организация и
поддержание непрерывного взаимодействия с органами управления РСЧС и другими
органами управления сил, привлекаемых к ликвидации ЧС;
·
организация
сбора, анализа, обработки и отображения информации о ЧС;
При возникновении
чрезвычайной ситуации органы управления приводятся в готовность. Приведение в
готовность начинается с оповещения и сбора руководящего состава.
5.1
Оповещение и сбор руководящего состава при возникновении чрезвычайной ситуации
на Туймазинском
газоперерабатывающем
заводе
Место сбора и работы комиссии по предупреждению и ликвидации
чрезвычайных ситуаций и обеспечению пожарной безопасности Туймазинского
газоперерабатывающего завода (КЧС ПБ) - здание бытового помещения, так как
здание заводоуправления получило сильную степень разрушения.
Оповещение руководящего
состава и сотрудников завода проводят секретарь и посыльные по решению штаба
ликвидации ЧС в объеме, необходимом для решения задач по предупреждению и
ликвидации последствий ЧС.
Общее оповещение об остановке, правилах поведения и действиях
населения осуществляется:
• ответственным дежурным Управления по г.Туймазы с использованием
централизованной информационно-оповестительной системы ГО ЧС передачей сигнала
«ВНИМАНИЕ ВСЕМ!»;
• подвижными средствами РОВД, оборудованными звуко -
усилительными установками. Обмен информацией об обстановке между взаимодействующими
органами управления осуществляется через КЧС ПБ и штаба ликвидации ЧС завода.
Связь с вышестоящими и взаимодействующими органами поддерживается и
осуществляется по существующей телефонной сети, телетайпу, факсу, при необходимости,
подвижными средствами и посыльными.
При аварийной ситуации на заводе со значительным выбросом
углеводородных газов обслуживающий персонал немедленно сообщает диспетчеру
завода и начальнику установки, на которой произошла авария. Диспетчер завода
при получении извещения об аварии, извещает лиц и учреждения по списку, который
дается в приложение ПЛАС (см. схему оповещения).
Информация должна быть четкой, краткой и содержать следующие
сведения:
• время аварии;
• место аварии;
• характер и размер аварии;
• наличие пострадавших;
• принятые меры;
• доложивший.
На заводе создана и поддерживается в постоянной готовности к
применению система локального оповещения персонала завода и населения,
проживающего вблизи, о возникновении чрезвычайных ситуаций. Контроль над ее
работой осуществляет КЧС ПБ предприятия.
Система включает: внутреннюю телефонную связь между участками
завода (каждая операторная, рабочие места, представляющие особую опасность в
технологической цепочке) с диспетчером завода и администрацией с прямым выходом
на АТС АНК «Башнефть» и радиотелефонную связь.
Средства обеспечения радиотелефонной связи: 17 радиостанций
мощностью 5 Вт и радиусом действия до 5 км фирмы МОТОRОLА Р-GR-300. Этими радиостанциями оснащены
руководители и основные группы производственного персонала (начальники
участков, главные специалисты, руководство завода, операторы товарно-сырьевых
парков, операторы технологических установок).
Кроме того, на служебных автомобилях директора завода, главного
инженера установлены рации МОТОRОLА GМ-300 мощностью 25 Вт, радиусом действия до 150 км, такая же
базовая станция установлена на АТС завода. На данный момент ПЧ-147 имеет 3
радиостанции марки «Пальма»(у дежурного по части -1 шт. и 2 рации на пожарных машинах).
После оповещения о
возникновении ЧС и сбора руководящего состава проводят мероприятия по
управлению ходом выполнения работ по ликвидации ЧС.
5.2
Структура управления ликвидацией чрезвычайной ситуации на Туймазинском
газоперерабатывающем заводе
Руководство работами по
спасению людей и ликвидации ЧС осуществляет ответственный руководитель работ.
Категорически запрещается вмешиваться в действия ответственного руководителя
работ.
При неправильных
действиях ответственного руководителя работ вышестоящее руководящее лицо имеет
право отстранить его и принять на себя руководство ликвидацией аварии или
назначить для этого другое соответствующее лицо [40].
При развитии аварии
только на территории газофракционирующей установки, без воздействия на смежные
установки и объекты, ответственным руководителем работ является директор
завода, а в его отсутствие – диспетчер предприятия.
Лица, вызываемые для
спасения людей и ликвидации аварии, сообщают о своем прибытии ответственному
руководителю работ и по его указанию приступают к выполнению своих
обязанностей.
Непосредственное
руководство ведением спасательных работ осуществляется (по указанию
ответственного руководителя) командиром газоспасательного пункта. До его
прибытия на место аварии эти обязанности выполняет старший машинист.
Непосредственное
руководство по тушению пожара осуществляется начальником пожарной части. До его
прибытия на место пожара эти обязанности выполняет командир дежурного
подразделения пожарной части.
По прибытии на место ЧС
ответственный руководитель обязан:
- оценить обстановку,
выявить число и место нахождения людей, застигнутых аварией, принять меры по
оповещению должностных лиц предприятия и аварийных служб;
- сообщить о месте
расположения органа управления по локализации аварии;
- уточнить и
прогнозировать ход развития аварии, при необходимости вносить корректировку в
оперативную часть плана;
-обеспечить оцепление
опасной зоны;
- ограничить допуск людей
и транспортных средств в опасную зону;
- руководить действиями
персонала предприятия, газоспасательных, пожарных, и медицинских подразделений
по спасению людей, локализации и ликвидации аварии;
- информировать
соответствующие вышестоящие организации о характере аварии и ходе её
ликвидации, наличии и состоянии пострадавших.
Ниже приведен рисунок 5.2
схема системы управления ликвидации аварийных ситуаций и ведении спасательных
работ на Туймазинском газоперерабатывающем заводе.
Управление работами по
ликвидации ЧС начинается с момента возникновения ЧС и завершается после ее
ликвидации. Управление осуществляется по циклам, каждый из которых включает:
1) сбор данных об обстановке;
2) анализ и оценка обстановки;
3) подготовку предложений и выводов для
решения на проведение работ;
4) принятие решения и доведение до
исполнителей;
5) организацию взаимодействия;
6) обеспечению действий сил и средств по
ликвидации последствий ЧС.
Обстановку в полном
объеме анализирует руководитель ликвидации чрезвычайной ситуации, его
заместители (помощники), а также другие должностные лица – каждый в пределах
своей компетенции и ответственности.
Обстановка анализируется по элементам, основными из которых
являются:
1) характер и масштаб развития
чрезвычайной ситуации, степень опасности для производственного персонала,
границы поражающих зон;
2) виды, объемы и условия неотложных
работ;
3) потребность в силах и средствах для
проведения аварийно-спасательных работ в возможно короткие сроки;
4)
количество,
укомплектованность, обеспеченность и готовность к действиям сил и средств,
последовательность их ввода в зону ЧС для выполнения работ.
В процессе анализа данных обстановки специалисты сопоставляют
потребности в силах и средствах для проведения работ с их наличием и
возможностями, производят расчеты, анализируют варианты их использования и
выбирают наилучший (реальный). Выводы из оценки обстановки и предложения по
использованию сил и средств докладываются руководителю ликвидации чрезвычайной
ситуации, предложения специалистов обобщаются и используются в процессе
принятия решений.
Решение на проведение АСДНР
в зоне чрезвычайной ситуации является основой управления, его принимает и
организует выполнение руководитель ликвидации чрезвычайной ситуации (директор
предприятия).
Решение включает
следующие основные элементы:
1) краткие выводы из оценки обстановки;
2) замысел действий;
3) задачи подчиненным формированиям,
частям и подразделениям;
4) меры безопасности;
5) организацию взаимодействия;
6) обеспечение действий формирований.
Краткие выводы из оценки
обстановки содержат основные сведения о характере и масштабах ЧС, объемах
предстоящих работ и условиях их проведения, имеющихся силах и средствах и их
возможностях.
В замысле действий
отражаются цели, стоящие перед данным органом управления и его силами, главные
задачи и последовательность проведения работ, участки сосредоточения основных
усилий, порядок создания группировки сил и средств.
Задачи руководителям
подчиненных органов управления и их формированиям определяют старшие начальники
в зависимости от их возможностей и развития обстановки. При постановке задачи
указываются район работ, силы и средства, последовательность и сроки проведения
работ, объекты сосредоточения основных усилий, порядок использования
технических средств, меры безопасности и обеспечения непрерывности работ [51].
Взаимодействие между подчиненными
подразделениями, между ними и специальными подразделениями других ведомств
организуется при принятии решения и осуществляется в ходе работ при ликвидации
рассматриваемой чрезвычайной ситуации.
При организации
взаимодействия:
1) уточняются границы объектов работ
каждого формирования;
2) устанавливается порядок действий на
смежных объектах, особенно при выполнении работ, которые представляют опасность
для соседей или влияют на их работу;
3) согласовывается по времени и месту
сосредоточение усилий при совместном выполнении особо важных и сложных работ;
4)
определяется
система обмена данными об изменении обстановки и результатах работ на смежных
участках.
Обеспечение действий сил и средств в районах ведения работ
организуется с целью создания им необходимых условий для успешного выполнения
поставленных задач. Основными видами обеспечения являются:
разведка, транспортное, инженерное, метеорологическое,
техническое, материальное и медицинское. Непосредственное руководство
обеспечением действий сил и использованием специальных средств осуществляют
начальники служб и должностные лица органов управления в соответствии с их
обязанностями [41].
5.3
Решение председателя комиссии по чрезвычайным ситуациям и обеспечению пожарной
безопасности – директора ТГПЗ при ликвидации чрезвычайной ситуации
1. Краткие выводы из
оценки обстановки:
В 15 часов 30 минут 15
июля 2005 года на газофракционирующей установке ТГПЗ произошла разгерметизация
емкости, содержащей 5,7 тонн сжиженного пропана. В результате аварии жидкая
фаза вылилась на подстилающую поверхность, а парогазовая фаза, мгновенно
испарившись, образовала взрывоопасное облако. Произошел взрыв и пожар пролива.
Границы зон поражений
затрагивают смежные объекты предприятия, но не выходят за его границы,
аварийную ситуацию считать локального (объектового) характера.
В результате ЧС
предположительно 117 человек попадают в зону поражения.
В результате аварии
разрушена одна емкость, площадь пожара пролива на подстилающей поверхности
составляет примерно 1000 м2.
В зоне чрезвычайной
ситуации с 15.35 ведут работы силы постоянной готовности:
1)
группа разведки -
3 человека;
2)
звено связи - 2
человека;
3)
противопожарная
команда ПЧ-147 - 53 человека;
4)
газоспасательный
отряд – 10 человек;
5) служба военизированной охраны - 32
человека.
6)
группа
медицинской помощи – 27 человек.
7) работники электроцеха – 8 человек;
8) группа материально-технического
обеспечения – 16 человек;
9) ремонтно – восстановительная бригада
– 12 человек;
10)
водители – 9
человек.
2. Замысел действий.
Первоочередными задачами,
при ведении аварийно-спасательных работ считать:
1)
Спасение и
эвакуацию из опасной зоны персонала предприятия, оказание пострадавшим первой
медицинской помощи;
2)
Проведение
мероприятий, направленных на предотвращение дальнейшего развития ЧС;
3)
Проведение
мероприятий, направленных на безопасное проведение АСДНР;
4)
Локализация и
ликвидация пожара;
5)
отключить смежные
установки и объекты от дефектного участка, путем перекрытия задвижек.
Обеспечить аварийный сброс газообразных и парообразных углеводородов в
факельную сеть, перекачку продукта из горящего блока в товарно-сырьевой парк;
6)
Пожарным
формированиям обеспечить ограничение распространения пожара на большую площадь
и соседние объекты, принять меры к снижению воздействия теплового излучения от
пожара на смежные конструкции, посредством их орошения из стационарных лафетных
стволов;
7)
Оборудование
земляного обвалования для ограничения растекания горящей жидкости;
8)
Проведение пенной
атаки на слой горючего в обваловании до прекращения горения;
9)
Восстановление
безопасного функционирования предприятия. Проведение аварийно-восстановительных
работ.
Мероприятия проводить в
последовательности: поиск пострадавших, оказание им первой медицинской помощи, подготовка
к безопасному ведению действий по тушению пожара, локализация и тушение пожара,
восстановление функционирования объекта в нормальном режиме.
3. Задачи подчиненным
формированиям.
К 15.35 часам:
а) начальнику штаба ликвидации
ЧС провести оценку обстановки и провести конкретные мероприятия по обеспечению
спасательных работ и безаварийной работы структурных подразделений завода,
организовать разведку.
б) начальнику
противопожарной службы привести в готовность пожарную часть ПЧ-147;
- определить масштабы и объем работ по
локализации пожара;
- провести орошение горящего и соседних
резервуаров;
-
оборудовать земляное обвалование;
-
провести пенную атаку в
обваловании, для локализации пожара пролива;
-
организовать охлаждение
конструкции системы трубопроводов, другой арматуры установки и объектов,
находящихся под воздействием теплового излучения пожара;
-
оказать помощь пострадавшим,
организовать спасение персонала;
- при необходимости вызвать дополнительные
силы через диспетчера;
К 15.40 часам:
а) начальнику газоспасательного отряда
привести в готовность отряд:
-
определить загазованность
территории, на возможность образования повторных взрывов и дополнительных
очагов пожара;
-
проведение химической разведки на
наличие опасных веществ;
-
организовывать спасение
пострадавших и оказание первой медицинской помощи до прибытия медицинской
сандружины;
-
оказать содействие пожарным
формированиям в ведении боевых действий по тушению пожара;
- дать указания военизированной охране на
оцепление загазованной зоны и показать направление вывода людей;
- постоянно информировать диспетчера о
складывающейся обстановке.
б) начальнику службы оповещения и связи организовать
связь с местом аварии и руководителем ликвидации аварии. При нарушении
стационарных систем связи принять меры к восстановлению поврежденных участков.
К 15.45 часам:
а) начальнику медицинской
службы привести в готовность врачебно-сестринские бригады, довести информацию о
сложившейся на предприятии обстановке, до дежурного врача больницы №1
г.Туймазы:
- развернуть пункт сбора
пораженных (в медсанчасти), привести в готовности к приему пострадавших;
- оказать неотложную
медицинскую помощь пострадавшим на пункте сбора пораженных силами бригад скорой
медицинской и специализированной медицинской помощи;
- обеспечить доставку
необходимых медикаментов;
- провести эвакуацию
пострадавших в больницу №1 г. Туймазы, для чего подготовить в них необходимое
количество койко-мест;
б) начальнику службы
военизированной охраны объекта:
- усилить пропускной
режим на объект;
- организовать
беспрепятственный проезд к месту чрезвычайной ситуации сил и средств, задействованных
в локализации и ликвидации ЧС;
-оцепить место аварии и
зону загазованности, не допуская в указанные места посторонних лиц;
- организовать вывод людей из зоны заражения,
обозначить направление выхода.
в) начальнику смены парка
организовать работу цехов, подвергаемых ЧС:
- прекратить прием в цех
сырья;
- произвести откачку
продукта из дефектных емкостей в резервные, находящиеся вне зоны поражения;
г) начальнику электроцеха
– обесточить горящий участок установки, обеспечить бесперебойное освещение
места работ;
К 15.50 часам председателю эвакуационной комиссии
привести в готовность эвакуационную комиссию объекта, уточнить маршруты и места
вывода работающей смены завода, быть в готовности к проведению экстренной
эвакуации;
К 15.55 часам начальнику
транспортного цеха организовать вывоз рабочего персонала, не участвующего в
ликвидации аварии, с территории предприятия, с целью предотвращения поражения
большего количества людей, перевести цех на круглосуточную работу
Я
нахожусь в здании бытового помещения ТГПЗ.
5.4
Организация взаимодействия сил ликвидации чрезвычайной ситуации
Для ликвидации аварии на
ТГПЗ необходимо рассмотрение вопроса взаимодействия сил объекта и сил формирований
РСЧС г.Туймазы. Данные формирования привлекаются в случае недостаточной
оснащенности силами и средствами сил Туймазинского газоперерабатывающего завода
при ликвидации ЧС.
Для ликвидации пожара осуществляется
взаимодействие с силами пожарных частей города Туймазы. В зону чрезвычайной
ситуации на ТГПЗ привлекаются согласно «Плану пожаротушения» формирования
ПЧ-48, ПЧ-146, ПЧ-144.
При возникновении ЧС на ТГПЗ привлекается бригады
скорой медицинской помощи больницы №1 г. Туймазы для оказания медицинской
помощи пострадавшим и их дальнейшей эвакуации в лечебные учреждения.
Основой управления и
организации взаимодействия является решение руководителя ликвидации чрезвычайной ситуации - директора
Туймазинского газоперерабатывающего завода на проведение спасательных и других
неотложных работ в зоне чрезвычайной ситуации.
6
ОБЕСПЕЧЕНИЕ БЕЗОПАСНОСТИ ПРОВЕДЕНИЯ АВАРИЙНО-СПАСАТЕЛЬНЫХ И ДРУГИХ НЕОТЛОЖНЫХ
РАБОТ
Конституцией РФ
установлена приоритетность задач спасения жизни и сохранения здоровья людей, в
том числе при возникновении ЧС. В этом же заключается главный принцип
деятельности аварийно-спасательных служб, аварийно-спасательных формирований и
спасателей. При проведении спасательных работ возникает угроза жизни и здоровью
спасателей, т.к. работа спасателей в зоне ЧС связана с большой физической и
психологической нагрузкой, воздействием неблагоприятных факторов внешней среды.
Поэтому организация аварийно-спасательных и других неотложных работ (АСДНР) в
зоне ЧС предполагает наличие условий для обеспечения безопасности, как самих
спасателей, так и других участников ликвидации последствий ЧС, что
обеспечивается специальной подготовкой, экипировкой и оснащением.
Целью данного раздела
является анализ обеспечения безопасности личного состава формирований при
выполнении АСДНР в условиях массовых разрушений, пожаров, аварий на сетях коммунально-энергетического
хозяйства.
Задачами раздела
являются:
-
обеспечение защиты
труда спасателей, (в соответствии с Федеральным законом «Об
аварийно-спасательных службах и статусе спасателей» от 22 августа 1995 г.
№151-ФЗ);
-
идентификация и
анализ поражающих, вредных и опасных факторов при катастрофическом затоплении;
-
мероприятия по
обеспечению безопасности ведения АСДНР.
6.1 Идентификация и анализ поражающих, опасных и вредных
факторов в зоне чрезвычайной ситуации
При аварии на
газофракционирующей установке газоперерабатывающего завода, сопровождающейся
взрывом и пожаром пролива, на рабочий персонал Туймазинского
газоперерабатывающего завода и спасателей, работающих в зоне ЧС, согласно ГОСТ
Р 22.0.07 – 95 «Безопасность в чрезвычайных ситуациях. Источники техногенных
чрезвычайных ситуаций. Классификация и номенклатура поражающих факторов и их
параметров» [42] действуют следующие поражающие факторы:
Первичные поражающие факторы пожара пролива и взрыва:
1)
воздушная ударная
волна взрыва;
2)
тепловое
излучение пожара пролива;
3)
обломки, осколки
взорвавшейся емкости;
Вторичные поражающие факторы пожара и взрыва:
1)
осколки, обломки
разрушенных аппаратов, агрегатов, установок, строительных конструкций, зданий и
сооружений;
2)
токсическое
действие веществ, вышедших из разрушенных аппаратов и установок;
3)
токсическое
действие продуктов горения;
4)
поражающие
факторы пожаров и взрывов, возникающих вследствие разрушения резервуаров с
перегретой жидкостью, нарушения электропроводки.
Согласно ГОСТ 12.0.003-74 опасные и вредные
производственные факторы по природе действия подразделяются на химические,
физические, биологические и психофизиологические.
К физическим опасным и вредным факторам при проведении
АСДНР на газоперерабатывающем заводе относятся [43]:
1)
движущиеся машины
и механизмы, разрушающиеся конструкции;
2)
повышенная
запыленность и загазованность воздуха рабочей зоны;
3)
повышенная и
пониженная температура поверхностей оборудования, материалов;
4)
повышенная
температура воздуха рабочей зоны;
5)
недостаточная
освещенность рабочей зоны.
Из химических опасных и вредных производственных
факторов во время проведения АСДНР на личный состав воздействуют токсические
факторы через органы дыхания и слизистые оболочки (дым, продукты горения).
Психофизиологические опасные и вредные производственные
факторы по характеру действия подразделяются на:
а) физические перегрузки (статические и динамические);
б) нервно-психические перегрузки (эмоциональные
перегрузки).
Воздействие биологических факторов при данной ЧС не
рассматривается.
6.2
Меры безопасности при работах по тушению пожаров на объектах
нефтегазоперерабатывающей отрасли
При пожаре на объектах
нефтегазоперерабатывающей отрасли могут возникнуть опасные ситуации, которые
потребуют от личного состава соблюдения особой предосторожности.
Горение СУГ может
считаться локализованным, когда ограничена площадь разлива и прекращено
поступление продукта на аварийный участок, за счет орошения горящего резервуара
и находящееся под его тепловым воздействием оборудования предотвращается угроза
дальнейшего развития пожара и обеспечивается контролируемое выгорание продукта
на аварийном участке.
При тушении пожара на
установке могут возникнуть следующие опасные ситуации:
В резервуаре высота
светящейся части факела может достигать до 40 метров. При скорости ветра более
4 м/с отклонение факела от вертикальной оси составляет 600 - 700.
При перегревании жидкости
возможны вскипания и выбросы. Выброс и вскипания можно определить по внешним
признакам:
-
усиление горения;
-
изменение цвета
пламени;
-
усиление шума при
горении;
-
могут наблюдаться
отдельные потрескивания (хлопки);
-
появление
вибрации стенок резервуара, особенно верхних поясов, т.е. может произойти взрыв
резервуара.
Чтобы избежать несчастных
случаев попадания в опасную зону необходимо:
- К аварийной установке
или резервуару подъезжать с наветренной стороны. Пожарную технику устанавливать
не ближе 100-120 метров от горящего резервуара или установки.
- Личный состав,
участвующий в тушении пожара, должен иметь изолирующие противогазы. Те, кто не
участвуют в тушении пожара, должны быть удалены из опасной зоны. Избегать
скопления большого количества людей на позициях стволов. Следует чаще
производить замену личного состава при наличии трудоемких работ на позиции.
- По периметру опасной
зоны должны выставляться посты безопасности. Постами должен руководить
ответственный за технику безопасности на пожаре.
- Устанавливать
противопожарную технику с учетом рельефа местности и направления ветра. Она
должна располагаться выше места пожара по течению реки. При горении
нефтепродуктов в наземных резервуарах и особенно жидкостей, способных к
выбросу, противопожарную технику расставлять с учетом направления возможного
разлива жидкости и положения зоны задымления.
- В процессе подготовки к
тушению пожара необходимо назначить наблюдателей за поведением горящего и
соседнего резервуаров. При угрозе выброса, вскипания, разрушения резервуара,
личный состав должен знать сигналы на отход и пути отхода из опасной зоны.
- Нахождение личного
состава на крышах наземных резервуаров и крытых железобетонных резервуаров не
допускается. В исключительных случаях с разрешения оперативного штаба тушения
пожара допускается пребывание на крышах резервуаров лиц, специально
проинструктированных для выполнения работ по защите дыхательной и другой
арматуры от теплового излучения.
- При проведении
вскрышных работ ниже уровня горючей жидкости (разгерметизация люк-лаза) для
отвода нефтепродукта из горящего резервуара по заранее вырытой траншее в другую
емкость необходимо соблюдать следующие меры безопасности:
а) удалить прогретый слой
жидкости в резервуаре;
б) на случай загорания
вытекающего из отверстия нефтепродукта подготовить ручные стволы пенного
тушения;
в) обозначить контуры
траншеи и ограничить пребывание людей в этой зоне.
- При тушении пожара
необходимо учитывать влияние теплового излучения на человека. Личный состав
должен быть обеспечен теплоотражательными костюмами или надежной защитой
распыленными струями воды.
- При подвозке песка
самосвалами и работе бульдозеров назначаются наблюдатели для контроля за
работой транспортной и землеройной техники с тем, чтобы она не повреждала
рукавные линии, трубопроводы, нефтепроводы и т.п. [44].
Для обеспечения защиты
спасателей и других участников ликвидации последствий пожара пролива пропана
используются спецодежда, спецобувь
и предохранительные
приспособления (пневмокостюмы типа ЛГ, респираторы РПГ-67 с патронами марки
“А”; промышленные противогазы с
маркой коробки “A”,
“A8”, коричневого цвета; пневмошлемы; рукавицы; перчатки марки, каски защитные;
очки защитные марки; предохранительные пояса; тросы). Необходимо иметь запас
кислорода и медицинского имущества для оказания неотложной помощи при
отравлении оксидом углерода [48].
6.3
Меры безопасности при проведении работ в завалах
При выполнении АСДНР в условиях беспорядочного нагромождения
обломков в завалах, вероятности обрушения отдельных элементов поврежденных
конструкций, задымления и загазованности территории возможны человеческие
жертвы и травмы, если не принять специальных мер предосторожности. Поэтому при
подготовке формирований гражданской обороны уделяют внимание изучению личным
составом безопасных приемов и способов ведения спасательных работ на территории
предприятия с учетом специфики производства, а в ходе работ - строгому
соблюдению мер безопасности.
Необходимо проводить специальный инструктаж по мерам
безопасности с каждой группой формирования. Его проводят специалисты
предприятия и служб гражданской обороны, назначенные руководителями работ.
Одновременно с постановкой задач на выполнение работ руководитель напоминает о
мерах безопасности.
При наличии на территории газовых, водопроводных,
электрических и других коммунально-энергетических сетей действия формирований
согласовываются с представителями соответствующих служб и организаций.
Личный состав формирований, участвующий в работах по
обрушению конструкций и разборке завалов, должен быть одет в специальную одежду
из плотной ткани, иметь закрытую обувь, брезентовые рукавицы, а также каски с
мягкими подшлемниками.
При разборке завала элементы зданий, угрожающие обвалом,
необходимо временно укрепить. Не разрешается устраивать лазы-проходы в завалах без
установки креплений.
При ведении аварийных работ на водопроводно-канализационной
сети участки, требующие ремонта, отключают. Если, этого сделать нельзя,
используют водоотливные средства для откачки воды на месте аварии и принимают
меры по предотвращению размыва и обрушения грунта.
Работы на загазованных участках личный состав формирований
выполняет в индивидуальных средствах защиты. Наличие газа в подвалах, колодцах,
коллекторах и других сооружениях подземного типа определяют только специальными
приборами-газоанализаторами [17].
При разборке завалов
необходимы следующие меры безопасности:
1)
строго соблюдать
условия техники безопасности, установленные для данного вида деятельности;
2)
все спасатели,
привлеченные на разборку завалов должны работать в удобной одежде, на голову
обязательно надевается каска;
3)
необходимо вести
тщательное наблюдение за состоянием и устойчивостью конструкций и крупных
элементов завала, при возникновении трещин, просадок и других деформаций
необходимо немедленно остановиться и вывести людей из опасной зоны;
4)
необходимо
обрушить или укрепить неустойчивые конструкции поврежденных зданий;
5)
запрещается
устраивать лазы-проходы в завалах без установки креплений;
6)
машины (краны и
экскаваторы), применяемые при разборе завалов, размещают на площадках,
расчищенных от обвалившихся строительных конструкций.
При передвижении в непосредственной близости от завала
особое внимание следует уделять уцелевшим фрагментам строений, поскольку они
представляют собой повышенную опасность. Это связано с возможностью их
внезапного обрушения.
При движении по
поверхности завала выбирают оптимальный и безопасный маршрут. Особое внимание
уделяют выбору места постановки ног. Наступать нужно только на надежно лежащие
предметы. В ряде случаев следует убрать с дороги остатки строений, доски,
трубы, арматуру.
Передвигаться в условиях
завала, заходить в разрушенные здания, находиться вблизи них без необходимости
нельзя [38].
6.4 Меры безопасности при
работах в условиях плохой видимости
Аварийно-спасательные и
другие неотложные работы, как правило, ведутся круглосуточно, требуют освещения
в темное время.
При выполнении работ в
ночное время требуется освещать участки работ, обозначать условными световыми
знаками или сигналами зоны возможных обвалов и другие участки, опасные для
прохода и движения транспорта. Временные пути выдвижения транспорта (проезды)
должны иметь аварийное освещение и соответствующие световые условные знаки на
поворотах, разъездах и местах стоянок.
Для этого наиболее удобны
источники направленного заливающего света различного типа. Кроме светильников и
прожекторов можно использовать мощные осветительные лампы. С этой целью по
периметру места работы на расстоянии 20-30 м. они подвешиваются на столбах или кронштейнах.
Для питания светильников
электроэнергией используют передвижные электростанции или подключает к линиям
электропередач, которые не нуждаются в отключении. Для кратковременного
освещения можно пользоваться светом зажженных фар автомобилей, тракторов,
тягачей.
Если существующую
осветительную сеть использовать невозможно, участок (объект) работы освещают
переносными светильниками или прожекторами. В этом случае электропитание
осуществляется от передвижных электростанций. При выполнении работ в
поврежденных зданиях и сооружениях, где устройство аварийного освещения нецелесообразно
или затруднительно, рекомендуется применять аккумуляторные фонари.
Соблюдение мер
безопасности личным составом формирований при ведении
аварийно-восстановительных работ позволит избежать травм, что, несомненно,
облегчит работу медицинскому персоналу, усилия которых будут сосредоточены на
оказание помощи пострадавшему населению в результате данной чрезвычайной
ситуации [38].
6.5
Выбор методов и средств индивидуальной защиты спасателей
В целях обеспечения защиты, спасатели и другие участники
ликвидации последствий аварии с нефтепродуктами, выполняющие аварийные работы в
зоне пожара и горючих газов, снабжаются средствами индивидуальной защиты (СИЗ).
Средства индивидуальной защиты классифицируется в
основном в зависимости от защищаемых видов органов (СИЗ органов дыхания, рук,
головы, лица, глаз, слуха и т.д.) [5].
При тушении пожара СИЗ входит в комплект снаряжения
пожарного (боевая одежда пожарного, пожарный спасательный пояс, пожарная каска,
средства индивидуальной защиты органов зрения и органов дыхания пожарного,
специальная пожарная обувь, средства защиты рук, средство локальной защиты и
теплоотражательный комплект).
В целях обеспечения
эффективной стабильной работоспособности и сохранения здоровья личного состава
при использовании средств индивидуальной защиты временного действия командир
подразделения обязан: оценить обстановку, характер и тяжесть труда, условия
отдыха; определить СИЗ и время их защитного действия; установить режим работы;
организовать контроль за продолжительностью непрерывной работы в средствах
защиты, своевременную смену и отдых личного состава; замену СИЗ, выработавших
защитный ресурс.
Защита личного состава
формирований РСЧС при ведении АСДНР на газоперерабатывающем заводе, помимо
неуклонного соблюдения им общих требований безопасности, должна обеспечиваться:
1)
использованием
средств индивидуальной защиты (СИЗ);
2)
строгим
соблюдением режима труда и отдыха с учетом характера труда и времени защитного
действия СИЗ;
3)
организацией
медицинского контроля за состоянием здоровья спасателей в ходе ведения работ и
быстрым оказанием (в случаях необходимости) требуемой медицинской помощи [5].
Порядок пересменки и
режима труда зависит от тяжести выполняемых работ и температуры окружающей
зимы.
В ликвидации аварии
задействованы 179 человек, из них 107 человек – выполняют тяжелые работы, и 72
человека – работы средней степени тяжести.
Тяжелые работы
продолжаются в течении 10 – 20 минут при тушении пожара, следовательно при
температуре окружающей среды формированиям потребуется по 1 комплекту СИЗ на
человека – 107 противогазов и защитных теплоотражательных костюмов.
Работы средней тяжести
включают аварийно – восстановительные и другие неотложные работы, на данном
объекте они продолжаются в течении 3 суток. При режиме труда в две смены по 5
часов и по 10 часов в сутки, количество смен составит 2, при этом через каждые
40 минут работы необходимо делать 10 минут перерыв на отдых. Для каждой смены
рабочих необходимо предусмотреть сменный комплект СИЗ, следовательно для 72
человек работающих в две смены в течении 1 суток потребуется использование 72
комплектов
Таким образом, высокая
работоспособность и сохранение здоровья спасателей в ходе работ достигается
применением СИЗ, разработкой и внедрением оптимальных типовых режимов работы
спасателей, четким соблюдением режимов труда и отдыха, а также общих мер
безопасности в зоне чрезвычайной ситуации.
Личный состав пожарной
охраны, обеспечивающий подачу огнетушащих веществ на тушение и охлаждение
резервуаров, должен работать в теплоотражательных костюмах, а при необходимости
- под прикрытием распыленных водяных струй. При работе с пенообразователем или
его раствором личный состав должен быть обеспечен защитными очками или щитками.
6.6
Защита труда спасателя: страховые гарантии, оплата труда, социальная защита
членов семей
Основные положения по охране труда спасателя и его
социальной защите изложены в Конституции РФ и РБ, Федеральном законе «Об
аварийно-спасательных службах и статусе спасателей» от 22 августа 1995 г.
№151-ФЗ.
При приеме на должность спасателя заключается трудовой
договор, в котором закрепляются: условия и режим работы, условия и порядок
оплаты труда, социальные гарантии и льготы, неукоснительное соблюдение приказов
руководства на дежурстве и проведении операций. Трудовой договор и контракт
могут быть расторгнуты администрацией при однократном отказе от выполнения
работ по ликвидации ЧС [61].
Из прав спасателей по безопасности работ можно выделить
следующие:
·
право на
внеочередное приобретение билетов на все виды транспорта при следовании к месту
проведения работ, все органы государственной власти должны содействовать
движению спасателей к месту ЧС.
·
право на полную
достоверную информацию для выполнения своих обязанностей, беспрепятственный
проход на территорию организаций, промышленных объектов, а также жилых
помещений для проведения работ;
·
право на
экипировку и оснащение в соответствии с видом работ;
·
право для
спасения людей и в случае крайней необходимости использовать транспорт, связь и
другие материалы и средства организаций в зоне ЧС;
·
право на
бесплатную медицинскую и психологическую реабилитацию;
·
право на
повышение теоретических знаний и профессионального мастерства в рабочее время и
в установленном порядке;
·
право на
бесплатное питание при несении дежурства;
·
право на
бесплатное медицинское обследование, на выплаты в размере среднемесячной оплаты
труда и льготное пенсионное обеспечение в том случае, если пострадали в ходе
работ по ликвидации ЧС.
Режим труда и отдыха. В повседневной деятельности режим
работы или службы определяется правилами внутреннего трудового распорядка,
графиками дежурств и расписанием мероприятий. В то же время режим дня и
рабочего года определяется действующими медицинскими требованиями и санитарно-гигиеническими
нормами. Время дежурства спасателя на дому учитывается как ¼ от
дежурства. При проведении работ по ликвидации ЧС режим работы и длительность
трудового дня могут быть изменены руководителем с учетом характера ЧС,
особенностей проведения работ. Спасатели обеспечиваются ежегодным отпуском: при
непрерывном стаже работы на должности спасателя до 10 лет – 30 суток, более 10
лет – 35 суток, более 15 лет – 40 суток. Кроме этого, за участие в работах по
ликвидации ЧС предоставляется дополнительный отпуск, но не более 15 суток, из
расчета одни сутки за 24 часа работы. Нештатным и добровольным спасателям
вместо дополнительного отпуска может выделяться денежная компенсация [61].
Заработная плата, оплата труда спасателей производится
по трудовому договору, но их размеры не могут быть ниже размеров заработной
платы работников ведущих рабочих специальностей.
Страховые гарантии. Спасатели подлежат обязательному
личному страхованию [61]. Страхование производится при назначении на должность
спасателя, а также в случае привлечения к проведению работ по ликвидации ЧС в
индивидуальном порядке, либо в состав нештатных формирований.
Страховыми событиями для спасателя являются: смерть или
гибель при исполнении ими обязанностей, возложенных трудовым договором; смерть
из-за увечий, ран, контузий, заболевания, полученных в период и в связи с
выполнением обязанностей; потеря трудоспособности, наступившая как следствие
исполнения обязанностей.
В данном разделе
рассмотрены вопросы обеспечения безопасности и участников ликвидации аварии на
основных этапах работ. Но, несмотря на предпринятые меры безопасности, нельзя
исключать возможность возникновение несчастных случаев, получение травм, ожогов
и других повреждений, как населения, так и участников тушения пожара. В связи с
этим необходимо своевременное оказание первой помощи. Вопросы организации и
оказания первой медицинской помощи рассмотрены в разделе 7.
7 Обеспечение медицинской помощи и
психологической устойчивости при возникновении чрезвычайной ситуации на
Туймазинском газоперерабатывающем заводе
В данном разделе
рассматриваются основные принципы оказания первой медицинской, доврачебной и
психологической помощи пострадавшим в зависимости от поражающих факторов
сложившейся чрезвычайной ситуации на Туймазинском газоперерабатывающем заводе.
Первая медицинская помощь
– это комплекс медицинских мероприятий по спасению жизни пострадавших,
предупреждению или уменьшению тяжелых осложнений и выполняемых на месте
поражения.
7.1 Организация обеспечения медицинской
помощи
По расчетам, приведенным в разделе 4, общее количество
погибших равно 30 человек, санитарные потери – 57 человек.
Определим структуру вероятных санитарных потерь:
- пораженные с легкой степенью тяжести 40% - 21 человек;
- средней тяжести 20% - 12 человек;
- с тяжелой степенью тяжести 20% - 12 человек;
- с крайне тяжелой степенью 20% - 12 человек.
Количество отрядов первой
медицинской помощи (ПМП), численность врачей и среднего медицинского персонала,
общая численность личного состава для отрядов ПМП определяются:
n пмп = Nсп /100 = 67/100 = 0,67 ед; (7.1)
Принимаем, что
потребуется 1 отряд ПМП, но учитывая количество пострадавших расчеты персонала
отряда будут проводится для значения.
Nвр =8· n пмп = 8·0,67= 5, чел.; (7.2)
Nпмп= 46· n пмп= 46·0,67=30 , чел. (7.3)
где Nсп - численность санитарных потерь;
Nвр -
численность врачей;
Nпмп-
общая численность личного состава отрядов первой медицинской помощи.
На территории объекта
имеется санитарный пост, состоящий из 3 формирований по 9 человек, недостающий
персонал врачей прибывает из больницы №1 г.Туймазы. Непосредственно в очаге
поражения организуется: спасение пострадавших, их медицинская сортировка; оказание
первой медицинской и первой врачебной помощи пораженным и больным;
осуществление эвакуации в лечебные учреждения и лечение, а в расположенных за
пределами очага лечебных учреждениях оказывается квалифицированная и
специализированная медицинская помощь. Пострадавших определяют в больницу № 1
г.Туймазы .
7.2
Анализ воздействия поражающих, опасных и вредных факторов, возникающих при
взрыве и пожаре пролива на Туймазинском газоперерабатывающем заводе, на
организм человека
Основными поражающими факторами, воздействующими
на людей при взрыве пропана и пожаре пролива, являются:
1. Ударная волна.
Ударная
волна возникает при взрыве в результате мгновенного сжатия окружающего воздуха,
которое со сверхзвуковой скоростью распространяется во все стороны от центров
взрыва. Основным параметром ударной волны, характеризующим ее разрушающее
действие, является максимальное избыточное давление во фронте ударной волны.
Степень
и характер поражения, производимых ударной волной, зависят от мощности взрыва,
расстояния от центра взрыва до объекта, характера и прочности сооружений,
рельефа местности.
Таблица
7.1 – Степень поражения человека в зависимости от избыточного давления
| Уровень поражения |
Избыточное давление, кПа |
| 1 |
2 |
|
Поражение 1 степени
оглушение, понижение слуха,
головокружение, расстройство речи, разрывы барабанных перепонок, небольшое
кровоизлияние в легкие
|
20 |
| 1 |
2 |
|
Поражение 2 степени
Общее сотрясение организма,
болезненный удар по голове, кровоизлияние в легкие, гиперемия мозга, переломы
ребер
|
50 |
|
Поражение 3 степени
Контузии
|
70 |
|
Поражение 4 степени
Переломы ребер, гиперемия
сосудов, мягкой мозговой оболочки
|
100-150 |
| Летальный исход |
300 |
2. Тепловое излучение
пожара пролива и пожаров зданий и сооружений.
Воздействие
теплового излучения вызывает у человека ожоги различной степени тяжести.
Уровень воздействия теплового излучения зависит от расстояния, на котором
происходит воздействие поражающего фактора теплового излучения пламени на
объект и определяется в зависимости от критических величин интенсивности
теплового излучения, приведенных в таблице 7.2.
Таблица
7.2 - Зависимости от критических величин интенсивности теплового излучения
| Степень травмирования |
Интенсивность
теплового излучения
q , кВт/м2
|
| Ожоги III степени |
49 |
| Ожоги II степени |
27,4 |
| Ожоги I степени |
9,6 |
| Болевой порог
(болезненные ощущения на коже и слизистой оболочке) |
1,4 |
Независимо от причин
возникновения, ожоги разделяют по тяжести поражения организма. Ожоги первой
степени выражаются в болезненности, покраснении и припухлости кожи. Они не
представляют серьезной опасности и быстро вылечиваются без каких-либо
последствий. При ожогах второй степени образуются пузыри, заполненные прозрачной
белковой жидкостью; при поражении значительных участков кожи человек может
потерять на некоторое время трудоспособность и нуждается в специальном лечении.
Пострадавшие с ожогами первой и второй степеней, достигающими даже 50-60 %
поверхности кожи, обычно выздоравливают. Ожоги третьей степени характеризуются
омертвлением кожи с частичным поражением росткового слоя. Ожоги четвертой
степени: омертвление кожи и более глубоких слоев тканей (подкожной клетчатки,
мышц, сухожилий костей). Поражение ожогами третьей и четвертой степени
значительной части кожного покрова может привести к смертельному исходу.
3.
Обломки, осколки взорвавшегося резервуара, обломки зданий и сооружений,
разрушающихся во время взрыва. К параметрам данного поражающего фактора
относятся масса обломка (осколка), скорость разлета обломка (осколка).
Механические воздействия обломков и осколков вызывают у людей раны, ушибы,
кровотечения, переломы, вывихи, черепно-мозговые травмы, синдром длительного
сдавления.
4. Токсическое
воздействие продуктов горения. При неполном сгорании сжиженных газов в
продуктах сгорания может содержаться окись углерода (СО), обладающая
токсическим (отравляющим) воздействием на человека. В легких красные кровяные
шарики (гемоглобин) достаточно прочно соединяются с окисью углерода, кислород
перестает переноситься в клетки организма, начинается удушье, могущее привести
к смерти.
Влияние окиси углерода на
организм человека при различных концентрациях ее в воздухе показано в таблице
7.3.
Таблица 7.3
Физиологическое воздействие окиси углерода на организм человека
| Содержание СО в воздухе |
Длительность и характер
воздействия |
| % об. |
мг/л |
| 0,01 |
0,125 |
В течение нескольких часов не
оказывает воздействия |
| 0,05 |
0,625 |
В течение 1 ч нет заметного
воздействия |
| 0,1 |
1,25 |
Через 1 ч наблюдается головная боль,
тошнота, недомогание |
| 0,5 |
6,25 |
Через 20-30 мин оказывает
смертельное воздействие |
| 1,0 |
12,5 |
После нескольких вдохов потеря
сознания, через 1-2 мин очень сильное или смертельное отравление |
5. Токсическое
воздействие СУГ. Предельные углеводороды при атмосферном давлении практически
не растворяются в крови, и не взаимодействуют с ее жизненно важными
компонентами, а, следовательно, не оказывают явного токсического (отравляющего)
воздействия на организм человека. Однако при значительных концентрациях в
воздухе или при длительном вдыхании воздуха с малым содержанием их паров
наблюдается вредное и опасное для здоровья человека действие. Попадая в воздух,
они уменьшают в нем содержание кислорода, что приводит к кислородному
голоданию, а при значительных концентрациях - к удушью.
Санитарными нормами
проектирования промышленных предприятий пропан, входящий в состав сжиженных
газов, включен в четвертый класс вредных веществ, как вещество вредное, мало
опасное, а также установлены предельно допустимые концентрации его в различных
средах, приведенные в таблице 7.4.
Таблица 7.4 Предельно
допустимые концентрации углеводородов
| Среда, вещество |
Предельно допустимая концентрация |
|
Максимальная разовая, мг/м3
|
Среднесуточная, мг/м3
|
| Атмосферный воздух населенных
пунктов |
| Этилен |
3 |
3 |
| Пропилен |
3 |
3 |
| Бутан |
200 |
- |
| Бутилен |
3 |
3 |
| Пентан |
100 |
15 |
| Воздух рабочей зоны |
|
Углеводороды алифатические
предельные С1 – С10
|
300 |
- |
6. Недостаток кислорода в
зоне горения.
При понижении содержания
кислорода в воздухе до 16% начинается одышка и сердцебиение, до 12% наблюдается
сильное стеснение дыхания и при понижении содержания кислорода до 9% человек
теряет сознание.
7. Опасность поражения
электрическим током в результате повреждения проводки.
Опасное поражение
электрическим током со смертельным исходом может наступить при его напряжении,
равном 127 – 22 В и ниже. При поражении током напряжением свыше 10000 В смерть
наступает прежде всего от обширных ожогов. Низковольтные токи нельзя считать
безопасными. Отмечено, что при одинаковом напряжении переменный ток опаснее
постоянного.
Различают четыре степени
электротравм:
I степень – у пострадавшего отмечается
судорожное сокращение мышц без потери сознания;
II степень – судорожное сокращение мышц у
больного сопровождается потерей сознания;
III степень – у пострадавшего наблюдается не
только потеря сознания, но и нарушение сердечной деятельности и дыхания;
IV степень – больной находится в состоянии
клинической смерти.
8.
Охлаждающее воздействие СУГ. В зимнее время сжиженные углеводороды могут
охлаждаться до температур ниже точки кипения и сохранять при этом свойства
жидкости. Это объясняется тем, что пропан отвердевает при -189°С, а н-бутан при
-135° С. Переохлажденные жидкости в испарение сжиженных углеводородов
сопровождается отбором тепла из окружающей среды, что служит дополнительной
причиной глубоких обмораживаний. Одной из особенностей сжиженных углеводородных
газов является значительное понижение температуры при испарении жидкой фазы в
летнее время. Действие жидких СУГ на кожу человека вызывает обморожения
различной степени тяжести.
9. Травматический шок.
При обширных повреждениях, ранениях, переломах, ожогах у пострадавшего может
наступить шок, т.е. резкий упадок сил и угнетение всех жизненных функций
организма. Шок возникает от перенапряжения нервной системы в связи с сильными
болевыми раздражениями, кровопотерей и по другим причинам. Шок сопровождается
резким упадком сердечной деятельности, в результате чего пульс слабеет, а
иногда и вовсе не прослушивается. Лицо становится серым, с заострившимися
чертами, покрывается холодным потом. Пораженный безразличен к окружающему, хотя
сознание его и сохраняется. Он не реагирует на внешние раздражения, даже на
прикосновение к ране и движение поврежденной конечности.
10. Психологический стресс.
Возникновение ЧС вызывает
у людей, в том числе и спасателей, состояние тревоги и страха за свою жизнь,
полученные травмы вызывают развитие болевого шока. При этом могут возникнуть
психогенные расстройства, вызывающие дезорганизацию у людей, что способствует
увеличению вероятности потерь, вследствие возникновения паники.
7.3
Оказание первой медицинской помощи
Пораженному надо
оказывать помощь непосредственно на месте происшествия, если в этот момент
ничто не угрожает его жизни или жизни других людей.
В первую очередь
необходимо прекратить действие поражающих факторов: термического (высокой или
низкой температуры), электрического, механического (статического или
динамического), химического (воздействие отравляющих веществ или АХОВ) и
психогенного. Поражающие факторы могут действовать изолированно или совместно в
различных комбинациях.
7.3.1
Первая медицинская помощь при терминальных состояниях
Под терминальным
состоянием подразумевают этапы умирания организма, когда вследствие воздействия
разнообразных патологических процессов резко угнетается скоординированная
деятельность жизненных функций органов и систем, поддерживающих гомеостаз. В
этот момент компенсаторные механизмы резко истощены или оказывают повреждающее
воздействие, и без специального лечения организм не в состоянии самостоятельно
справиться с возникшими нарушениями.
1. Реанимационные
мероприятия немедленно начинает тот, кто первым оказался в непосредственной
близости от пострадавшего. Необходимо немедленно начать сердечно-легочную
реанимацию (СЛР), пытаясь голосом вызвать помощь.
2. Реанимационные
мероприятия оказывают в том месте, где обнаружен пострадавший. Не следует
пытаться перенести пострадавшего в подходящее помещение, специально укладывать
на кушетку и т.п.
3. Массаж сердца можно и
должно проводить без предварительной дифференциальной диагностики механизмов
прекращения кровообращения (асистолия, фибрилляция, неэффективная сердечная
деятельность).
Комплекс реанимационных
мероприятий включает методы временной остановки кровотечения; иммобилизацию
подручными средствами; восстановление проходимости верхних дыхательных путей;
искусственную вентиляцию легких по методу "из рта в рот", "изо
рта в нос"; технику закрытого массажа сердца.
Массаж сердца и
искусственную вентиляцию легких (ИВЛ) необходимо продолжать либо до
восстановления сердечной деятельности и дыхания, либо до передачи пораженного
медицинским работникам. В тех случаях, когда в течение 30 минут при правильно проводимой
сердечно-легочной реанимации признаки клинической смерти сохраняются (самостоятельного
сердцебиения и дыхания нет), реанимационные мероприятия прекращаются.
Сердечно-легочная
реанимация (СЛР) не проводится только при наличии признаков
"действительной" или биологической смерти. Такими объективными
признаками являются: гипостатические пятна ("трупные пятна") на коже
- прежде всего лица, шеи, области груди и затем по всему телу, трупное окоченение
мышц, остекленение и высыхание глазного яблока с резким расширением зрачков.
Эффективность
реанимационных мероприятий оценивается по следующим признакам:
1. Появление реакции
зрачков на свет. Сужение зрачков говорит о поступлении крови, обогащенной
кислородом, в мозг больного. Если зрачки остаются широкими и при этом не реагируют
на свет, можно думать о гибели мозга.
2. По ходу проведения
закрытого массажа сердца его эффективность контролируется помещением двух
пальцев на область проекции сонных артерий; при этом в момент сжатия сердца
должна ощущаться пульсация сонной артерии.
Появление пульсации на
сонных артериях после кратковременного (не более 3-5 сек) прекращения массажа свидетельствует
о восстановлении самостоятельной сердечной деятельности. Если реанимацию проводят
два человека, то контроль над пульсом на сонных артериях и состоянием зрачков
осуществляет реаниматор, проводящий ИВЛ.
3. Восстановление
спонтанного дыхания. Если самостоятельное дыхание в процессе СЛР
восстанавливается, становится устойчивым и достаточным по объему, цели
первичной СЛР можно считать достигнутыми. Однако не следует забывать о СЛР и в
этом случае больной (или пострадавший) не должен ни на минуту выпадать из поля
зрения реаниматоров.
7.3.2
Первая медицинская помощь при механических травмах
Механические травмы могут
быть в виде ранений с кровотечениями, ушибов, вывихов, переломов, травм головы.
Кровотечения являются
наиболее опасным осложнением ран и различаются в зависимости от характера
поврежденных сосудов (артериальное – алая окраска, пульсирующая струя, венозное
– темный цвет, непрерывное вытекание, капиллярное – кровоточит вся поверхность
раны, паренхиматозное – при повреждении внутренних органов). Кровотечения у
пострадавших останавливают возможными способами в зависимости от размера раны и
имеющихся средств (наложение жгута, давящей повязки, проводят туалет раны и
обезболивание).
Переломы могут быть закрытыми (без нарушения целостности
кожных покровов) и открытыми. Основные признаки переломов: боль, припухлость,
кровоподтек, ненормальная подвижность в месте перелома, нарушение функции
конечности, повреждение кожных покровов. При переломах и вывихах осуществляют
иммобилизацию соответствующих частей тела (шины Дитерикса, Крамера, подручные
средства), также обезболивание [54].
При ушибах получаются
разрывы кровеносных сосудов с излиянием крови в окружающие ткани, поэтому место
ушиба всегда припухает и образуются синяки. В этом случае необходимо охладить
место ушиба, прикладывая лед или тряпку, смоченную холодной водой, а затем
плотно забинтовать его.
Черепно-мозговая травма
может быть закрытой (сотрясение головного мозга или его ушиб, сдавление,
диффузное аксональное повреждение) или закрытой. У пострадавшего в зависимости
от вида травмы головы могут быть кратковременная потеря сознания, ретроградная
амнезия, боль при движении глазных яблок, бледность кожных покровов,
ригидность, парез, паралич (ушиб головного мозга), гематомы, постепенное
затуманивание сознания (сдавление).
Первая медицинская помощь при травмах черепа и мозга
включает: восстановление сознания (аммиак, 10%); пострадавшего укладывают на
бок и оберегают голову от резких перемещений; осуществляют остановку
кровотечения (если существует); голову фиксируют ватно-марлевым или резиновым
кольцом; применяют сорбенты; пострадавшего срочно и осторожно доставляют в лечебное
учреждение [52].
7.3.3
Первая медицинская помощь при синдроме длительного сдавления
При оказании медицинской
помощи на первом этапе необходимо решить следующие задачи: устранить или
ослабить болевые и психоэмоциональные влияния на организм пострадавших;
предотвратить или уменьшить поступление токсинов из поврежденных конечностей
или других участков тела; обеспечить своевременную и надежную эвакуацию
пострадавших в специализированное лечебное учреждение.
Первая помощь оказывается
на месте происшествия. Устранение боли, уменьшение психоэмоционального
напряжения у пострадавших в очаге катастрофы следует осуществлять при первой
возможности еще до освобождения их от сдавливающего фактора (вводят промедол,
седативные средства). Освобождение пострадавшего начинают с головы, туловища.
Одновременно проводят борьбу с асфиксией (придание удобного положения, очистка
верхних дыхательных путей, ИВЛ и т. д.). Патологический процесс после
освобождения конечности может развиваться очень быстро, поэтому целесообразно
кратковременное наложение жгута. После наложения асептических повязок на раны,
тугого бинтования и охлаждения конечности (при соответствующих условиях) жгут
следует снять. Следует помнить о том, что длительное нахождение жгута способствует
углублению патологических изменений тканей конечности. Иммобилизация проводится
подручными средствами или табельными шинами. При отсутствии тошноты и рвоты
дают обильное питье (желательно соле-щелочного раствора — 3—4 чайных ложки
поваренной соли, полторы — 2 чайных ложки питьевой соды на литр воды), чай.
Показана ингаляция кислорода. Эвакуация пораженных с СДС должна осуществляться
в первую очередь, лежа на носилках, наиболее щадящим транспортом [53].
7.3.4
Первая медицинская помощь при ожогах
При оказании первой
помощи при ожоге
обработки ожоговой поверхности не проводят. Накладывают асептическую повязку
или специальную противоожоговую повязку, если она имеется. Допускается
применение влажно-высыхающей повязки с антисептиками или антибиотиками.
После предварительного
обезболивания (1-2 мл 1% раствора промедола) выполняют туалет ожоговой раны:
кожу вокруг ожога протирают 0,25% или 0,5% раствором нашатырного спирта, тёплой
мыльной водой или раствором антисептика, после чего обрабатывают спиртом или
раствором йодоната. Далее протирают тампоном, смоченным раствором антисептика
(фурациллин 1:5000, хлорацил, риванола), затем 0,25% раствором новокаина и
осторожно снимают посторонние наслоения, инородные тела, обрывки поверхностного
слоя кожи. Целые пузыри не удаляют. Очень напряжённые пузыри подсекают у
основания.
При поверхностных ожогах
до 30% площади поверхности тела можно использовать повязки с нежирными кремами,
мазями Вишневского, синтомициновой эмульсией, растворами фурациллина,
хлорацила, антибиотиками на 0,5% растворе новокаина (мономицин, канамицин,
полимиксин и т.д.) [53].
7.3.5 Первая медицинская помощь при отравлении
продуктами горения
Первая медицинская помощь
в очаге поражения:
— надеть противогаз в
комплексе с гопкалитовым патроном или патроном ДПГ-1;
— немедленно удалить
пострадавшего из зоны заражения (при отсутствии противогаза — первостепенное
мероприятие!).
Первая медицинская и
доврачебная помощь вне зоны заражения:
— снять противогаз;
— освободить от
стесняющей дыхание одежды, согреть;
— ингаляция кислорода;
— искусственное дыхание
при его ослаблении (ручные дыхательные приборы);
— при ослаблении
сердечной деятельности — 1 мл кордиамина, 1 мл 10% раствора кофеина бензоата
натрия подкожно;
— немедленно эвакуировать
на первый этап медицинской эвакуации или в ближайшее лечебное учреждение [18].
7.3.6 Первая медицинская помощь при электротравмах
Основной причиной смерти
при электротравме является прекращение сердечной деятельности и остановка
дыхания. Поэтому срочно надо в таком случае:
- соблюдая технику
безопасности, освободить пораженного от дальнейшего воздействия электротока;
- при необходимости
провести оживление (закрытый массаж сердца и ИВЛ методом “изо рта в рот” или
“изо рта в нос”);
- наложить сухую повязку
на место ожога;
- пораженного быстро
доставить в больницу;
Для прекращения действия
тока необходимо использовать резиновые перчатки, обувь на резиновой подошве,
сухие палки, доски [53].
7.3.7
Психологическая устойчивость в чрезвычайных ситуациях
Психиатрическая помощь
при ЧС представляет собой комплекс медико-психологических и психиатрических
мероприятий, для нейтрализации острых психологических расстройств, нормализацию
психического состояния не только пострадавших, но и медицинских работников
первого контакта, а также спасателей [26].
Основные
направления психиатрической помощи:
а) соответствие сил и
средств психиатрической помощи задачам по ее оказанию на этапах медицинской
эвакуации;
б) своевременное
привлечение специалистов данного профиля (по принципу взаимного дополнения, а
не дублирования на различных этапах);
в) адекватная сортировка
и быстрая эвакуация пострадавших из очага поражения;
г) своевременное усиление
отдельных этапов оказания психиатрической помощи;
д) сочетание лечебных и
реабилитационных мероприятий.
Психологическая помощь
осуществляется с целью:
а) предоставления
возможности человеку выразить свои переживания;
б) предоставления
пострадавшим полной информации о ЧС;
в) поддержания и внушения
человеку уверенности в себе;
г) побуждения к
скорейшему возвращению к нормальной деятельности.
При оказании пострадавшим
психологической помощи руководствуются следующими принципами:
а) безотлагательность;
б) приближенность к зоне
ЧС;
в) ожидаемость
восстановления;
г) единство
психотерапевтического воздействия;
д) простота
психотерапевтического воздействия;
е) преемственность
психологического сопровождения [18].
Опыт ликвидации последствий различного
рода аварий и чрезвычайных ситуаций свидетельствует о том, что наибольшие
затруднения возникают при организации первой медицинской и доврачебной помощи
пострадавшим психиатрического профиля.
Первоочередной задачей в
этих случаях является выявление пострадавших с психомоторным возбуждением,
обеспечение безопасности их и окружающих, ликвидация обстановки растерянности,
исключение возможности возникновения массовых панических реакций. Эффективность
первой медицинской и доврачебной помощи обусловлена подготовленностью
медперсонала и наличием необходимых медикаментозных средств.
8 МАТЕРИАЛЬНО-ТЕХНИЧЕСКОЕ ОБЕСПЕЧЕНИЕ ФОРМИРОВАНИЙ
рсчс ПРИ ЛИКВИДации ЧС на туймазинском газоперерабатывающем заводе
Возникновение ЧС на
предприятиях газопереработки, как показывает практика, влекут за собой
значительные разрушения и представляют угрозу здоровью и жизни персонала. Для
успешного выполнения спасательных работ в наиболее короткие сроки, с целью
предотвращения наибольшего ущерба, необходимо обеспечение формирований РСЧС,
участвующих в ликвидации последствий ЧС, материально-техническими средствами и
пострадавшего персонала предприятия средствами первоочередного жизнеобеспечения
[40].
Целью настоящего раздела является рассмотрение материально-технического
обеспечения (МТО) сил и средств ликвидации ЧС на Туймазинском
газоперерабатывающем заводе. Задачами раздела является определение потребностей
формирований в различных видах материально-технического обеспечения при
ликвидации аварии.
Прогноз обстановки, которая сложилась в результате взрыва емкости
представлен в разделе 3. В результате ЧС здания и сооружения на территории
объекта получили полную и сильную степень разрушения (рисунок 1 Приложения Б).
Численность смены на момент аварии – 114 человек. Санитарные потери составляют
57 человек, безвозвратные – 30 человек. Период проведения АСДНР – 3 суток.
Пострадавший персонал в обеспечении одеждой, жильем,
продуктами питания не нуждается, так как пострадавших эвакуируют в больницы.
Подробные
данные о составе сил, количестве используемой техники, количестве требуемого
инструмента рассчитаны в разделе 4.
8.1 Материально-техническое обеспечение формирований
РСЧС в зоне ЧС (основные принципы и требования)
Для предупреждения и ликвидации ЧС создана
Единая государственная система предупреждения и ликвидации ЧС (РСЧС), которая
объединяет органы управления, силы и средства федеральных органов
исполнительной власти, органов исполнительной власти субъектов РФ, органов
местного самоуправления и организаций, в полномочиях которых входит решение
вопросов защиты населения и территорий от ЧС.
Задачи, организация, состав сил и средств,
порядок функционирования территориальных подсистем РСЧС определяются
положениями об этих подсистемах, утверждаемыми соответствующими органами
государственной власти субъектов РФ.
Функциональные подсистемы РСЧС создаются
федеральными органами исполнительной власти для организации работы по защите
населения и территории от ЧС в сфере их деятельности и порученных им отраслях
экономики.
Важнейшим элементов, определяющим
эффективность функционирования и развития РСЧС, является система ее
материально-технического обеспечения (МТО), создание которой лежит на путях
формирования комплексного организационно-экономического и правового механизма,
позволяющего решать вопросы материально-технического обеспечения надежно и
эффективно.
Управление работами по
материально-техническому обеспечению при возникновении ЧС осуществляется, как
правило, по суточным циклам, каждый из которых включает:
·
сбор данных об обстановке;
·
анализ и оценку потребности
материально-технического обеспечения (количество, укомплектованность,
обеспеченность, готовность формирований и служб, наличие, потребность в
материальных средствах для обеспечения привлекаемых сил и средств,
пострадавшего населения, других мероприятий);
·
подготовку выводов и предложений
для решения МТО;
·
принятие (уточнение) решения на
МТО и доведение задач до исполнителя (решение включает следующие основные
элементы: краткие выводы из данной обстановки, замысел действий МТО, задачи
подчиненным формированиям, подразделениям, меры безопасности, организацию
взаимодействия, МТО общих действий формирований);
·
организацию взаимодействия;
·
МТО действий сил и средств
(порядок снабжения формирований продовольствием, питьевой водой, техническими
средствами, горюче-смазочными материалами и другим имуществом, оборудование
мест (пунктов) приема пищи, отдыха и специальной обработки).
При планировании обеспечения всех
формирований транспортом, техникой, специальным имуществом и
материально-техническими средствами необходимо предусматривать первоочередное
обеспечение формирований, привлекаемых в мирное время для ликвидации
последствий аварий [41].
Для осуществления
мероприятий по материально-техническому обеспечению организуется служба
материально-технического обеспечения на базе предприятий и организаций торговли
и общественного питания, МТО и сбыта, ремонтных органов, независимо от форм
собственности и подчиненности. Для выполнения задач МТО АСДНР на ТГПЗ, прежде
всего, задействуются силы и средства отдела МТО объекта экономики. Для
укомплектования формирований используется исправная автомобильная,
дорожно-строительная и другая техника, независимо от форм собственности
расположенная в близи места аварии. Другими материально-техническими
средствами, предусмотренными штатами и табелями, формирования обеспечиваются в
первую очередь за счет имеющихся на предприятии средств для обеспечения
производственной деятельности [41].
Материально-техническое обеспечение аварийно-спасательных
формирований заключается в обеспечении:
1)
средствами
индивидуальной защиты;
2)
питьевой водой и
продуктами питания;
3)
коммунально-бытовыми
услугами;
4)
необходимой
техникой и инструментом;
5)
горюче-смазочными
материалами;
6)
ремонтом техники [41]
8.1.1
Обеспечение формирований водой
Вода в зоне ЧС необходима
для локализации и тушения пожара, а также для обеспечения физиологических и
санитарно-гигиенических потребностей формирований во время проведения АСДНР.
Суточные потребности в воде в зоне ЧС на Туймазинском газоперерабатывающем
заводе рассчитываются по общей численности личного состава формирований и по
нормам их обеспечения для ведения АСДНР.
Требуемое количество воды
для локализации пожара забирается из имеющейся на предприятии системы
противопожарного водоснабжения.
На территории завода проложены 2 кольцевых противопожарных
водопровода диаметрами 150 и 250 мм, на которых установлены 54 пожарных
гидранта. Вода в сеть подается от общего заводского водозабора, насосами из
реки Ик, расположенной в районе деревни Ильчимбетово, на расстоянии 12,5 км от
завода, по двум водопроводам диаметрами 300мм.
Общая производительность
насосов 1200 м3/час. На территории завода имеется 6 пожарных
водоемов, 4 из которых объемом 200 м3,1 -100 м3,1 - 800 м3.
Согласно расчетам, проведенным в п.4.7.2, количество воды, необходимое для
локализации и тушения пожара, полностью обеспечивается системой
противопожарного водоснабжения предприятия и дополнительного подвоза воды для
тушения пожара не требуется [31].
Обеспечение питьевой
водой личного состава формирований производится из водопроводно-канализационной
системы предприятия. Вода из местной водопроводной системы соответствует
требованиям к качеству воды на различные нужды ГОСТ 2874–82, СанПиН
2.1.4.559–96, ГОСТ Р 51232–98, т.е. полностью подходит как для питьевых, так и
для технических нужд.
Потребное количество воды для обеспечения личного состава
формирований определяется, умножением нормы для питья людьми, выполняющими
работу различной степени тяжести, на коэффициенты соответствующие категории
работ.
Общее количество воды для
жизнеобеспечения формирований РСЧС определяется из суточной нормы воды для
питья, приготовления пищи и санитарно-гигиенических целей. При ЧС на ТГПЗ к
работе в зоне ЧС привлекается 179 человек (таблица 8.1), из них [35]:
1) формирования,
разбирающие завалы и расчищающие подъездные пути, пожарные выполняют тяжелую III категорию работ – 107 человек;
2)
формирования,
восстанавливающие коммуникации и ведущие ремонтно-восстановительные работы,
выполняют средней тяжести II
категорию работ – 42 человека;
3)
формирования,
занимающиеся различной перевозкой грузов, эвакуацией пострадавшего персонала, выполняют
легкую категорию работ – 30 человек.
Таблица 8.1 - Потребное количество воды
для ликвидации ЧС в соответствии с нормами жизнеобеспечения
|
Виды
водопотребления
|
Кол-во, л/чел в сутки |
Кол-во, л/чел за 3 суток |
Формирования, осуществляющие работы
различной степени тяжести: |
|
III
степень
k = 1,750
|
II
степень
k =1,540
|
I
степень
k = 1,125
|
| 1. Питье |
5,0 |
15,0 |
2808 |
970 |
501 |
|
2. Приготовление пищи, умывание,
в том числе:
- приготовление пищи;
- мытье посуды;
- мытье лица и рук.
|
7,5
3,5
1,0
3,0
|
22,5
10,5
3,0
9,0
|
4213
1966
561
1685
|
1455
679
194
582
|
759
354
104
303
|
| 3.Удовлетворение санитарно -
гигиенич. потребностей человека и обеспечение сан.-гиг. состояния помещений |
21,0 |
63,0 |
11796 |
4074 |
2126 |
| ИТОГО: |
|
|
23031 |
7955 |
4151 |
Таким образом, при
ликвидации ЧС расходуется 35138 л воды для обеспечения формирований.
8.1.2
Обеспечение продуктами питания
Для проведения АСДНР в течение трех суток в зоне ЧС
личный состав формирований нуждается в обеспечении питанием. Питание
организуется подразделением общественного питания на базе столовой предприятия
ТГПЗ. При этом численность обслуживающего персонала столовой увеличена и
обслуживание проводится в несколько смен. Организация обеспечения формирований
питанием исходит из 2-х разового горячего питания, и одного раза в сутки
консервированными продуктами или сборными пайками [43].
Согласно «Норм
физиологических потребностей в пищевых веществах и энергии различных групп
населения», приведенных в таблице 8.2, устанавливаются основные продукты
питания, составляющие суточный рацион одного человека.
Таблица 8.2 - Нормы
физиологических потребностей в пищевых веществах и энергии различных групп
населения
|
№
групп
|
Категория населения |
Энергия,
ккал
|
Белки,
г
|
Жиры,
г
|
Углеводы,
г
|
I
|
Личный состав формиро-
ваний, спасатели
|
4200 |
114 |
150 |
570 |
| II |
Личный состав, выполняющий менее
тяжелую работу |
3300 |
92 |
108 |
470 |
Основные продукты питания, для приготовления горячей
пищи и составляющие суточный рацион личного состава формирований, выполняющих
тяжелую работу (107 человек), приведены в таблице 8.3.
Основные продукты питания,
для приготовления горячей пищи и составляющие суточный рацион спасателей,
выполняющих работу средней или легкой степени тяжести (72 человека), приведены
в таблице 8.4.
Таблица 8.3 - Необходимое
количество продуктов питания для обеспечения личного состава формирований, выполняющих
тяжелую работу
|
№
п/п
|
Наименование продукта |
Количество продуктов, согласно
нормам г/чел в сутки |
Количество продуктов,
кг/чел в сутки
|
Количество продуктов,
кг/чел за 3 суток
|
| 1 |
Хлеб из смеси ржаной обдирной
и пшеничной муки 1 сорта
|
600 |
64,2 |
192,6 |
| 2 |
Хлеб белый из пшеничной
муки 1 сорта
|
400 |
42,8 |
128,4 |
| 3 |
Мука пшеничная 2 сорта |
30 |
3,21 |
9,63 |
| 4 |
Крупа разная |
100 |
10,7 |
32,1 |
| 5 |
Макаронные изделия |
20 |
2,14 |
6,42 |
| 6 |
Молоко и молокопродукты |
500 |
53,5 |
160,5 |
| 7 |
Мясо и мясопродукты |
100 |
10,7 |
32,1 |
| 8 |
Рыба и рыбопродукты |
60 |
6,42 |
19,26 |
| 9 |
Жиры |
50 |
5,35 |
16,05 |
| 10 |
Сахар |
70 |
7,49 |
22,47 |
| 11 |
Картофель |
500 |
53,5 |
160,5 |
| 12 |
Овощи |
180 |
19,26 |
57,78 |
| 13 |
Соль |
30 |
3,21 |
9,63 |
| 14 |
чай |
2 |
0,214 |
0,642 |
Таблица 8.4 - Необходимое
количество продуктов питания для обеспечения личного состава формирований,
выполняющих работу средней и легкой степени тяжести
|
№
п/п
|
Наименование продукта |
Количество продуктов, согласно
нормам г/чел в сутки |
Количество продуктов,
кг/чел в сутки
|
Количество продуктов,
кг/чел за 3 суток
|
| 1 |
Хлеб из смеси ржаной обдирной
и пшеничной муки 1 сорта
|
400 |
28,8 |
86,4 |
| 2 |
Хлеб белый из пшеничной
муки 1 сорта
|
400 |
28,8 |
86,4 |
| 3 |
Мука пшеничная 2 сорта |
24 |
1,728 |
5,184 |
| 4 |
Крупа разная |
80 |
5,76 |
17,28 |
| 5 |
Макаронные изделия |
30 |
2,16 |
6,48 |
| 6 |
Молоко и молокопродукты |
300 |
21,6 |
64,8 |
| 7 |
Мясо и мясопродукты |
80 |
5,76 |
17,28 |
| 8 |
Рыба и рыбопродукты |
40 |
2,88 |
8,64 |
| 9 |
Жиры |
40 |
2,88 |
8,64 |
| 10 |
Сахар |
60 |
4,32 |
12,96 |
| 11 |
Картофель |
400 |
28,8 |
86,4 |
| 12 |
Овощи |
150 |
10,8 |
32,4 |
| 13 |
Соль |
25 |
1,8 |
5,4 |
| 14 |
чай |
1,5 |
0,108 |
0,324 |
Очень важно учесть, что
первый день до организации горячего питания суточный рацион может состоять из
консервированных продуктов или сухих пайков, рассчитанных исходя из приведенной
нормы по маркировке на упаковке или таре пайков. Для этого установлены нормы
замены продуктов при выдаче личному составу формирований, приведенные в
табл.8.5
Таблица 8.5 - Нормы
замены продуктов при выдаче личному составу формирований
|
№
п/п
|
Наименование показателей |
Количество, г |
|
заменяемого
продукта
|
продукта
заменителя
|
| 1 |
2 |
3 |
4 |
| 1 |
Хлеб из смеси ржаной обдирной и
пшеничной муки 1 сорта заменяется:
-хлебом из муки пшеничной 2сорта;
|
100
[600,400]
|
95
[570, 380]
|
| 2 |
Хлеб белый из пшеничной муки
заменяется:
-батонами простыми и нарезными из
муки
пшеничной 1 сорта;
|
100
[400,400]
|
95
[380, 380]
|
| 3 |
Крупу разную заменяется:
-консервами овощными закусочными.
|
100
[100,80]
|
375
[375, 300]
|
| 4 |
Мясо- свинина, говядина, баранина
заменяется:
-консервами мясными разными;
-яйцами куриными, шт.
|
100
[100,80]
|
75 [75, 60]
2
|
| 5 |
Жиры животные топленые, маргарин
заменяется:
-салом шпик.
|
100
[50,40]
|
100
[50, 40]
|
| 6 |
Сахар заменется:
-карамелью;
|
100
[70,60]
|
50
[35, 30]
|
| 7 |
Чай черный байховый заменяется:
-чаем растворимым;
|
100
[2, 1,5]
|
80
[1,6, 1,2]
|
| 8 |
Сигареты 5, 6, 7 классов, шт
заменяются:
-папиросами 5 класса.
|
12 |
12 |
Примечание:
В квадратных скобках дано количество заменяемого
продукта и продукта-заменителя для одноразового питания личного состава
формирований [выполняющих работы тяжелой степени тяжести, выполняющих работы
средней и легкой степени тяжести].
Таблица 8.6 - Нормы
замены продуктов при выдаче личному составу, выполняющему тяжелую работу
|
№
п/п
|
Наименование показателей |
Количество, г |
| Продукта заменителя согласно
нормам |
суммарное |
| 1 |
хлеб из муки пшеничной 2сорта; |
570 |
60990 |
| 2 |
батоны простые и нарезные из муки
пшеничной 1 сорта;
|
380 |
40660 |
| 3 |
консервы овощные закусочные. |
375 |
40125 |
| 4 |
консервы мясные разные;
яйцами куриными, шт.
|
75
2
|
214 |
| 5 |
салом шпик. |
50 |
5350 |
| 6 |
карамель. |
35 |
3745 |
| 7 |
чаем растворимый. |
1,6 |
171,2 |
| 8 |
папиросы 5 класса. |
12 |
1284 |
Таблица 8.7 - Нормы
замены продуктов при выдаче личному составу, выполняющему среднюю и легкую
работу
|
№
п/п
|
Наименование показателей |
Количество, г |
|
продукта
заменителя согласно нормам
|
суммарное |
| 1 |
хлеб из муки пшеничной 2сорта; |
380 |
27360 |
| 2 |
батоны простые и нарезные из муки
пшеничной 1 сорта;
|
380 |
27360 |
| 3 |
консервы овощные закусочные. |
300 |
21600 |
| 4 |
консервы мясные разные;
яйцами куриными, шт.
|
60
2
|
4320 144 |
| 5 |
салом шпик. |
40 |
2880 |
| 6 |
карамель. |
30 |
2160 |
| 7 |
чаем растворимый. |
1,2 |
86,4 |
| 8 |
папиросы 5 класса. |
12 |
864 |
Таким образом, произведен
расчет требуемого количества продуктов питания для формирований осуществляющих
работы различной категории сложности в зоне ЧС.
8.1.3 Обеспечение предметами первой необходимости
Личный состав
формирований РСЧС, привлекаемый для ликвидации аварии на ТГПЗ, базируется на
территории предприятия и имеет собственные помещения, приспособленные для
отдыха личного состава и располагающие коммунально-бытовыми услугами.
Расчет предметов первой
необходимости производится только для формирований, участвующих в ликвидации
аварии и нуждающихся на период проведения работ в моющих средствах, поскольку
питание осуществляется на базе столовой предприятия, есть возможность
использовать посуду посменно. Из номенклатуры предметов первой необходимости
при рассматриваемом варианте событий необходимо выдать личному составу
предметы, представленные в Таблице 8.8, расчет приведен на период 3 суток для
179 человек [43].
Таблица 8.8 - Обеспечение формирований
предметами первой необходимости
|
Наименование
предметов
|
Единицы
измерения
|
Количество |
Кол-во на ПЖО для формирований |
| Мыло |
г/чел./мес. |
200 |
107400 |
8.1.4
Расчет расхода топлива и горюче-смазочных материалов для спасательной техники
Одной из важных задач
материально-технического обеспечения формирований РСЧС является обеспечение
спасательной и другой техники на базе автомобиля горюче-смазочными материалами.
Расчет расхода топлив и смазочных материалов основан на предварительном определении
номенклатуры и количества спасательной техники, учета дорожно-транспортных
эксплуатационных факторов, учета климатических факторов и т.п. [36].
Обеспечение
горюче-смазочными материалами инженерной и другой технически привлекаемой для
работы в зоне ЧС осуществляется в местах выполнения работ с помощью передвижных
автотопливо- и маслозаправщиков. Станция состоит из звеньев подвоза и заправки.
Возможности укомплектованной подвижной автозаправочной станции – 400-500 единиц
техники за 10 часов. При заправке техники ведется учет расхода топлива и масел.
Расчет расхода горюче-смазочных материалов осуществляется исходя из нормативных
значений расхода топлива и масел соответственно для различных видов техники и
машин.
На автомобильном
транспорте применяются следующие виды норм расхода топлива:
линейные нормы,
регламентирующие расход топлива в процессе передвижения автомобиля;
нормы расхода топлива на
работу специального оборудования, установленного на автомобилях;
удельные нормы расхода
топлива на единицу выполненной транспортной работы.
Линейные нормы являются
технологическими нормами и включают расход топлива, необходимый для
осуществления транспортного процесса.
Используются 3 вида
линейных норм:
базовая норма на 100 км
пробега автомобиля;
норма на 100 тонн-км транспортной
работы (учитывает дополнительный расход топлива при движении автомобиля с
грузом);
норма на ездку с грузом
(учитывает увеличение расхода топлива, связанное с маневрированием в пунктах
погрузки и выгрузки).
Учет
дорожно-транспортных, климатических и других эксплуатационных факторов
производится с помощью ряда поправочных коэффициентов, регламентирующих в форме
процентного повышения или понижения исходного значения нормы [44].
8.1.4.1 Расчет нормативного расхода
топлива для бортовых грузовых автомобилей
Для бортовых автомобилей
или автопоездов нормируемое значение расхода топлива определяется по следующему
соотношению:
QH=0.01×(HsanS+HwW)×(l+0.01×D), (8.1)
где Qh - нормативный рaсход топлива, литры или м3;
S - пробег автомобиля, км;
Hsan - линейная норма расхода топлива на
пробег автомобиля, Hsan=Hs+Hg x Gnp, л/100 км или м3/100 км; Hg - норма расхода топлива на
дополнительную массу прицепа или полуприцепа, л/100 т.км или м3/100
т.км);
Hw - линейная норма расхода топлива на
транспортную работу, л/100 т.км или м3/100 т.км;
W - объем транспортной работы, т.км (W=Gгp x Sгp, где Grp -
масса груза, Srp - пробег с грузом);
Gnp - собственная масса прицепа или
полуприцепа, т;
D - поправочный коэффициент (суммарная
относительная надбавка или снижение) к норме в процентах [44].
Расчет расхода топлива
для бортовых грузовых автомобилей приведен в табл. 8.9.
8.1.4.2 Расчет
расхода топлива для автобусов, машин скорой и специальной помощи
Применение автобусов
целесообразно для доставки спасателей и остальных участников ликвидации
последствий ЧС на ТГПЗ.
Для автобусов нормируемое
значение расхода топлива рассчитывается по следующему соотношению:
Qн = 0,01 ∙ Hs ∙ S ∙ (1 + 0,01 ∙ D) + Hот ∙ T, (8.2)
где Qн - нормативный расход топлива, литры или куб. метры;
Нs - базовая линейная норма расхода топлива на пробег автобуса, л/100 км или куб. м/100 км;
S - пробег автобуса, км;
Нот - норма расхода топлива на работу отопителя или отопителей, л/час;
Т - время работы автомобиля с включенным отопителем, час;
D - поправочный коэффициент (суммарная относительная надбавка или снижение) [44].
Результаты расчета
необходимого количества топлива для автобусов, машин скорой и специальной
помощи приведены в таблице 8.9.
8.1.4.3 Нормы расхода топлива на работу специального
оборудования установленного на автомобилях
Специальные и
специализированные автомобили с установленным на них оборудованием
подразделяются на две группы:
автомобили, выполняющие
специальные работы в период стоянки (топливозаправщики, и т.д.). Нормативный
расход топлива для специальных автомобилей, выполняющих работу в период стоянки
определяется следующим образом:
Qн=(0.01 x Hsc х S+Hm x T ) x (1+0.01 x D)
(8.3)
где Hsc - индивидуальная линейная норма
расхода топлива на пробег спецавтомобиля, л/100 км (в случаях, когда
специальный автомобиль предназначен также для перевозки груза, индивидуальная норма
рассчитывается с учетом выполнения транспортной работы Hsc ' =Hsc+Hw х W);
S - пробег автомобиля, км;
Hm - норма топлива на работу
специального оборудования, л/час или литры на выполняемую операцию (заполнение
цистерны и др.);
Т - время работы
оборудования, час или количество выполненных операций;
D - суммарная относительная надбавка
или снижение к норме, процент (при работе оборудования применяются только
надбавки на работу в зимнее время и в горных местностях) [44].
Расчет расход топлива для
работы специальных автомобилей показан в табл. 8.9.
8.1.4.4
Расчет расхода топлива для техники на базе тракторов
Для техники на базе
тракторов расход топлива определяется в зависимости от продолжительности работы
и мощности двигателя.
Потребное количество
топлива определяется по формуле:
QH=T∙HP∙K, (8.4)
Hp – нормируемое значение расхода
топлива, г или л;
Т – общее время работы,
ч;
К – мощность двигателя,
кВт.
Расчет расхода топлива
для техники на базе тракторов приведен в таблице 8.9.
Произведенные расчеты
(табл. 8.9) показали, что для обеспечения техники и средств малой механизации
топливом необходимо:
Бензина – 64 литра;
дизельного топлива – 2134 литра.
Помимо горючего для
работы спасательной техники требуются смазочные материалы.
8.1.4.5 Нормы расхода смазочных
материалов
Нормы расхода смазочных
материалов на автомобильном транспорте предназначены для оперативного учета,
расчета удельных норм расхода масел и смазок при обосновании потребности в них
автотранспортных предприятий.
Нормы расхода смазочных
материалов установлены на 100 литров (м3 СПГ) общего расхода
топлива, рассчитанного по нормам для данного автомобиля. Нормы расхода масел установлены
в литрах на 100 литров (м3 СПГ) расхода топлива, нормы расхода
смазок соответственно в килограммах на 100 литров (м3 СНГ) расхода
топлива [44].
В табл. 8.10 приведен
расчет расхода моторного масла для всех автомобилей, в зависимости от нормативного
расхода топлива
Таблица 8.10 -
Индивидуальные нормы расхода моторных масел из расчета расхода топлива
| Тип
техники |
Марка |
Количество
масла
моторного,
л
|
Трансмиссионные
и гидравлические масла, л |
Специальные
масла и жидкости, л |
Плас-тичные
смазки,
кг
|
|
Автоцистерна
заправочная
|
АТЗ-6410226 |
1,6 |
0,2 |
0,05 |
0,15 |
|
Автоцистерна
пожарная
|
АЦЛ 5-40 |
14,7 |
1,8 |
0,45 |
0,70 |
| Кран
автомобильный |
КС-35715 |
2,5 |
0,34 |
0,13 |
0,3 |
|
Компрессор
(на
базе ЗИЛ-130)
|
ЭК-16/1-2 |
8 |
1 |
0,25 |
0,75 |
| Бортовой
грузовик |
ЗИЛ-130 |
0,18 |
0,02 |
0,01 |
0,02 |
| Тягач |
КрАЗ
643701 |
1,5 |
0,2 |
0,01 |
0,15 |
|
Машина
скорой
помощи
|
ГАЗ-27057 |
0,5 |
0,06 |
0,02 |
0,04 |
|
Машина
скорой
помощи
|
УАЗ-452А |
0,35 |
0,01 |
0,005 |
0,03 |
|
|
ПАЗ-3205 |
0,21 |
0,03 |
0,01 |
0,03 |
| Бульдозер |
Д-521 |
6 |
- |
- |
0,9 |
| Экскаватор
на автошасси |
SOLAR
210W-V |
0,1 |
- |
- |
0,01 |
Расчет показывает, что необходимое количество моторных
масел составляет 35 литров, необходимое количество трансмиссионных масел
составляет 3,6 литров, необходимое количество специальных масел составляет 0,7
литра, необходимое количество пластичных смазок составляет 3 килограмма.
8.1.5
Обеспечение ремонта спасательной техники, участвующей в работах в зоне ЧС
Успех выполнения спасательных и неотложных
аварийно-восстановительных работ во многом будет зависеть от своевременного и
правильного осуществления мероприятий по техническому обслуживанию и ремонту
средств механизации, направленных на повышение срока работоспособности машин.
Техническое обслуживание машин выполняют после каждой
смены и через определенные периоды рабочего времени. В зависимости от
периодичности и объема работ различают ежесменное, плановое и сезонное
техобслуживание. Ежесменное техобслуживание должно обеспечивать
работоспособность машины в течение всей смены и выполняется перед началом, в течение
или после рабочей смены.
Техобслуживание и
эксплуатационный ремонт машин, производящих АСДНР, будут выполняться на месте
работ или на пункте сбора поврежденных машин (СППМ), СППМ - это участок
местности для сбора неисправных, поврежденных машин, эвакуируемых из районов ЧС
и очагов поражения, маршрутов движения колонн для ремонта или дальнейшей
доставки на стационарные ремонтные предприятия.
Ремонт строительных машин подразделяют на текущий и
капитальный. Текущий ремонт выполняют, как правило, на месте работы машины
механик-водитель и его помощник, в отдельных случаях – ремонтники ремонтной
мастерской. Во время этого вида ремонта заменяют или восстанавливают детали
(кроме базисных), снимая или не снимая узлы с машины.
При проведении АСДНР в целях быстрого восстановления и
возвращения в строй максимально возможного количества машин при организации
ремонта необходимо руководствоваться следующими основными принципами:
-
непрерывность ремонта;
-
в первую очередь ремонтируются те
машины, которые имеют меньший объем по ремонту и наиболее необходимы в
ближайший период;
-
текущий ремонт машин сравнительно
небольшой трудоемкости производится, как правило, на местах выхода машин из
строя, а ремонт значительной трудоемкости – на СППМ.
При организации ремонта
техники при ведении АСДНР наиболее приемлем агрегатно-узловой метод ремонта,
при котором отдельные агрегаты и узлы по мере возникновения потребности в
капитальном ремонте снимают с машин и заменяют запасными, заранее
отремонтированными, или новыми [45].
В разделе материальное и
техническое обеспечение рассмотрены вопросы обеспечения формирований
привлекаемых к ведению АСДНР при ликвидации ЧС на газофракционирующей установке
ТГПЗ.
Рассчитано потребное количество воды
и продуктов питания и воды, произведен расчет расхода топлива и смазочных
материалов техники, привлекаемой для ведения аварийно-восстановительных работ.
Вопросы обеспечения решаются с привлечением органов торговли и общественного
питания, материально-технического снабжения и сбыта, ремонтных предприятий. На
основании выполненных расчетов проводится расчет экономического ущерба,
причиненного ЧС.
9 Оценка экономического ущерба при
возникновении чрезвычайной ситуации на ТУЙМАЗИНСКОМ ГАЗОПЕРЕРАБАТЫВАЮЩЕМ ЗАВОДЕ
Возникновение чрезвычайной
ситуации на газофракционирующей установке Туймазинского газоперерабатывающего
завода влечет за собой ущерб здоровью и жизни людей, окружающей природной
среде, потери материальных ценностей и затраты на проведение
аварийно-спасательных и восстановительных работ. Последствия аварийной ситуации
имеют стоимостное выражение, характеризующее масштаб ЧС и воздействие опасности
на людей, окружающую среду, материальные ценности.
Целью раздела является
оценка ущерба при возникновении чрезвычайной ситуации в стоимостном выражении.
Экономический ущерб от аварии складывается из затрат
на локализацию и ликвидацию последствий аварии, а также возмещения ущерба пострадавшим
людям и экономике предприятия (рисунок 9.1).

Рисунок 9.1 - Составляющие
экономического ущерба от аварии на Туймазинском газоперерабатывающем заводе
В результате чрезвычайной
ситуации безвозвратные потери среди персонала составят 30 человек, количество
людей получивших травмы различной степени тяжести составляют 57 человек (см.
раздел 3). Поскольку рассматриваемая в дипломном проекте ЧС носит локальный
(объектовый характер), затраты на материально-техническое обеспечение
рассчитываются только для спасательных формирований и на эвакуацию персонала с
территории предприятия домой и в медицинские учреждения [32].
9.1
Расчет затрат на локализацию аварии и ликвидацию ее последствий
К основным показателям,
составляющим затраты на ликвидацию ЧС на Туймазинском газоперерабатывающем
заводе, относятся:
1)
затраты на
питание ликвидаторов аварии;
2)
затраты на оплату труда
ликвидаторов аварии;
3)
затраты на единовременную и
ежемесячные выплаты семьям погибших в результате ЧС;
4)
затраты на организацию
стационарного и амбулаторного лечения пострадавших;
5)
затраты на топливо и
горюче-смазочные материалы;
6)
затраты на восстановление разрушенных
объектов;
7)
амортизацию используемого
оборудования, технических средств, аварийно-спасательного инструмента.
9.1.1
Затраты на питание ликвидаторов аварии
Затраты на питание
рассчитывают, исходя из суточных норм обеспечения питанием спасателей, в
соответствии с режимом проведения работ [32]:
ЗПсут = ∑
(ЗПсут i ´ Чi ), (9.1)
где ЗПсут
– затраты на питание личного состава формирований в сутки;
ЗПсут i – суточная норма обеспечения
питанием, руб/(сут. на чел.);
i – число групп спасателей, проводящих
работы различной степени тяжести;
Чi – численность личного состава формирований,
проводящих работы по ликвидации последствий ЧС.
Тогда, общие затраты на
питание составят
Зп = (ЗПсут.
спас. ´ Чспас + ЗПсут. др.ликв.) ´ Дн, (9.2)
где Дн
– продолжительность ликвидации аварии, дней, в данном случае 1 день.
К работе в зоне ЧС
привлекается 179 человек (см. раздел 4), из них 107 человек выполняют тяжелую
работу, а остальные 72 человека – работу средней и легкой тяжести.
Таблица 9.1 - Затраты на питание личного
состава формирований, выполняющих работы различной степени тяжести
|
Наименование
продукта
|
Работы средней тяжести |
Тяжелые работы |
|
Суточная норма, г/(чел´сут)
|
Суточная норма, руб/(чел´сут)
|
Суточная норма, г/(чел´сут)
|
Суточная норма, руб/(чел´сут)
|
| Хлеб белый |
400 |
5,85 |
600 |
8,77 |
| Крупа разная |
80 |
1,68 |
100 |
2,1 |
| Макаронные изделия |
30 |
0,96 |
20 |
0,64 |
| Молоко и молокопродукты |
300 |
3,3 |
500 |
7,00 |
| Мясо |
80 |
5,6 |
100 |
3,66 |
| Рыба |
40 |
2,44 |
60 |
0,90 |
| Жиры |
40 |
0,72 |
50 |
1,68 |
| Сахар |
60 |
1,44 |
70 |
5,50 |
| Картофель |
400 |
4,8 |
500 |
6,00 |
| Овощи |
150 |
3,75 |
180 |
4,50 |
| Соль |
25 |
0,28 |
30 |
0,33 |
| Чай |
1,5 |
0,47 |
2 |
0,63 |
| Итого |
- |
31,3 |
- |
41,64 |
По формуле (9.2)
рассчитываем, что затраты на питание личного состава формирований составят:
Зп = (41,64
´ 107 + 31,3 ´ 72) ´ 1 = 6710 рублей.
Общие затраты на
обеспечение питанием спасательных формирований составят 6710 рублей.
Обеспечение питанием формирований РСЧС осуществляется в столовых и за счет
средств Туймазинского газоперерабатывающего завода, на территории которого
произошла ЧС.
9.1.2
Расчет затрат на оплату труда ликвидаторов аварии
Расчет затрат на оплату
труда проводят дифференцированно для каждой из групп участников ликвидации
последствий ЧС в зависимости от величины их заработной платы и количества
отработанных дней.
Расчет суточной
заработной платы участников ликвидации ЧС проводят по формуле [32]:
ФЗПСУТi = (Мес. оклад/ 30) ´ 1,15 ´ Чi , (9.3)
где Чi – количество участников ликвидации ЧС
i-ой группы.
Время ликвидации аварии
составляет одни сутки для пожарных подразделений и трое суток для всех
остальных формирований.
Таким образом, суммарные
затраты на оплату труда всем группам участникам ликвидации последствий ЧС
составят (таблица 9.2):
ФЗП = ∑ ФЗПi = 12190 + 68724 + … + 16416 = 292789
руб.
Таблица 9.2 - Затраты на оплату труда
участников ликвидации последствий ЧС на газофракционирующей установке ТГПЗ
| Наименование групп участников
ликвидации |
Заработная плата, руб/месяц |
Числен-ность, чел |
ФЗПсут, руб/чел
|
ФЗП за период проведения работ
для i-ой группы, руб |
| 1 |
2 |
3 |
4 |
5 |
| Пожарные подразделения |
6000 |
35 |
230 |
8050 |
| Отряд механизированной группы |
6500 |
23 |
249 |
5727 |
1
|
2 |
3 |
4 |
5 |
| Отряд ручной разборки завалов |
7000 |
56 |
268 |
15008 |
| Караул охраны завода |
8000 |
32 |
307 |
9824 |
| Медицинская служба |
5700 |
35 |
219 |
7665 |
| Водители, осуществляющие
эвакуацию |
6000
7000
|
2
14
|
230
264
|
460
3696
|
| ИТОГО |
50430 |
В результате проведенных
расчетов получим, что фонд заработной платы на оплату труда личного состава
формирований РСЧС при проведении работ по ликвидации ЧС на территории
Туймазинского газоперерабатывающего завода с учетом периода проведения работ
составит 50430 рублей.
9.1.3
Расчет затрат на организацию стационарного и амбулаторного лечения пострадавших
В результате
возникновения ЧС на Туймазинском газоперерабатывающем заводе величина
санитарных потерь составляет 57 человек.
Суммарные затраты на
лечение пострадавших складываются из затрат на реанимационное, стационарное и
амбулаторное лечение, исходя из стоимости одного койко-дня и продолжительности
лечения и рассчитываются по следующей формуле [32]:
Зл = ∑
Ск.-д..i ´ Дн , руб (9.8)
где Ск.-д. i – стоимость одного койко-дня при
соответствующем виде лечения, руб;
Дн – продолжительность лечения, дней.
Расчет затрат на
пребывание пострадавших в реанимационном отделении проводят по формуле:
Зрл
= Ск.-д..р. ´ Дн ´ Чр, (9.9)
где Чр
– численность пострадавших, проходящих лечение в реанимационном отделении.
Зрл
= 719,38 ´ 5 ´ 3 =10790,7 руб.
Расчет затрат на
пребывание пострадавших в терапевтическом отделении проводят по формуле (табл.
9.3):
Зтл
= Ск.-д..т. ´ Дн ´ Чт, (9.10)
где Чт
– численность пострадавших, проходящих лечение в терапевтическом отделении.
Зтл
= 123,23 ´ 21 ´ (25 + 3) = 72459,24 руб.
Расчет затрат на
пребывание пострадавших на амбулаторном лечении проводят по формуле:
Зал
= Ск.-д..а. ´ Дн ´ Ча, (9.11)
где Ча –
численность пострадавших, проходящих амбулаторное лечение в стационаре.
Зал
= 40,50 ´ 3 ´ (73 + 25 + 3) = 12271,5 рублей
Таблица 9.3 - Затраты на лечение пострадавших
| Вид лечения |
Стоимость одного койко-дня, руб. |
Средняя продолжительность лечения, дней |
Численность пострадавших, чел. |
Суммарные затраты, руб. |
|
Амбулаторное
Терапевтическое
Реанимационное
|
40,50
123,23
719,38
|
3
21
5
|
21
24
12
|
2551
62107
43164
|
| Итого |
107822 |
Суммарные затраты на
лечение пострадавшего при ЧС персонала предприятия составляют 107822 рубля.
9.1.4 Расчет затрат на топливо и горюче - смазочные
материалы
Затраты на горючие и смазочные материалы определяется
по формуле [32]:
ЗГСМ = Vбенз ´ Цбенз + Vдиз.
т. ´ Цдиз. т. + Vмот. м. ´ Цмот. м. +
+ Vтранс. м. ´ Цтранс. м. + Vспец. м. ´ Ц спец. м. + Vпласт. см. ´ Цпласт. м., (9.12)
где Vбенз, Vдиз. т., Vмот. м.,Vтранс. м. Vспец. м., Vпласт. см. – количество
использованного бензина, дизельного топлива, моторного масла, трансмиссионного
масла, специальных масел, пластичных смазок соответственно, л;
Цбенз, Цдиз. т., Цмот. м.,
Цтранс. м., Ц спец. м., Цпласт.
м. – стоимость бензина, дизельного топлива, моторного масла,
трансмиссионного масла, специальных масел, пластичных смазок соответственно, л/руб.
Ниже приведены цены (за
1л) на топливо и горюче-смазочные материалы:
1) Бензин – 14 руб.;
2) Дизельное топливо- 12
руб.;
3) Моторное масло – 36
руб.;
4) Трансмиссионное масло
– 55 руб.;
5) Специальное масло – 23
руб.;
6) Пластичные смазки – 27
руб. [34].
В таблице 9.4 приведен
перечень транспортных средств, используемых при ведении АСДНР на территории
ТГПЗ и нормы расхода горюче-смазочных материалов приведенной техники.
Таблица 9.4 - Техника и
нормы расхода горюче-смазочных материалов
| Тип автомобиля |
Кол-во |
Расход бензина,
л
|
Расход дизельного топли-ва, л |
Расход моторного/
транс-го/
спец-го масел, л
|
Расход смазки, кг |
| Пожарная автоцистерна |
7 |
2490 |
- |
2,2/0,3/0,1 |
0,2 |
| Автомобиль связи и оповещения |
1 |
24 |
- |
2,1/0,3/0,1 |
0,25 |
| Автотопливозаправщик |
2 |
386 |
- |
2,1/0,3/0,1 |
0,2 |
| Автокран |
1 |
232 |
- |
2,1/0,3/0,1 |
0,25 |
| Автопогрузчик |
1 |
92 |
- |
2,2/0,3/0,1 |
0,2 |
| Бульдозер |
2 |
- |
144 |
2,2/0,25/0,1 |
0,25 |
| Экскаватор |
2 |
- |
150 |
2,8/0,4/0,1 |
0,3 |
| Автобус |
2 |
406 |
- |
2,1/0,3/0,1 |
0,3 |
| ИТОГО |
27 |
3630 |
2163 |
20/2,75/0,9 |
2,1 |
Общие затраты на ГСМ составят:
ЗГСМ= 3630 ´ 14 + 2163 ´ 12 + 20 ´ 36 + 2,75 ´ 55 + 0,9 ´ 23 + 2,1 ´ 27 = =77724,65 руб.
На обеспечение техники
горюче-смазочными материалами потребуется 77724,65 рублей.
9.1.5 Расчет затрат на амортизацию используемого оборудования
и технических средств
Величина
амортизации используемого оборудования, технических средств определяется,
исходя из их стоимости, нормы амортизации и количества дней, в течение которых
это оборудование используется, по следующей формуле [32]:
А = [(На ´ Сст/ 100)/ 360] ´ Дн, (9.13)
где На
– годовая норма амортизации данного вида основных производственных фондов
(ОПФ), %;
Сст
– стоимость ОПФ, руб.;
Дн – количество отработанных дней.
Таблица 9.5 - Расчет величины амортизационных отчислений для
используемой техники
| Наименование использованной
техники |
Стоимость, руб. |
Кол-во, ед. |
Кол-во отрабо-танных дней |
Годовая норма амортизации, % |
Аморт.
отчисления, руб.
|
| Пожарная автоцистерна |
1200000 |
7 |
1 |
10 |
1667 |
| Автомобиль связи и оповещения |
500000 |
1 |
3 |
10 |
417 |
| Автотопливо-заправщик |
450000 |
2 |
3 |
10 |
750 |
| Автокран |
159000 |
1 |
3 |
10 |
132,5 |
| Автопогрузчик |
696000 |
1 |
3 |
10 |
580 |
| Бульдозер |
505000 |
2 |
3 |
10 |
842 |
| Экскаватор |
410000 |
2 |
3 |
10 |
683 |
| Автобус |
425000 |
2 |
1 |
10 |
354 |
| Итого |
10425,5 |
Результаты расчетов
(таблица 9.5) затрат за использование оборудования и технических средств,
необходимых для локализации пожара и ликвидации ЧС на ТГПЗ составляют 10425,5
рублей.
9.2
Расчет величины социального ущерба
Исходя из значений экономического эквивалента стоимости
жизни человека, проведем расчет ущерба от гибели 2 человек.
Результаты расчета приведены в таблице 9.2.
Таблица 9.2 Расчет величины социального ущерба
| Возрастная
группа |
Экономический
эквивалент стоимости жизни человека, тыс. руб. |
Количество
человек,
чел.
|
Потери
общества от преждевременной гибели людей, тыс. руб. |
| 31-35 |
2369 |
15 |
2369 |
| 41-45 |
2153 |
15 |
2153 |
| Итого |
|
|
67830 |
Социальный ущерб от чрезвычайной ситуации
на Туймазинскомгазоперерабатывающем заводе составит 67830 тыс. руб.
9.3
Определение величины экономического ущерба
Экономический ущерб от
взрыва и пожара на газофракционирующей установке оценивается остаточной
балансовой стоимостью разрушенного здания, оборудования и стоимостью
потерянного или пришедшего в негодность сырья и готовой продукции.
В результате аварии на
газофракционирующей установке Туймазинского газоперерабатывающего завода
разрушатся частично или полностью технологические аппараты, оборудование,
здания получат различную степень разрушения.
Таблица 9.6 - Перечень
технологического оборудования, поврежденного в результате аварии на ТГПЗ
| Наименование оборудования |
Стоимость оборудования, в руб. |
Оценочная стоимость оборудования
Ософ, руб |
Степень разрушения, % |
Остаточная стоимость, руб. |
| Емкость (стальная, горизонтальная) |
74777 |
20189 |
100 % |
20189 |
| Трубопроводов приема продуктов к
насосам |
88741 |
23960 |
60 % |
14376 |
| Трубопровод откачки продукта на
сырьевой парк |
1031482 |
278100 |
20 % |
55620 |
| Сигнализатор уровня |
18200 |
4914 |
100 % |
4914 |
| Фильтр для отделения воды из
газов |
541667 |
146250 |
100 % |
146250 |
| Регистратор технологических
параметров |
55547 |
14998 |
100 % |
14998 |
| Итого |
1820729 |
491196 |
|
245633 |
Оценочную стоимость
производственных фондов определяют по формуле:
Ософ = F – F · Z% , рублей, (9.14)
где F – восстановительная стоимость
оборудования основных фондов;
Z – процесс износа ОФ за период
эксплуатации, который определяется по формуле:
Z =
, % (9.15)
где РВ – реальный возраст
оборудования;
ТС – нормативный срок
функционирования технологического оборудования расположенного на территории резервуарного
парка.
Следовательно оценочная
стоимость для каждого оборудования рассчитывается исходя из срока введения его
в эксплуатацию.
После окончания работ по
ликвидации последствий аварии, экспертная группа проводит оценку степени
разрушения технологического оборудования, зданий и сооружений. На основании
экспертных оценок проводят расчет остаточной стоимости поврежденного
оборудования, по суммарной величине которой судят о причиненном чрезвычайной
ситуацией экономическом ущербе ТГПЗ.
Остаточную стоимость
технологического оборудования рассчитывают по формуле:
Стост = Ософ ´ к , рублей, (9.16)
где к – степень
разрушения технологического оборудования.
Результаты проведенных в
разделе расчетов представлены в таблице 9.6.
Таким образом,
экономический ущерб, причиненный основным производственным фондам Туймазинского
газоперерабатывающего завода, при взрыве и пожаре на газофракционирующей
установке составит 245633 рублей.
По приведенным расчетам
видно, что экономический ущерб от чрезвычайной ситуации составляет:
Уобщ =
6710+ 50430 + 107822 + 77724 + 10425 +
+ 67830000 + 245633 =
68328744 руб.
Анализируя результаты,
приведенные в разделе, можно сделать вывод о том, что аварии на предприятиях
переработки газа влекут за собой большой материальный ущерб и приводят к
значительным затратам при восстановлении производства. Фактические потери для
народного хозяйства значительно превышают определенный таким образом ущерб, так
как в него не включены убытки от простоя предприятия, стоимость
проектно-восстановительных работ.
10 МЕРОПРИЯТИЯ ПО ПОВЫШЕНИЮ ВЗРЫВОБЕЗОПАСНОСТИ газофракционирующей установки
Взрывобезопасность Туймазинского
газоперерабатывающего завода должна обеспечиваться комплексом профилактических
мероприятий и применением систем взрывозащиты производственного оборудования.
Профилактика взрывов направлена на предотвращение условий для возникновения
взрывоопасных смесей, насколько это допустимо с позиций обеспечения нормального
ведения технологических процессов, а также на исключение возможности появления
потенциальных источников зажигания.
10.1
Размещение здания заводоуправления на безопасном расстоянии от
газофракционирующей установки
Согласно расчетам,
проведенным в пунктах 3.6 и 3.3.1 здание заводоуправления, находящееся в 75 м
от геометрического центра газопаровоздушного облака, получит сильную степень
разрушения. Люди, находящиеся в здании заводоуправления (32 человека) погибнут
или получат травмы различной степени тяжести. Так как персонал заводоуправления
не связан непосредственно с ведением технологического процесса и обслуживанием
производства, целесообразно удалить здание на безопасное расстояние от
установки [4].
Найдем расстояние
удаления, при котором здание получит слабые разрушения. Примем
кПа. [42]

Dp = 101·[0,8 ·23440,33 / r + 3 ·2344 0,66 / r2 + 5·2344 /r3] = 4,6 кПа
ó r =250 м.
Таким образом, для
предотвращения повреждения здания заводоуправления при взрыве на
газофракционирующей установке, его необходимо удалить на расстояние 250 м к
северо-западу.(рисунок 1 Приложения А).
10.2
Предохранительные мембраны
В случае отказа предохранительного клапана в сосудах,
работающих под давлением, для дополнительной взрывозащиты оборудования,
предлагается установить специальные предохранительные мембраны, которые
разрываются при давлении, на 25% превышающем рабочее. Предохранительные
мембраны просты по конструкции и обладают высоким быстродействием (рисунок
10.1). Мембраны изготовляют из различных материалов в зависимости от специфики
производства.

Рисунок
10.1 – Линзовый зажим разрывной мембраны
Достоинством предохранительных мембран является
предельная простота их конструкции, что характеризует их как самые надежные из
всех существующих средств взрывозащиты. Кроме того, мембраны практически не
имеют ограничений по пропускной способности [4]/
10.3 Автоматические быстродействующие
задвижки
Наиболее уязвимыми
элементами технологической системы следует считать ручные задвижки, так как в
результате ошибочных действий, недостаточного либо запаздывающего вмешательства
обслуживающего персонала могут возникнуть чрезвычайные ситуации [4]. Поэтому
для автоматического управления технологическим процессом предлагается
установление автоматических задвижек с электроприводом. Задвижка представляет
собой сварную конструкцию, на которой крепятся два индуктора линейного
асинхронного двигателя (рисунок 10.2). В рабочем сечении задвижки и между
индукторами расположены направляющие, по которым перемещается шибер,
изготовленный из листа алюминия толщиной 6 мм. Шибер – основной рабочий орган,
перекрывающий проходное сечение задвижки, одновременно служащий вторичным
элементом линейного двигателя. При подаче напряжения к обмоткам катушек
индукторов в них образуется электромагнитное поле, которое взаимодействуя с
шибером, заставляет его перемещаться по направляющим [14].
Направление движения
шибера изменяется чередованием фаз трехфазного напряжения, подводимого к
индукторам линейного электропривода. Во время открытия (закрытия) шибер воздействует
на конечный выключатель, смонтированный на кронштейне и сигнализирующий о
положении шибера. При полностью открытом (закрытом) положении шибера задвижки
реле времени, предусмотренное во внешних цепях управления, отключает питание
индукторов, обеспечивая кратковременный (паспортный) режим работы
электроприводов.
Рабочее положение
задвижек должно обеспечивать перемещение шибера в горизонтальном направлении,
допустим поворот задвижек относительно продольной оси.

1 – патрубок; 2 – индуктор; 3
– кронштейн; 4 – шибер; 5 – направляющие; 6 –
резиновый уплотнитель; 7 – корпус; 8 – амортизатор.
Рисунок 10.2 - Быстродействующая
задвижка
10.4 Исключение образования
источников воспламенения при ударе и трении
В ряде случаев импульсом взрывов во взрывопожароопасных
производствах при возникновении взрывоопасной концентрации служат удары твердых
материалов, при которых образуются искры.
Для покрытия полов во взрывоопасных производствах
предлагается применять материалы, не искрящие при ударах стальными и другими
твердыми материалами. Металлические площадки и ступени лестниц также должны
быть покрыты неискрящими материалами. В отдельных случаях места прохода и
обслуживания машин и аппаратов покрывают специальными резиновыми ковриками [9].
Инструмент, используемый для проведения ремонтных и других
работ, должен быть изготовлен из бронзы, а стальной - хорошо омеднен.
Вентиляторы для взрыво- и пожароопасных помещений должны быть
искробезопасного исполнения. Ротор и кожух вентилятора изготавливают из
цветного металла, не дающего искру, или покрывают пластическими материалами. В
месте прохода вала вентилятора через "кожух устанавливают муфту из
цветного металла. При удалении пыли перед вентилятором помещают специальные
фильтры [4].
Особую опасность представляют работы по очистке оборудования
от отходов производства (полимеров, шлама, непрореагировавших продуктов и др.).
Перед проведением таких работ оборудование тщательно промывают, пропаривают и
продувают инертным газом или воздухом. К работам внутри аппаратов приступают
только после положительного анализа воздушной среды. Во избежание взрыва обувь
рабочих не должна иметь железных гвоздей: Для чистки применяют только
деревянный или металлический инструмент, не дающий искр при работе [9].
Для предотвращения искрения при работе технологического
оборудования, трущиеся части тщательно смазывают [4].
ВЫВОДЫ
На основании проведенного
анализа литературных источников и статистических данных показано, что
количество аварий связанных с пожарами на объектах нефтепереработки имеет
тенденцию к росту. В результате проведенной работы проанализированы
характеристики показателей пожаровзрывоопасности объекта - количество пожаров и
различных причин их возникновения.
Установлено, что
основными причинами взрывов и пожаров на установке газофракционирования являются
выход параметров технологического процесса за критические значения, отказ в
работе приборов контроля, нарушение герметичности оборудования. В связи с этим,
рассмотрены вопросы обеспечения пожарной безопасности технологических процессов
на газофракционирующей установке Туймазинского газоперерабатывающего завода.
Установлено, что
возникновение и развитие аварийных ситуаций на газофракционирующей установке
повлечет за собой ущерб здоровью и жизни людей, потери материальных ценностей и
загрязнение окружающей природной среды.
Произведена
количественная оценка возможного ущерба и потерь: при наиболее неблагоприятном
сценарии (взрыв, пожар) от поражающего воздействия ударной волны взрыва
погибнет 30 человек, 57 человек получат травмы и ожоги различных степеней
тяжести, произойдут разрушения зданий и сооружений.
Для уменьшения масштабов
аварии и числа потерь в зоне ЧС составлен план организации
аварийно-спасательных и других неотложных работ. В ходе выполнения дипломной
работы был определен состав сил и средств ликвидации возможной аварии и их
количество. Всего привлекается 179 человек личного состава формирований и 52
единицы техники.
Установлено, что
своевременность реагирования сил на возникновение чрезвычайной ситуации зависит
от степени их согласованности и взаимодействия. При ликвидации последствий аварии
эффективность проведение АСДНР зависит также от материально-технического и тылового
обеспечения привлекаемых сил и средств. Выполнен расчет необходимых средств
МТО, включая количество продуктов питания, воды, ГСМ. Произведен анализ
материально-технических характеристик и современного состояния парка пожарных
автомобилей.
При возникновении аварии
и ее последствий организуется медицинская и психологическая помощь
пострадавшему населению. Медицинская помощь включает в себя удаление из зоны
воздействия поражающих факторов ЧС, принятие антидотов и доставку при
необходимости в лечебные учреждения.
Рассмотрены вопросы
обеспечения пожаровзрывозащиты газофракционирующей установки. Определены
критерии пожаровзрывоопасности: интенсивности теплового излучения пожара
пролива, рассчитаны радиусы зон опасных значений теплового излучения пожара, в случае
горения смеси по дефлаграционному режиму.
Произведен анализ причин
возникновения чрезвычайных ситуаций на объекте и величины рисков возникновения
аварий, которые оцениваются возможными социальными и материальными потерями.
По результатам каждого этапа
исследований, выполненных в ходе выполнения работы предложены мероприятия,
выполнение которых позволит улучшить обстановку с взрывами и пожарами в
Республике Башкортостан, повысить безопасность функционирования объекта.
ПРИЛОЖЕНИЕ А
(обязательное)
Таблица 1 - Состав (по массе) сжиженных углеводородных газов трех
марок, регламентированный нормами (нн - не нормируется)
| Показатель |
СПБТЗ |
СПБТЛ |
БТ |
| Сумма пропана и
пропилена: не менее % |
75 |
нн |
нн |
| Сумма бутанов и
бутиленов: не менее % |
нн |
- |
60 |
| не более %: |
нн |
60 |
- |
| Сумма метана,
этана, этилена не более % |
4 |
6 |
6 |
| Жидкий остаток
(по объему) не более % |
1 |
2 |
2 |
|
Давление
насыщенных паров Ризб, МПа
|
|
|
|
| при +45°С не
более |
1,6 |
1,6 |
1.6 |
| при -45°С не
менее |
0,16 |
- |
- |
| Массовая доля
сероводорода |
|
|
|
| и меркаптановой
серы не более % |
0,015 |
0,015 |
0,015 |
| в том числе
сероводорода не более % |
0,003 |
0,003 |
0,003 |
| Свободной воды и
щелочи |
- |
- |
- |
Таблица 2
- Характеристики
углеводородов, входящих в состав сжиженных газов
| Параметры |
Пропан |
Бутан |
| Химическая формула |
С3Н8
|
С4Н10
|
| Молекулярная масса |
44 |
58 |
| Плотность жидкой фазы при
температуре 15° С и атмосферном давлении, кгм / м.куб. |
510 |
580 |
|
Температура кипения при
атмосферном давлении, 0С
|
-43 |
-0,5 |
|
Теплота сгорания в газообразном
состоянии, МДж/м3
|
85 |
111 |
| Пределы воспламеняемости в смеси
с воздухом при нормальных атмосферных условиях, % объема: |
|
|
| Нижний |
2.1 |
1,8 |
| Верхний |
9,5 |
8,5 |
| Октановое число |
110 |
95 |
| Степень сжатия |
10...12 |
7,5...8,5 |
| Теоретически необходимое
количество воздуха для сгорания 1 кг топлива, кг |
15,8 |
15,6 |
Таблица 3 - Предельно допустимая интенсивность теплового
излучения пожаров
| Степень поражения |
Интенсивность теплового излучения,
кВт/м2
|
| Без негативных последствий в
течение длительного времени |
1,4 |
| Безопасно для человека в
брезентовой одежде |
4,2 |
|
Непереносимая боль через 20—30 с
Ожог 1-й степени через 15—20 с
Ожог 2-й степени через 30—40 с
Воспламенение хлопка-волокна
через 15 мин
|
7,0 |
|
Непереносимая боль через 3—5 с
Ожог 1-й степени через 6—8 с
Ожог 2-й степени через 12—16 с
|
10,5 |
| Воспламенение древесины с
шероховатой поверхностью (влажность 12 %) при длительности облучения 15 мин |
12,9 |
| Воспламенение древесины,
окрашенной масляной краской по строганой поверхности; воспламенение фанеры |
17,0 |
Таблица 4 - Значения условной
вероятности поражения человека в зависимости от Рr
|
Условная
вероятность поражения, %
|
Рr
|
| 0 |
1 |
2 |
3 |
4 |
5 |
6 |
7 |
8 |
9 |
| 0 |
- |
2,67 |
2,95 |
3,12 |
3,25 |
3,36 |
3,45 |
3,52 |
3,59 |
3,66 |
| 10 |
3,72 |
3,77 |
3,82 |
3,90 |
3,92 |
3,96 |
4,01 |
4,05 |
4,08 |
4,12 |
| 20 |
4,16 |
4,19 |
4,23 |
4,26 |
4,29 |
4,33 |
4,36 |
4,39 |
4,42 |
4,45 |
| 30 |
4,48 |
4,50 |
4,53 |
4,56 |
4,59 |
4,61 |
4,64 |
4,67 |
4,69 |
4,72 |
| 40 |
4,75 |
4,77 |
4,80 |
4,82 |
4,85 |
4,87 |
4,90 |
4,92 |
4,95 |
4,97 |
| 50 |
5,00 |
5,03 |
5,05 |
5,08 |
5,10 |
5,13 |
5,15 |
5,18 |
5,20 |
5,23 |
| 60 |
5,25 |
5,28 |
5,31 |
5,33 |
5,36 |
5,39 |
5,41 |
5,44 |
5,47 |
5,50 |
| 70 |
5,52 |
5,55 |
5,58 |
5,61 |
5,64 |
5,67 |
5,71 |
5,74 |
5,77 |
5,81 |
| 80 |
5,84 |
5,88 |
5,92 |
5,95 |
5,99 |
6,04 |
6,08 |
6,13 |
6,18 |
6,23 |
| 90 |
6,28 |
6,34 |
6,41 |
6,48 |
6,55 |
6,64 |
6,75 |
6,88 |
7,05 |
7,33 |
| — |
0,00 |
0,10 |
0,20 |
0,30 |
0,40 |
0,50 |
0,60 |
0,70 |
0,80 |
0,90 |
| 99 |
7,33 |
7,37 |
7,41 |
7,46 |
7,51 |
7,58 |
7,65 |
7,75 |
7,88 |
8,09 |
Таблица 5 - Степени
разрушения зданий от избыточного давления при взрывах горючих смесей
| Типы зданий |
Степени разрушения и избыточные
давления, кПа |
|
|
слабые |
средние |
сильные |
полные |
|
Кирпичные и каменные:
малоэтажные
многоэтажные
|
8 - 20
8 - 15
|
20 - 35
15 - 30
|
35 - 50
30 - 45
|
50 - 70
45 - 60
|
|
Железобетонные крупнопанельные:
малоэтажные
многоэтажные
|
10 - 30
8 - 25
|
30 - 45
25 - 40
|
45 - 70
40 - 60
|
70 - 90
60 - 80
|
|
Железобетонные монолитные:
многоэтажные
повышенной этажности
|
25 - 50
25 - 45
|
50 - 115
45 - 105
|
115 - 180
105 - 170
|
180 - 250
170 - 215
|
|
Железобетонные крупнопанельные
с железобетонным и металлическим
каркасом и крановым оборудованием грузоподъемностью, в тоннах:
до 50
от 50 до 100
|
5 - 30
15 - 45
|
30 - 45
45 - 60
|
45 - 75
60 - 90
|
75 - 120
90 - 135
|
|
Здания со стенами типа "
Сэндвич "
и крановым оборудованием
грузоподъемностью до 20 тонн
|
10 - 30 |
30 - 50 |
50 - 65 |
65 - 105 |
|
Складские помещения
с металлическим каркасом и
стенами из листового металла
|
5 - 10 |
10 - 20 |
20 - 35 |
35 - 45 |
Таблица 6 -
Объемно-массовые характеристики завала
| Тип здания |
Пустот-ность
(a),
м3
|
Удельный объем
(g),
м3
|
Объемный вес
(b),
т/м3
|
| Производственные здания: |
| одноэтажное легкого типа |
40 |
14 |
1.5 |
| одноэтажное среднего типа |
50 |
16 |
1.2 |
| одноэтажное тяжелого типа |
60 |
20 |
1 |
| многоэтажное |
40 |
21 |
1.5 |
| смешанного типа |
45 |
22 |
1.4 |
| Жилые здания бескаркасные: |
| кирпичное |
30 |
36 |
1.2 |
| мелкоблочное |
30 |
36 |
1.2 |
| крупноблочное |
30 |
36 |
1.2 |
| крупнопанельное |
40 |
42 |
1.1 |
| Жилые здания каркасные: |
| со стенами из навесных панелей |
40 |
42 |
1.1 |
| со стенами из каменных материалов |
40 |
42 |
1.1 |
Примечания:
1) Пустотность завала (a) - объем пустот на 100 м3 завала.
2) Удельный объем завала
(g) - объем завала на 100 м3 строительного объема.
3) Объемный вес завала (b) - вес в т 1 м3 завала.
Таблица 7 - Вес основных
конструктивных элементов жилых зданий и содержание арматуры
| Тип здания |
Конструктивные элементы |
Вес,
т
|
Содержание арматуры, кг |
| Бескаркасное |
| Кирпичное |
Максимальный вес обломков стен |
1.5 |
- |
| Мелкоблочное |
Максимальный вес обломков стен |
1 |
- |
| Крупноблочное |
Максимальный вес обломков стен |
2 |
- |
| Крупнопанельное |
Панели наружных стен |
4 |
140 |
| Каркасное |
|
Со стенами из
навесных панелей
|
Панели наружных стен |
3 |
100 |
| Со стенами из каменных материалов |
Максимальный вес обломков стен |
1 |
- |
|
|
Колонны: Н = 8 м |
|
|
|
|
сечением 30 х 30 см ( до 5
этажей) |
2 |
150 |
|
|
Н = 8 м |
|
|
|
|
сечением 40 х 40 см ( 5-12
этажей) |
2.5 |
200 |
|
|
Ригели каркаса 40 х 45 см |
2 |
150 |
|
|
Плиты перекрытий 6 х 1 м |
2.5 |
150 |
ПРИЛОЖЕНИЕ
Б
(справочное)

Рисунок 4 - Экскаватор
колесный SOLAR 210W-V [39].
Таблица 4 - Техническая
характеристика экскаватора SOLAR 210W-V
|
|
моно стрела |
шарнирная стрела |
| Эксплуатационная масса (кг) |
19800 |
20550 |
|
Объем ковша (м3)
|
0,5-1,18 |
| Скорость передвижения (км/ч) |
35 |
| Двигатель: |
модель |
DB 58TIS |
| мощность (КВт) |
115 |
|
Рабочие
хар-ки
|
max. длина копания (мм) |
9694 |
9224 |
| max. глубина копания (мм) |
6560 |
5557 |
| max. высота подъема ковша (мм) |
9667 |
10325 |
| Габариты |
длина (мм) |
9535 |
7029 |
| ширина (мм) |
2494 |
2494 |
| высота (мм) |
3790 |
3990 |
|

Рисунок 5 - Автокран
КС-35715 [39]
Таблица 5 - Техническая
характеристика автокрана КС-35715
| Базовое шасси |

|
МАЗ-5337 |
| Привод механизмов крана |

|
гидравлический |
| Грузоподъемность, т |

|
16 |
| Двигатель |

|
ЯМЗ-236M2 |
| Мощность двигателя, кВт (л.с.) |

|
132 (180) |
| Скорость подъема/опускания груза,
м/мин |

|
0.2 ... 17 |
|
Максимальная скорость подъема
(опускания)
пустого крюка и грузов до 4,5 т,
м/мин
|

|
22 |
| Скорость посадки, м/мин |

|
0,2 |
| Частота вращения, мин-1 |

|
2,5 |
| Скорость передвижения, км/ч |

|
60 |
|
Габаритные размеры в транспортном
положении
|
| Длина, мм |

|
10000 |
| Ширина, мм |

|
2500 |
| Высота, мм |

|
3850 |
| Длина стрелы, м |

|
8 ... 18 |
| Вылет стрелы, м |

|
1.9 ... 17 |
|
Максимальная высота подъема
на основной стреле, м
|

|
9.1 ... 18.4 |
|
Максимальная высота подъема
с дополнительным оборудованием, м
|

|
25.0 |
|
Время перевода крана
из транспортного положения в
рабочее, мин
|

|
4 |
| Дополнительное оборудование |

|
гусек 7 м |

Рисунок 6 – Бульдозер
Д-521
Таблица 6 - Технические
характеристики бульдозера Д-521
| № |
Характеристики |
Значение |
| 1 |
Базовый трактор |
ЛТЗ-60АБ |
| 2 |
Двигатель, мощность, кВт (л.с.) |
Д-248, 60 л.с. |
| 3 |
Тип управления рабочими органами |
Гидравлика, джойстики - 3 шт. |
| 3.1 |
Гидрораспределитель |
7-ми секционный, Salami |
| 4 |
Габариты, мм |
6000х2000х3800 |
| 5 |
Масса расчетная, кг |
5200 |
|
6
|
Бульдозерный отвал
|
|
| 6.1 |
Минимальная ширина захвата, мм |
2100 |
|
7
|
Экскавационное оборудование с осевым расположением
|
|
| 7.1 |
Номинальный объем, м3
|
0,25 |
| 7.2 |
Максимальная глубина копания, мм |
4300 |
| 7.3 |
Максимальная высота выгрузки, мм |
3700 |
| 7.4 |
Максимальный радиус копания, мм |
5600 |
| 7.5 |
Поворот стрелы в сторону, град. |
180 |
| 7.6 |
Продолжительность рабочего цикла,
не более, сек. |
16 |
| 7.7 |
Усилие копания, не менее, Н (кгс) |
35000 (3500) |
Список
литературы
1.
Чуракаев А.М.
Переработка нефтяных газов. Учебник для рабочих. М., Недра, 1983, 279 с.
2.
Декларация
промышленной безопасности Туймазинского газоперерабатывающего завода ОАО «АНК
Башнефть». – Туймазы: 2002
3.
Балыбердина
И.Т.:Физические методы переработки и использования газа; М., Недра, 1988, 123
с.
4.
М.В. Бесчастнов.
Взрывобезопасность и противоаварийная защита химико-технологичесикх
процессов..- М.: Химия, 1983 - 471 с.
5.
Курицын Б.Н.
Системы снабжения сжиженным газом. Саратов,1988
6.
Колбенков С.П.:
Установки сжиженного газа в коммунально-бытовых и промышленных потребностей; М:
Недра,1969, с.98
7.
ГОСТ 20448-90
«Газы углеводородные сжиженные топливные для коммунально-бытового потребления»
8.
Бард В.А., Кузин
А.В. Предупреждение аварий в нефтеперерабатывающих и нефтехимических
производствах. М.: Химия, 1989 - 356 с.
9.
М.В. Бесчастнов,
В.М. Соколов. Предупреждение аварий в химических производствах. – М.: Химия,
1979.-392с.
10.
В. Маршалл.
Основные опасности химических производств. - М.: Мир, 1989г.
11.
М.В. Бесчастнов,
В.М. Соколов. Аварии в химических производствах и меры их предупреждения. – М.:
Химия, 1976-376с.
12.
Атаманюк В.Г.
Гражданская оборона. – М.: Высш. шк., 1987. – 288 с.
13.
Повзик Я. С.
Справочник руководителя тушения пожара. – М.: ЗАО « Спецтехника», 2004. – 367
с.
14.
Васильев П. П.
Безопасность жизнедеятельности. – М.: Юнити, 2003. – 188 с.
15.
Шувалов М. Г.
Основы пожарного дела. – М.: Стройиздат, 1983. – 399 с.
16.
Муравьева С. И.,
Буковский М. И., Прохорова Е. К. Руководство по контролю вредных веществ в
воздухе рабочей зоны: Справ. изд. – М.: Химия, 19991. – 368 с.
17.
Расход топлива и
ГСМ. – М.: «Приор-издат», 2003 . – 80с.
18.
Каммерер Ю.Ю.,
Харкевич А.Е. Аварийные работы в очагах поражения: Учебное пособие/под ред.
Б.П.Иванова. – 2-е изд., перераб. и доп. – М.: Энергоатомиздат, 1990. – 288 с.
19.
Иванников В.П.,
Клюс П.П. Справочник руководителя тушения пожара. – М.: Стройиздат, 1987. – 288
с.
20.
Иванов Е.Н.
Основы пожарной защиты нефтеперерабатывающих заводов. – М.: Химия, 1977. – 145
с.
21.
Э.Д. Хешти, X. Кумамото. Надежность технических
систем и оценка риска. М.: Машиностроение, 1984 г.
22.
Бейкер и др.
Взрывные явления. Оценка и последствия. М.:Мир,1986 г.
23.
В.Г. Жиряков
«Органическая химия», М.: Химия, 1974 г.
24.
М.Г. Рудин, А.Е.
Драбкин. Краткий справочник нефтепереработчика. Л.: Химия, 1980 г.
25.
Товарные
нефтепродукты. Свойства и применение. Справочник / под. ред. В.М. Школьникова.
-М.: Химия, 1978 г.
26.
И. Л. Кнунянц.
Краткая химическая энциклопедия, М.: Химия, 1969г.
27.
Н.Н.Красногорская,
Н.Ю.Цвиленева, Р.З.Хамитов. Обеспечение безопасности жизнедеятельности в
чрезвычайных ситуациях техногенного характера../УГАТУ. – Уфа, 1998 – 107 с.
28.
Веселов А.И.,
Мешман Л.М. Автоматическая пожаро- и взрывозащита предприятий химической и
нефтехимической промышленности. М.: Химия, 1975.
29.
Методика
(основные положения) определения экономической эффективности использования в
народном хозяйстве новой техники, изобретений и рационализаторских предложений.
— М.: Экономика, 1978.
30.
Требования по
предупреждению ЧС на потенциально опасных объектах и объектах жизнеобеспечения.
Приказ от 28.02.2003 №105. Журнал «Гражданская защита» №9, сентябрь 2003, стр.
25.
31.
Кимстач И.Ф., Давлишев П.П.,
Евтюшкин Н.М. Пожарная тактика. –М.: Стройиздат, 1984.-591 с.
32.
Перечень
превентивных мероприятий при чрезвычайных ситуациях: методическое пособие. –
М.: Академия гражданской защиты, 2000. – 80 с.
33.
Хомяков Н.Н.,
Чурсин В.Ф. Средства тушения пожаров на промышленных объектах //Пожарное дело.
2003, №3, 56 с.
34.
ПБ 09-170-97.
Общие правила взрывобезопасности для взрывопожароопасных химических,
нефтехимических и нефтеперерабатывающих производств.
35.
Определение категорий
помещений и зданий по взрывопожарной и пожарной опасности. НТБ 105-95 М.: ГУГПС
МВД России.
36.
ППБ 01-93. Правила пожарной
безопасности в РФ.
37.
ГОСТ 12.1.004 –
91. Пожарная безопасность. Общие требования.
38.
ГОСТ 12.1.010-76.
Взрывобезопасность. Общие требования.
39.
ГОСТ 12.3.047-98.
Пожарная безопасность технологических процессов.
40.
РД 34.21.122-87.
Инструкция по устройству молниезащиты зданий и сооружений.
41.
ВСН 25-09.67-85.
Автоматические установки пожаротушения.
42.
НПБ 101-95. Нормы
проектирования объектов пожарной охраны.
43. СНиП 21-01-97 Пожарная
безопасность зданий и сооружений. –М: 1999 г.
44.
НПБ 105-03
Определение категорий помещений, зданий и наружных установок по взрывопожарной
и пожарной опасности.
45.
ГОСТ Р
12.3.047-98 Пожарная безопасность технологических процессов.
46.
НПБ 163-97.
Пожарная техника. Основные пожарные автомобили. Общие технические требования.
Методы испытаний.
47.
Устав тушения
пожаров и проведения аварийно-спасательных работ пожарной охраны (Проект с учетом
замечаний и предложений департаментов МЧС РФ), Москва , 2004.-79 с.
48.
Федеральный закон
«Об аварийно-спасательных службах и статусе спасателя» от 22 августа 1995 г
№151- ФЗ.
49.
Федеральный закон
"О промышленной безопасности опасных производственных объектов" от 21
июля 1997г.,N 116-ФЗ.
50.
Постановление
Правительства Российской Федерации "О декларировании безопасности
промышленного объекта Российской Федерации" от 1 июля. 1995г. N 675.
51.
Федеральный закон
"О защите населения и территорий от чрезвычайных ситуаций природного и
техногенного характера". Принят Государственной Думой 11 ноября 1994г.
52.
Положение о
системе экологической безопасности Российской Федерации Утверждено Минприродой
России от 3 декабря 1992г.
53.
РД 03 – 418 – 01.
Методические указания по проведению анализа риска опасных производственных
объектов.
54.
Временные
рекомендации по тушению пожаров на объектах переработки и хранения сжиженных
газов с помощью передвижной техники. – М.: ВНИИПО, 1975. – 36 с.
55.
Правила пожарной
безопасности при эксплуатации предприятий нефтепродуктообеспечения ВППБ
01-01-94.
56.
Методика оценки последствий
аварий на пожаро-, взрывоопасных объектах. М.: ВНИИГОЧС, 1994 г.
57.
Обеспечение
пожарной безопасности объектов хранения и переработки сжиженных углеводородных
газов. Рекомендации. Научно-исследовательский институт противопожарной обороны.
58.
Общие правила
взрывобезопасности для взрывоопасных химических и нефтехимических
производств.-М.: 1998 г.
59.
Методика оценки
аварий на пожаровзрывоопасных объектах, МЧС 1994 г.
60.
«Безопасность
жизнедеятельности» №9, 2005 г.
61.
«Гражданская
защита», изд. 1-12, 2001-2005 гг.
62.
http
: // www.
cafcointl.com.
63.
http
: //www/lafgroup.com.