Курсовая работа: Расчет кожухотрубного теплообменника
1. Тепловой расчет
Цель теплового расчета –
определение необходимой площади теплопередающей поверхности, соответствующей
при заданных температурах оптимальным гидродинамическим условиям процесса и
выбор стандартизованного теплообменника [1].
Из основного уравнения
теплопередачи:
, (1)
где F – площадь
теплопередающей поверхности, м2;
Q – тепловая нагрузка
аппарата, Вт;
K – коэффициент
теплопередачи,
;
– средний температурный напор, К.
1.1 Определение тепловой нагрузки
аппарата
В рассматриваемой задаче
нагревание воды осуществляется в горизонтальном теплообменнике теплотой
конденсирующего пара, поэтому тепловую нагрузку определим по формуле [6]:
, (2)
где Gхол – массовый расход воды, кг/с,
;
Схол – средняя
удельная теплоемкость воды, Дж/(кг×К);
Тк, Тн
– конечная и начальная температуры воды, К;
– коэффициент, учитывающий потери
теплоты в окружающую среду при нагревании,
=
1,05.
Средняя
температура воды:
0С ,
Этому значению
температуры соответствует

.
Тогда
Вт,
с учетом потери
Вт.
1.2 Определение расхода
пара и температуры его насыщения
Расход пара определим из
уравнения:
, (3)
где D – расход пара, кг/с;
r – скрытая теплота конденсации пара,
Дж/кг.
По [2, прил. LVII] при Рп
= 0,3 МПа, r = 2171×103 Дж/кг, Тк =
133 0С.
Из формулы (3) следует,
что
кг/с.
1.3 Расчет температурного
режима теплообменника
Цель расчета –
определение средней разности температур
и
средних температур теплоносителей tср1 и tср2. Для определения среднего
температурного напора составим схему движения теплоносителей.
Тн = 191,7 0С
Пар Тк = 191,7 0С
tк = 96 0С Вода tн = 40 0С
0С
0С
Так как
, то
0С.
Температура пара в
процессе конденсации не изменяется, поэтому tср1 = Тп = 191,7 0С, а средняя температура
воды : tср 2 = tср 1-
tср = 191,7-123,7=68 0С.
1.4 Выбор теплофизических характеристик теплоносителей
Теплофизические свойства
теплоносителей определяем при их средних температурах и заносим в таблицу 1.
Таблица 1 Теплофизические
свойства теплоносителей

1.5 Ориентировочный расчет площади
поверхности аппарата. Выбор конструкции аппарата
Ориентировочным расчетом
называется расчет площади теплопередающей поверхности по ориентировочному
значению коэффициента теплопередачи К, выбираемому из [1, табл. 1.3]. Принимаем
К= 800 Вт/(м2×К), поскольку теплота передаётся от конденсирующего
пара к воде, тогда ориентировочное значение площади аппарата по формуле (1)
м2.
Так как в аппарате горячим
теплоносителем является пар, то для обеспечения высокой интенсивности
теплообмена со стороны воды, необходимо обеспечить турбулентный режим движения
и скорость течения воды в трубках аппарата. Принимаем число Рейнольдса Re =
12000.
Для изготовления
теплообменника выберем трубы стальные бесшовные диаметром 25х2 мм.
Необходимое число труб в
аппарате n, обеспечивающее такую скорость, определим из
уравнения:
, (4)
где n –
количество труб в аппарате, шт.;
d – внутренний диаметр труб, м;
G – массовый расход воды, кг/с;
- динамическая вязкость, Па·с;
Re – число Рейнольдса.
Из формулы (4):
шт.
Такому числу труб n = 39 шт. и площади поверхности
аппарата F = 18,3 м2 по [1, табл. 1.8] ГОСТ 15118-79 и ГОСТ 15122-79 наиболее полно отвечает
кожухотрубчатый двухходовой теплообменник диаметром 325 мм, с числом труб 28 в одном ходе, длиной теплообменных труб 4000 мм и площадью поверхности F = 17,5 м2.
Проверим скорость
движения воды в трубах аппарата:
м/с.
Значение скорости находится в
рекомендуемых пределах, поэтому выбор конструкции аппарата закончен.
1.6 Приближенный расчет
коэффициентов теплоотдачи и коэффициента теплопередачи
Приближенным расчетом
называется расчет коэффициентов
и К по
формулам, не учитывающим влияние температуры стенки теплопередающей поверхности
на интенсивность теплоотдачи [1].
Коэффициент теплоотдачи
при конденсации водяного пара на пучке вертикальных труб без учета температуры
стенки рассчитывается по формуле [1, с. 24]:
, (5)
где G – массовый расход конденсирующегося
пара, G = 6,24·10-1 кг/с;
n – число труб в аппарате с наружным
диаметром d, шт;
– теплопроводность, плотность и
вязкость конденсата при температуре конденсации.
По формуле (5)
.
Режим
движения воды в трубках аппарата:
– турбулентный, так как Re>104.
Для расчета процесса
теплоотдачи в закрытых каналах при турбулентном режиме движения и умеренных
числах Прандтля (Рr < 80) рекомендуется уравнение [1,
с. 23]:
, (6)
где
– критерий Нуссельта;
– критерий Рейнольдса;
– критерий Прандтля;
– отношение, учитывающее влияние
направления теплового потока (нагревание или охлаждение) на интенсивность
теплоотдачи.
Отношение
принимаем равным 1, тогда
по формуле (6):
, а
.
Принимаем тепловую
проводимость загрязнений со стороны греющего пара [2, табл. ХХХI]:
,
а со стороны воды [2,
табл. ХХХI]:
,
,
.
Тогда

Или
,
где
– сумма термических
сопротивлений всех слоев, из которых состоит стенка, включая слои загрязнений.
Так как теплообменная
трубка тонкостенная (dвн >
),
то для расчета коэффициента теплопередачи применяют формулу для плоской стенки
, (7)
где
– коэффициенты
теплопередачи со стороны пара и воды,
;
– сумма термических сопротивлений.
По формуле (7)
.
Расчетная площадь
поверхности теплообмена по формуле (1):
м2.
Площадь поверхности
теплообмена выбранного теплообменного аппарата F=17,5 м2 , что отвечает требуемой поверхности,
т.е. для выполнения уточненного расчета оставляем ранее выбранный в
ориентировочном расчете аппарат.
1.7 Уточненный расчет
коэффициентов теплоотдачи. Окончательный выбор теплообменного аппарата
Уточненным называется расчет
коэффициентов теплоотдачи с учетом температуры стенки.
Расчет температуры стенки
ведем методом последовательных приближений.
Первое приближение.
Задаемся значением
температуры стенки со стороны пара, равным
=
1000С.
Расчет коэффициента
теплоотдачи при конденсации пара с учетом температуры стенки на пучке
вертикальных труб будем вести по формуле [1, с. 24]:
, (8)
где
,
,
,
- плотность,
теплопроводность, удельная теплота конденсации, динамическая вязкость пленки
при
;
- разность температур
стенки и конденсирующегося пара;
- длина труб.
Температура пленки:
0С.
Для
= 16,5 0С:
= 59,06·10-2 Вт/(м·К);
= 998,7 кг/м3;
= 2460,85 ·103 Дж/кг;
= 1108 ·10-6
Па·с.
По формуле (8):
Вт/(м2·К).
Удельная тепловая
нагрузка со стороны пара:

Рассчитываем
температуру стенки со стороны воды [1, с.16]:
, (9)
По формуле (9):
0С.
При этой температуре для
воды [2, табл. ХXXIX]
(Рrст2 )І= 2,48.
С учетом
температуры стенки
;
.
Удельная тепловая
нагрузка со стороны воды:

Сравнивая (q1)I
с (q2)I,
приходим к выводу, что 91571,5>>52088, поэтому расчет температуры стенки
продолжаем, задаваясь другим значением температуры стенки со стороны пара.
Второе приближение
Задаемся температурой
стенки со стороны пара (tст1)II = 105 0С.
Температура пленки:
0С, тогда
= 133-105 = 28 0С
Для
= 14 0С:
= 58,46·10-2 Вт/(м·К);
= 999,2 кг/м3;
= 2467,6 ·103 Дж/кг;
= 1186 ·10-6 Па·с.
По формуле (7):
Вт/(м2·К).
Удельная тепловая
нагрузка со стороны пара:

Рассчитываем
температуру стенки со стороны воды по формуле (9):
0С.
При этой температуре для
воды [2, табл. ХXXIX]
(Рrст2 ) = 2,158.
С учетом
температуры стенки:
;
.
Удельная тепловая
нагрузка со стороны воды:

И во втором приближении
разница между (q1)ІІ и (q2)II более 5%

Расчет продолжаем,
определяя tст1 графически по пересечению линий q1=f(tст1) и q2=f(tст2)
По найденному графически
температуре (tст1)ІІІ=104,15С выполняем
третий, проверочный расчет.
Температура пленки:
0С, тогда
= 133-104,5 = 28,85 0С
Для
= 14,425 0С:
= 58,56·10-2 Вт/(м·К);
= 999,15 кг/м3;
= 2466·103 Дж/кг;
= 1173 ·10-6 Па·с.
По формуле (7):
Вт/(м2·К).
Удельная тепловая
нагрузка со стороны пара:

Рассчитываем
температуру стенки со стороны воды по формуле (9):
0С.
При этой температуре для
воды [2, табл. ХXXIX]
(Рrст2 )= 2,1.
С учетом
температуры стенки:
;
.
Удельная тепловая
нагрузка со стороны воды:

Сравнивая (q1)III с (q2)ІІІ, приходим к выводу, что отклонение

т.е. не превышает 5%,
поэтому расчет можем считать законченным.
Удельные тепловые потоки
по обе стороны стенки равны (рис.2)

Рис. 2 Схема процесса
теплопередачи
По формуле (7)
коэффициент теплопередачи:
.
Площадь поверхности
аппарата определяем по формуле (1):
м2,
По [1, табл. 1.8] ГОСТ
15122-79 окончательно выбираем двухходовой аппарат диаметром d=325 мм, с числом труб n = 56 шт, с длиной теплообменных труб
L = 4000 мм и F = 17,5 м2.
1.8 Обозначение
теплообменного аппарата
1) Диаметр кожуха D = 325 мм по [1, с. 29] ГОСТ 9617-76.
2) Тип аппарата ТНВ – теплообменник с
неподвижными трубными решётками вертикальный.
3) Условное давление в трубах и кожухе –
0,3 МПа.
4) Исполнение по материалу – М1.
5) Исполнение по температурному пределу
– 0 – обыкновенное.
6) Диаметр трубы d= 25 мм.
7) Состояние поставки наружной трубы – Г
– гладкая.
8) Длина труб L= 4,0 м.
9) Схема размещения труб – Ш – по
вершинам равносторонних треугольников.
10)
Число ходов – 2.
Группа исполнения – А.
Теплообменник
гр. А ГОСТ 15122-79.

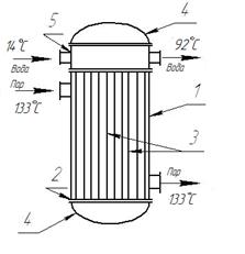
Рис. 3. Вертикальный
двухходовой кожухотрубчатый теплообменник
1-кожух; 2-трубная
решетка; 3-трубка, 4-крышка, 5-распределительная камера
2. Конструктивный расчет
Цель конструктивного
расчета теплообменных аппаратов с трубчатой поверхностью теплообмена – расчет
диаметров штуцеров и выбор конструкционных материалов для изготовления
аппаратов, трубных решеток, способ размещения и крепления в них теплообменных
трубок и трубных решеток к кожуху; конструктивной схемы поперечных перегородок
и расстояния между ними; распределительных камер, крышек и днищ аппарата;
фланцев, прокладок и крепежных элементов; конструкций компенсирующего устройства,
воздушников, отбойных щитков, опор и т.п [1, стр.42].
2.1 Выбор конструкционных
материалов для изготовления аппарата
Материал выбирают по
рабочим условиям в аппарате: температуре, давлениям, химическим свойствам
теплоносителей и др. При выборе материала пользуемся рекомендациями [1, табл.
2.2] и ГОСТ 15199-79, 15120-79, 15121-79, в которых указаны материалы основных
деталей в зависимости от группы материального исполнения.
Группа материального
исполнения – М1. Материал: кожуха – В Ст3сп5 ГОСТ 14637-79;
распределительной камеры и крышки – В Ст3сп5 ГОСТ 14637-89; трубы – сталь 10
ГОСТ 8733-87 [1, табл. 2.2].
2.2 Выбор трубных
решеток, способ размещения и крепления в них теплообменных труб и трубных
решеток к кожуху
Трубные решетки
изготавливаются обычно цельными, вырезкой из листа. Для надежного крепления
трубок в трубной решетки её толщина Sр(min) (в мм) должна быть не менее [1, с. 45]
, (11)
где с – прибавка для
стальных трубных решеток, мм, с = 5 мм;
dн – наружный диаметр теплообменных трубок, мм, dн = 25 мм.
По формуле (11):
мм.
Толщину трубной решетки
выбираем в зависимости от диаметра кожуха аппарата и уловного давления в
аппарате [1, табл. 2.3]:
Sр = 27 мм.
Размещение отверстий в
трубных решетках, их шаг регламентируется для всех теплообменников ГОСТ
9929-82.
По [1, с. 46] определяем
шаг при размещении труб по вершинам равносторонних треугольников: при dн = 25 мм, t = 32 мм; отверстия под трубы в трубных решетках и перегородках размещают
в соответствии с ГОСТ 15118-79 [1, табл. 2.6].
Размещение отверстий в
трубных решетках выбранного аппарата показано на рис. 3.

Рис. 4 Размещение
отверстий в трубных решетках
Основные размеры для
размещения отверстий под трубы 25 х 2 мм в трубных решетках выбираем по [1, табл. 2.7], диаметр предельной окружности, за которой не располагают отверстия
под трубы:
D0 = 287 мм,
2R = 281 мм,
Число отверстий под трубы
в трубных решетках и перегородках по рядам:
0 ряд – 6
1 ряд – 9
2 ряд – 8
3 ряд – 7
4 ряд – 4
Общее число труб в
решетке – 56 шт.
Отверстия в трубных
решетках выполняем гладкими. По ГОСТ 15118-79 под трубы с наружным диаметром 25 мм установлен диаметр 25,5 мм.
Крепление труб в трубной
решетке должно быть прочным, герметичным и обеспечивать их легкую замену.
Применяем для крепления труб способ развальцовки с последующей отбортовкой
(рис. 4).

Рис.5 Крепление труб в
трубной решетке развальцовкой с последующей отбортовкой
Конец трубы, вставленной
с минимальным зазором в отверстие трубной решетки, расширяется изнутри
раскаткой роликами специального инструмента, называемого вальцовкой.
По [1, табл. 2.8] в
соответствии с ГОСТ 26291-94 принимаем минимальную толщину стенки корпуса S = 6 мм.
2.3 Выбор конструктивной
схемы поперечных перегородок и расстояния между ними. Отбойники
Применяем внутренние
поперечные перегородки с диаметрально чередующимся в них сегментными средами
для поддержания расстояния между трубами (рис. 6).

Рис.6 Конструктивная
схема поперечных перегородок
Диаметр отверстий для
труб в перегородках 28 мм [1. с. 57]. Номинальный диаметр поперечных
перегородок Dп=310 мм [1. с.58].
Неподвижные трубные
решетки занимают место во впадинах фланцев корпуса и крышек (рис. 7).

Рис. 7 Узел крепления
неподвижной трубной решетки: 1 – решетка трубная; 2 – фланец; 3 – прокладка; 4 – трубка теплообменная; 5 – кожух; 6 – крышка.
Для того чтобы
теплообменники лучше работали, необходимо обеспечить минимальный зазор между
корпусом и перегородкой. Номинальный диаметр Dп поперечных перегородок принимают в зависимости от
внутреннего диаметра аппарата [1, с. 58]: Dп = 310 мм при D=315
мм. Максимальное расстояние между перегородками принимаем по [1, с. 58] равным 800 мм, а минимальная толщина перегородок [1, с. 59] 8 мм.
Взаимное расположение
поперечных перегородок фиксируют несколькими стяжками между ними. Стяжки
придают пучку жесткость и дополнительную прочность, обеспечивают удобства его
сборки. Они представляют собой тяги из круглого прутка, пропущенные через отверстия
перегородок и трубных решеток. В промежутке между перегородками надеты
распорные трубки. Число стяжек принимаем в зависимости от диаметра аппарата [1,
с. 59]:
диаметр стяжек – 12 мм,
число стяжек – 4.
При входе среды (пара) в
межтрубное пространство теплообменника часто устанавливают отбойник, который
защищает от местного износа трубы, расположенные против входного штуцера (рис.
7).

Рис. 8 Схема размещения
отбойника
Отбойник выполняют в виде
круглой пластины. Его размер должен быть не меньше внутреннего диаметра штуцера
D1, т.е. [1, с. 59].
¸20),
D = 200+15=215 мм.
Отбойник не должен
создавать излишнее гидравлическое сопротивление, поэтому расстояние от
внутренней поверхности корпуса до отбойника должно быть [1, с. 59]:
,
мм.
2.4 Выбор крышек и днищ
аппарата
Крышки и днища
теплообменных аппаратов выбираем в зависимости от диаметра кожуха. Наиболее
распространенной формой днищ и крышек является эллиптическая форма с
отбортовкой на цилиндр (рис. 8).

Рис. 9 Днище
эллиптическое с отбортовкой
По [3, табл. 16.1]
выбираем размеры днища эллиптического отбортованного стального диаметром 800
мм:
Sd = 6 мм, Нd = 81 мм, hу = 25 мм.
Днище 325 х 6-25 ГОСТ
481-58 [3, табл. 16.1].
Выбранное днище используем
для изготовления входной и выходной крышек аппарата.
Марка стали – 09 Г 2 С [3, табл. 16.1].
2.5 Расчет диаметров
штуцеров, выбор фланцев, прокладок и крепежных элементов
Присоединение
трубопроводов к теплообменным аппаратам бывает разъемным и неразъемным.
Разъемное присоединение труб осуществляется при помощи фланцевых резьбовых
штуцеров. При диаметре трубопроводов более 10 мм применяют фланцевые штуцеры.
Диаметр штуцера зависит
от расхода и скорости теплоносителя [1, с. 64]:
, (12)
где V – объемный расход теплоносителя, м3/с;
– скорость движения теплоносителя в
штуцере, м/с;
S – площадь поперечного сечения
штуцера, м2,
.
Скорости движения
теплоносителей в штуцерах выбирают по [1, табл. 1.4], принимая их несколько
большими, чем в аппарате.
Диаметр штуцера:
, (13)
Диаметр штуцеров для
входа и выхода воды рассчитываем по уравнению (13), принимая скорость движения
воды в штуцерах равной 2,0 м/с.
м.
Принимаем dш = 50 мм.
Диаметр штуцеров для
насыщенного водяного пара и конденсата, расход которых D = 6,24·10-1 кг/с.
Тогда объемный расход
пара:
м3/с,
а конденсата:
м3/с.
Тогда, принимая скорость
пара в штуцере
м/с, получаем:
м.
Принимаем dп = 100 мм.
Скорость конденсата в
штуцере
м/с, тогда
м.
Принимаем dк = 32 мм.
Принимаем штуцера со
стальными плоскими приварными фланцами с соединительным выступом (тип 1 – рис.
10).

Рис. 10 Фланец для
штуцеров
Выбираем по Dу и ру = 0,6 МПа [3, табл. 21.9].
Основные размеры фланцев:
·
фланцы штуцеров
для ввода и вывода воды – Фланец 50-3 ГОСТ 1255-67: Dу = 50 мм, Dб =110 мм, Dф = 140 мм, h = 13 мм, z = 4 шт, dб =12мм;
·
фланец штуцера
для ввода водяного пара – Фланец 100-3 ГОСТ 1255-67: Dу =100 мм, Dб = 170 мм, Dф = 205 мм, z = 4 шт, h = 15 мм, dб = 16 мм;
·
фланец штуцера
для вывода конденсата – Фланец 30-3 ГОСТ 1255-67: Dу =32 мм, Dб = 90мм, Dф = 120 мм, h = 15 мм, z = 4 шт, dб = 18 мм.
Для присоединения крышек
к корпусу аппарата используем тип 2 диаметром 325 мм (рис. 10).

Рис. 11 Фланец для аппарата
По [3, табл. 21.9]
выбираем основные размеры фланцев для аппарата: фланец I-325-3 ГОСТ 1235-67: Dб = 395 мм, Dф = 435 мм, h = 20 мм, dб = 20 мм, z = 12т; прокладка – паронит ГОСТ 481-80.
2.6 Проверка
необходимости установки компенсирующего устройства
Жесткое крепление трубных
решёток к корпусу аппарата и труб в трубной решетке обуславливает возникновение
температурных усилий в трубах и корпусе (кожухе) при различных температурах их
направления и может привести к нарушению развальцовки труб в решетках,
продольному изгибу труб и другим неблагоприятным явлениям.
В случае если трубы
нагреваются сильнее, чем кожух, они становятся длиннее кожуха и давят на
трубные решетки, стремясь удлинить и сам корпус (кожух). Если напряжения,
возникающие при этом в материале трубок и кожуха, превышают допустимые, то
появляется необходимость установки компенсирующего устройства (линзы, плавающей
головки и т.п.).
По данным [1 табл.1.7]
допускаемая разность температур кожуха и труб (не требующая установки
компенсирующего устройства) при давлении Рy
1,6 МПа составляет 60 оС.
Для рассматриваемого
теплообменного аппарата температура стенки трубок
0С.
(см. подраздел 1.7), а
минимальная температура кожуха может быть принята равной температуре пара, т.е.
tст (к) = 133 оС.
Разность температур
кожуха и трубок
0С,
следовательно, установка
компенсирующего устройства не требуется.
2.7 Опоры аппарата
Химические аппараты
устанавливают на фундаменты или специальные несущие конструкции при помощи
опор. Тип опоры выбирают в зависимости от конструкции оборудования, нагрузки и
способа установки. При установке вертикальных аппаратов широко применяются лапы
на полу или на фундаментах. При наличии нижних опор аппарат устанавливают на
три или четыре точки, при подвеске между перекрытиями – на три лапы и более.
Расчетную нагрузку,
воспринимаемую опорой аппарата, определяют по максимальной силе тяжести его в
условиях эксплуатации или гидравлического испытания (при заполнении аппарата
водой) с учетом возможных дополнительных внешних нагрузок от силы тяжести
трубопроводов, арматуры и т. д. Вес аппарата (с жидкостью) делится на число "лап",
и по допустимой нагрузке на опору выбирают ее основные размеры по [1, табл.
2.13].
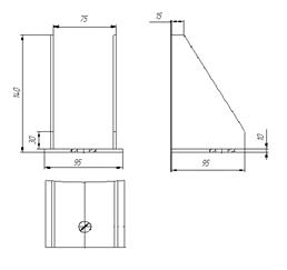
Принимаем число лап
равным 3, а допустимую нагрузку равную 4000 Н. По [1, табл. 2.13] выбираем основные размеры опор вертикального аппарата
при допустимой нагрузке 4000 Н: a=75
мм, a1=95 мм, b=95
мм, с=20 мм, c1=50 мм, h=140
мм, h1=10 мм, S1=5 мм, k=15 мм, k1=25 мм, d=12 мм.

Рис. 12 Опора
вертикального аппарата
3. Гидравлический расчет
Цель гидравлического
расчета – определение величины сопротивлений различных участков трубопроводов и
теплообменника и подбор насоса, обеспечивающего заданную подачу и рассчитанный
напор при перекачке воды.
Теплоносители должны
подаваться в теплообменный аппарат под некоторым избыточным давлением для того,
чтобы преодолеть гидравлическое сопротивление аппарата и системы
технологических трубопроводов за аппаратом, переместить теплоноситель из одной
точки пространства в другую (например, поднять его) и иметь возможность
сообщить ему дополнительную скорость. При этом теплоноситель должен обладать
достаточной энергией в заданной точке технологической схемы.
Потери энергии жидкостью
и газами при их движении, обусловленные внутренним трением, определяют величину
гидравлического сопротиления [1, с. 79].
3.1 Расчет гидравлических
сопротивлений трубопроводов и аппаратов, включенных в них
Теплообменные
аппараты включаются в трубопроводы, входящие в состав насосных установок,
образующих технологические схемы различных пищевых или химических отраслей
промышленности. Расчету принадлежит схема насосной установки, предлагаемая в
задании на проектировании.
Различают
два вида гидравлических сопротивлений (потерь напора): сопротивление трения и
местные сопротивления:
и
. Для расчета потерь напора
по длине пользуются формулой Дарси-Вейсбаха [2]:
,
где
- гидравлический
коэффициент трения;
- длина трубопровода, по которому
протекает теплоноситель, м;
d – диаметр трубопровода, м;
- скоростной напор,м.
Для расчета потерь напора
в местных сопротивлениях применяют формулу Вейсбаха:
,
где
- коэффициент местных
сопротивлений;
- скоростной напор за местным
сопротивлением.
3.1.1 Разбивка
трубопровода насосной установки на участки:
Гидравлическому расчету
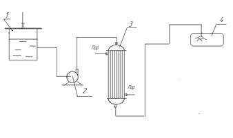
подлежит схема, представленная на рис. 12.

Рис. 12 – Схема насосной
установки
1 –емкость; 2 – насос; 3
– теплообменник; 5 – стерилизуемый аппарат.
Трубопровод состоит из
всасывающей и напорной линий. Всасывающая линия – трубопровод от нижней части
емкости до насоса. Напорная линия – участок трубопровода от насоса до
теплообменника, теплообменник 3, участок от теплообменника 3 до стерилизуемого
аппарата 4.
3.1.2 Определение
геометрических характеристик участков трубопровода, скоростей и режимов движения
в них теплоносителя
Диаметры всасывающего и
напорного трубопроводов определим из уравнения расхода (12), принимая по [1,
табл. 1.4] скорость во всасывающем трубопроводе
м/с,
а в напорном –
м/с.
м.
По ГОСТ 8732-78 [4, таб.
2.34] выбираем трубу для всасывающего трубопровода диаметром 70 мм.
Скорость движения воды на
всасывающем участке трубопровода:
м/с,
а режим движения
– турбулентный, так как Re>104 [6, с.43].
где
м2/с –
кинематический коэффициент вязкости при t=140С.
м
По ГОСТ 8732-78 [4,таб.
2.34] выбираем трубу для напорного трубопровода диаметром 50 мм.
Скорость движения воды на
напорном участке трубопровода
м/с.
Режим движения воды на
напорном участке трубопровода от насоса до теплообменника
– турбулентный, так как Re>104 [6, с. 43].
Режим движения воды на
напорном замкнутом участке трубопровода, включающего теплообменник и
стерилизуемый аппарат.
- турбулентный, так как Re>104,
где
м2/с -
кинематическая вязкость воды при t =
92°С
3.1.3 Расчет
сопротивлений трубопроводов и аппаратов, включенных в них
Всасывающий участок
трубопровода
При турбулентном режиме
движения гидравлический коэффициент трения
может
зависеть и от числа Рейнольдса, и от величины шероховатости трубы.
Рассчитаем гидравлический
коэффициент трения
для
гидравлически гладких труб по формуле Блазиуса:
. (14)
.
Проверим трубу на шероховатость,
рассчитав толщину вязкого подслоя
и
сравнив ее с величиной абсолютной шероховатости стальной бесшовной новой трубы:
,
м,
, значит, труба гидравлически гладкая
и
. На всех остальных
участках трубопровода будем считать трубы гидравлически гладкими.
По формуле Дарси-Вейсбаха
, (15)
м.
Согласно схеме насосной
установки (рис. 12) на всасывающей линии имеются следующие местные
сопротивления: два плавных поворота на 90
–
,[1, табл. 3.3].
Следовательно,
, а по формуле
Вейсбаха:
, (16)
где
– коэффициент местных
сопротивлений;
– скоростной напор за местным сопротивлением.
м.
Суммарные
потери напора на всасывающем участке трубопровода:
м.
Участок
напорного трубопровода от насоса до теплообменника

м.
Согласно расчетной схеме
(рис. 12) на напорном участке трубопровода от насоса до теплообменника имеется
два местных сопротивления: два плавных поворота –
[1,
табл. 3.3].
Поэтому
м.
Суммарные потери напора на участке
напорного трубопровода от насоса до теплообменника:
м.
Теплообменник

м.
Определим напор, теряемый
в местных сопротивлениях теплообменника (рис. 13).

Рис. 13 – Коэффициенты
местных сопротивлений теплообменника
Предварительно вычислим площади
потока в различных участках.
1. Площадь поперечного сечения штуцера:
м2;
2. Площадь поперечного
сечения крышки (свободного сечения аппарата)
м2;
3. Площадь поперечного
сечения 56 труб теплообменника:
м2.
Скорости и скоростные напоры в
соответствующих сечениях:
м/с;
м;
м/с;
м;
м/с;
м.
Коэффициенты местных
сопротивлений:
а) при входе потока через
штуцер в крышку (внезапное расширение):
;
б) при входе потока из
крышки в трубы (внезапное сужение):
;
в) при выходе потока из труб в крышку
(внезапное расширение):
;
г) при входе потока из крышки в
штуцер (внезапное сужение):
.
Вычисляем потери напора в
местных сопротивлениях:
а) при входе потока через
штуцер:
м;
б) при входе потока из
крышки в трубы первого хода аппарата:
м;
в) при выходе потока из
труб в крышку:
м;
г) при выходе потока из
крышки через штуцер:
м;
д) при повороте из одного
хода в другой на 180° (
=2,5):
м.
Суммарные потери напора в
местных сопротивлениях теплообменника:

Общие потери напора (по
длине и в местных сопротивлениях теплообменника):
м.
Диаметр напорного
трубопровода dн = 0,05 м совпадает с диаметрами штуцеров dш = 0,05 м, следовательно при входе и выходе из теплообменника
потерь напора не будет .
Участок напорного
трубопровода от теплообменника до стерилизуемого аппарата
.
м.
Участок напорного
трубопровода от теплообменника до стерилизуемого аппарата включает следующие
местные сопротивления: 6 плавных поворот на 900
. Тогда сумма коэффициентов
местного сопротивления
.
м.
м.
Суммарные потери напора в
насосной установке (сети)
м
3.2 Определение
требуемого напора насоса
Требуемый напор насоса
определяем по формуле:
, (17)
где Н=8м– высота подъёма
жидкости в насосной установке (от насоса), м,
hвс – высота всасывания насоса, hвс= 0,5 м;
Рк – давление
в стерилизуемом аппарате , Рк = 0,55 МПа;
Рат –
атмосферное давление, Рат = 9,81×104 Па;
– суммарные потери напора в сети,
= 9,17 м.
По формуле (17):
м.
3.3 Выбор типа и марки
насоса по расчетному напору и заданной подаче
По полю характеристик V – Н насосов для чистой воды [8, c. 328] по заданной подаче V = 4×10-3 м3/с (14,4
м3/ч) к рассчитанному требуемому напору Нтр =64,4 м
выбираем насос по ГОСТ 22247-96: К 290/18б-У2, n=1450 об/мин.
3.4 Построение
характеристик насоса и трубопровода. Определение рабочей точки насоса
По каталогу насоса для
химических производств [6] строим рабочие характеристики выбранного насоса –
зависимости Н = f(V), N = f(V), h = f(V).
Для построения
характеристики трубопровода рассмотрим его уравнение (17).
Первые два слагаемых
уравнения являются величиной постоянной и определяют собой статистический
напор, тогда
,
где
м.
Так как трубопровод
эксплуатируется в квадратичной зоне сопротивлений (Re >105), то зависимость потерь напора в
трубопроводе от изменения скоростей носит квадратичный характер, т.е.
, (18)
где в – коэффициент
пропорциональности, определяемый по координатам т. А, лежащей на этой кривой.
Н = f(V), η=f(V)
Для этой точки имеются:
м3/с – (по заданию);
НД = Нтр
= 64,4м
м.
Отсюда
.
Уравнение кривой
сопротивления трубопровода, выражающее собой потребные напоры насоса при подаче
различных расходов по заданному трубопроводу

Задаваясь различными
значениями расходов V, рассчитываем
соответствующие им значения Нтр = f(V).
Результаты расчета сводим
в таблицу 2.
Таблица 2 Характеристики
трубопровода
| V |
Нст,
м
|
, м
|
, м
|
|
м3/с
|
м3/ч
|
| 0 |
0 |
55,3 |
0 |
55,3 |
| 0,0011 |
4 |
0,69 |
55,99 |
| 0,0016 |
6 |
1,46 |
56,76 |
| 0,0022 |
8 |
2,76 |
58,06 |
| 0,0028 |
10 |
4,47 |
59,77 |
| 0,0039 |
14 |
8,67 |
63,97 |
| 0,0044 |
16 |
11,03 |
66,33 |
| 0,0050 |
18 |
14,25 |
69,55 |
| 0,0055 |
20 |
17,24 |
72,54 |
По данным таблицы 2 строим
характеристику трубопровода Нтр = f(V), отложив на оси
ординат величину Нст =55,3 м.
Точка пересечения
характеристик насоса и трубопровода определяет рабочую точку А. Координаты
рабочей точки:
VА = 16 м3/ч = 0,0044 м3/с; Н = 66 м;
%;
Ne=
кВт.
Так как VА = 16 м3/ч больше заданной подачи VА=14,4 м3/ч, то необходимо отрегулировать
работу насоса на сеть одним из способов: прикрытием задвижки на напорной линии
(дросселирование); уменьшением частоты вращения вала рабочего колеса насоса;
обрезкой рабочего колеса.
Заключение
Расчет курсового проекта
состоит из трех основных расчетов: теплового, конструктивного и
гидравлического.
В тепловом расчете
определили необходимую площадь теплопередающей поверхности, в нашем случае F = 17,5 м2, которая соответствует заданной температуре и оптимальным гидродинамическим
условиям процесса. По полученным расчетным путем данным выбрали теплообменник
гр. А ГОСТ 15122-79.
В конструктивном расчете
произвели расчет диаметров штуцеров, выбрали конструкционные материалы для
изготовления аппаратов, трубных решеток, способ размещения и крепления в них
теплообменных трубок и трубных решеток к кожуху; конструктивную схему
поперечных перегородок и расстояния между ними; распределительные камеры,
крышки и днища аппарата; фланцы и прокладки.
В гидравлическом расчете
выбрали необходимый насос по полученному требуемому напору, в нашем случае Hтр=64,4
м и заданная подача V=4·10-3 м3/с (234 м3/ч)
выбираем насос CR 15-6, мощность
которого 5,5 кВт, который обеспечивает заданную подачу и рассчитанный напор при
перекачке воды.
Список использованных источников
1.
Логинов А.В.
Процессы и аппараты химических и пищевых производств (пособие по
проектированию) / А.В. Логинов, Н.М. Подгорнова, И.Н. Болгова. – Воронеж: ВГТА,
– 2003. – 264 с.
2.
Павлов К.Ф.
Примеры и задачи по курсу процессов и аппаратов химической технологии: Учеб.
пособ. для студ. химико-технол. спец. вузов / К.Ф. Павлов, П.Г. Романков, А.А.
Носков; Под ред. П.Г. Романкова. – 8-е изд., перераб. и доп. – Л.: Химия, 1976.
– 552 с.
3.
Лащинский А.А.
Основы конструирования и расчета химической аппаратуры. Справочник / А.А.
Лащинский, А.Р. Толчинский; Под ред. Н.Н. Логинова. – 2-е изд; перераб. и доп.
– Л.: Машиностроение, 1970. – 753 с.
4.
Ю.И. Дытнерский,
Г.С. Борисов, В.П. Брыков. Основные процессы и аппараты химической технологии:
пособие по проектированию / Под ред. Ю.И. Дытнерского, 2-е изд., перераб. и
допол. – М.: Химия, 1991. – 496 с.
5.
Насосы и насосные
установки пищевых предприятий: Учеб. пособие / А.В. Логинов, М.Н. Слюсарев,
А.А. Смирных. – Воронеж: ВГТА, 2001. – 226 с.
6.
А.Г Касаткин
Основные процессы и аппараты химической технологии: Учебник для вузов.- 10-е
изд., стереотипное, доработанное. Перепеч. С изд. 1973г.- М.: ООО ТИД "Альянс",
2004.-753с.