Реферат: Совершенствование технологий и технических средств поверхностной обработки почвы
Реферат: Совершенствование технологий и технических средств поверхностной обработки почвы
Реферат
Тема: Совершенствование технологий
и технических средств поверхностной обработки почвы.
Выполнил:
Проверил:
п. Зюкайка 2004 г.
Содержание:
-
Технология и технические средства поверхностной обработки почвы.
-
Организация внедрения в производство
-
Экономическая эффективность технологий технических средств поверхностной
обработки почвы.
- Техника
безопасности.
Технология и технические средства
поверхностной обработки почвы.
Комбинированная
почвообрабатывающая машина производит
полную подготовку серо-лесной, чернозёмной почвы, средне- и тяжелосуглинистого
механического состава влажностью 14…32% к посеву всех сельскохозяйствных
культур за один проход агрегата на бесстерневых фонах, совмещая в едином
технологическом процессе культивацию, выравнивание поверхности почвы (до 98%),
боронование с вычёсыванием сорняков (до 1 млн. шт/га), поверхностное
прикатывание семян (полностью – до 1,24 г/см³) при мульчированном
поверхностном слое (крошащая способность 80…84%). Конструктивное выполнение –
серийные культиваторы КПГ-4, КПС-4, ОПТ-3-5, КПЭ-3,8 вместо борон «Зигзаг»
снабжаются фронтальной бороной – выравнивателем и роторной винтовой прутковой
подрессоренной бороной – катком. Желательная рабочая скорость – 8…12 км/ч.
Агротехнические предпосылки обеспечения эффективности применения комбинированной
почвообрабатывающей машины на базе серийного культиватора КПС–4 представлены в
таблицах 1 – 5.
Таблица 1.
Количество продуктивной влаги в почве в
зависимости от предпосевной обработки различными культиваторами (по данным
ТатНИИСХ)
|
Культура
|
Фаза роста и развития
|
Продуктивная влага, мм
|
|
Обработка почвы культиватором
КПС-4+БЗСС-1
|
Обработка почвы комбинированным
культиватором
|
|
0…20 см
|
0…100 см
|
0…20 см
|
0…100 см
|
|
Овёс
|
Всходы
|
35,57
|
110,23
|
43,73
|
110,71
|
|
То же
|
Вымётывание
метёлок
|
18,56
|
85,90
|
85,98
|
143,1
|
|
Ячмень
|
Колошение
|
21,4
|
118,68
|
28,1
|
143,2
|
|
Кукуруза
|
5 – 6
листьев
|
27,5
|
112,8
|
59,1
|
121,4
|
|
То же
|
Вымётывание
султана
|
6,35
|
26,7
|
5,2
|
48,6
|
Таблица 2.
Влияние применения различных орудий
обработки почвы на структуру урожая и качество семян зерновых культур (по
данным ТатНИИСХ)
|
Вариант
|
Обработка культиватором КПС-4+БЗСС-1
|
Обработка комбинированным культиватором
|
|
средняя высота растения, см
|
продуктивность куста, г
|
масса зерна на 1 растение, г
|
масса 1000 зёрен, г
|
содержание протеина, %
|
высота растений, см
|
продуктивность куста, г
|
масса зерна на 1 растение, г
|
масса 1000 зёрен, г
|
содержание протеина, %
|
|
Озимая рожь Чулпан
|
|
Контроль (без удобрений)
|
90,5 |
2,0 |
0,60 |
23,2 |
--- |
104,0 |
2,20 |
0,65 |
25,3 |
--- |
|
N60P60K60
|
109 |
2,50 |
0,76 |
23,4 |
--- |
119,0 |
2,70 |
0,84 |
25,8 |
--- |
|
Расчётные дозы удобрений для получения
35 ц/га зерна
|
115,4 |
3,0 |
0,85 |
24,6 |
--- |
125,0 |
3,30 |
0,93 |
27,0 |
--- |
|
Яровая пшеница Московская 35
|
|
Контроль (без удобрений)
|
57 |
1 |
0,44 |
32,0 |
11,0 |
62 |
1,0 |
0,48 |
35,0 |
11,8 |
|
N60P60K60
|
60 |
1 |
0,61 |
32,8 |
11,9 |
65 |
1,1 |
0,67 |
35,8 |
12,5 |
|
Расчётные дозы удобрений для получения
25 ц/га зерна
|
61 |
1 |
0,75 |
33,9 |
13,51 |
67 |
1,2 |
0,83 |
37,3 |
14,7 |
Таблица 3.
Влияние применения различных орудий для
предпосевной обработки почвы на урожайность зерновых культур, ц/га (по данным
ТатНИИСХ)
|
Вариант
|
Обработка культиватором КПС-4+БЗСС-1
|
Обработка комбинированным культиватором
|
|
озимая рожь Чулпан
|
яровая пшеница Московская 35
|
ячмень Московский 121
|
овёс Руслан
|
озимая рожь Чулпан
|
яровая пшеница Московская 35
|
ячмень Московский 121
|
овёс Руслан
|
|
Контроль (без удобрений)
|
28,5 |
10,3 |
12,1 |
13,4 |
31,3 |
12,9 |
14,8 |
15,6 |
|
N60P60K60
|
31,4 |
15,5 |
15,6 |
17,1 |
33,9 |
18,9 |
13,5 |
19,4 |
|
Расчётные дозы удобрений для получения
25 ц/га зерна
|
38,2 |
20,2 |
21,6 |
22,8 |
41,5 |
23,4 |
24,7 |
25,3 |
Таблица 4.
Влияние приёмов предпосевной обработки
почвы на полевую всхожесть семян гороха, пшеницы и сорняков
|
Показатель
|
КПС-4+БЗСС-1 (контроль)
|
Комбинированный культиватор ТатНИИСХ
|
|
Горох (норма – 100 шт/м²)
|
|
Полевая
схожесть семян, %
|
74
|
87
|
|
Количество
растений на 1 м², шт.
|
74
|
87
|
|
Период посев
– всходы, дн
|
14
|
12
|
|
Количество
уничтоженных сорняков на 1 м², шт.
|
68
|
112
|
|
Пшеница (норма – 500 шт/м²)
|
|
Полевая
схожесть семян, %
|
72,8
|
82,4
|
|
Количество
растений на 1 м², шт.
|
364
|
412
|
|
Период посев
– всходы, дн
|
9
|
7
|
|
Количество
уничтоженных сорняков на 1 м², шт.
|
50
|
107
|
Таблица 5.
Влияние приёмов предпосевной обработки
почвы на полевую всхожесть семян зерновых культур (по данным ТатНИИСХ)
|
Показатель
|
КПС-4+БЗСС-1 (контроль)
|
Комбинированный культиватор ТатНИИСХ
|
|
озимая рожь Чулпан
|
ячмень Московский 121
|
овёс Руслан
|
озимая рожь Чулпан
|
ячмень Московский 121
|
овёс Руслан
|
|
Норма
высева, млн/га
|
4,0
|
5,5
|
5,0
|
4,0
|
5,5
|
5,0
|
|
Лабораторная
всхожесть, %
|
96
|
94
|
96
|
96
|
94
|
96
|
|
Полевая
всхожесть, %
|
72
|
75
|
79
|
90
|
91
|
92
|
Борона
дискозубовая коническая для почвозащитного земледелия выполняет следующие операции:
аэрационную
обработку лугов и пастбищ перед поливом и после выпаса скота при угле атаки 15
и 30°;
разделку
вспаханной дернины многолетних трав;
закрытие влаги
на стерневых фонах;
культивацию
зяби и пара, засорённых корневищными сорняками, а также заделку органически и
минеральных удобрений;
предпосевную
обработку почвы;
лущение жнивья
при нормальной и повышенной влажности почвы;
совмещение
поверхностной обработки почвы с основной как с плугами, так и с плоскорезами.
При совмещении
бороны с плоскорезом разбиваются крупные глыбы ( особенно на сухих почвах ),
лучше заделываются органические и минеральные удобрения в почву и сохраняется
большая часть стерни.
Применение
комбинированного агрегата способствует также лучшей всхожести семян овсюга и
других сорняков на ранней зяби, что позволяет вести с ними эффективную борьбу,
даёт возможность проводить плоскорезную обработку тяжелой почвы, сохранять от
испарения аммиачную воду, вносимую агрегатами с плоскорезами.
Широкий
диапазон технологий применения дискозубовой конической бороны обуславливается
тем, что батареям режущих дисков лущильника, образующих вид усечённого конуса и
имеющих рыхлящие радиальные зубья, присущи:
режим
фрезерного (приводного) рабочего органа;
самоочищаемость;
смещение
гребней (выравнивание до 94%) перемешивание органических и минеральных
удобрений с почвой;
заглубляемость
(отсутствие всплывания) при скоростях до 20 км/ч (у цилиндрических этот
показатель не превышает 10 км/ч);
возможность
регулирования степени воздействия на почву, стерню, дернину.
Новый принцип
работы ротационной бороны конического типа – образование в почве взрыхленных
аэрирующих щелей размерами 10/3/5 см, расположенных в шахматном порядке,
наибольший эффект даёт при бороновании многолетних трав перед поливом:
повышенное рыхление способствует усиленному развитию корневой системы; щели
обеспечивают доступ воздуха к ней и поливной воды с растворёнными минеральными
удобрениями; разрушаются кротовины и экскременты. В результате повышается
урожайность на каждом укосе до 20…50% против 10…20% при бороновании с БИГ-3 и
5…10% при использовании бороны «Зигзаг». Рабочая скорость – 8…18 км/ч.
В таблицах 6 и
7 предоставлены результаты лабораторно – полевых опытов аэрационной обработки
многолетних трав различными орудиями.
Одно из
важнейших положительных свойств технологии боронования трав конической
дискозубовой бороной – предотвращение смыва удобрений поливной водой в водоёмы,
что способствует охране окружающей среды и снижению расхода самой поливной
воды.
Используя
кинематику конической бороны, в институте разработали орудие для
комбинированного снегозадержания и картофелекопатель для сложных
почвенно-климатических условий.
Таблица 6.
Влияние различных сельхозорудий на
микрорельеф дернины многолетних трав при аэрационной обработке
|
Вариант
|
Количество ямочек на 1 м², шт.
|
Размер ямочек, см
|
|
ширина
|
длина
|
глубина
|
|
бобовые злаки
|
люцерна
|
бобовые злаки
|
люцерна
|
бобовые злаки
|
люцерна
|
бобовые злаки
|
люцерна
|
|
ПБЛ-10
|
16,7
|
18,3
|
3
|
3,25
|
6,75
|
9,75
|
4,75
|
5,25
|
|
БИГ-3
|
10,5
|
17,0
|
3,5
|
2,87
|
5
|
5,25
|
2,5
|
2,12
|
Таблица 7.
Урожайность зелёной массы многолетних трав
в сравниваемых вариантах боронования
|
Вариант
|
Бобово-злаковые
|
Люцерна
|
|
Без навоза
|
С навозом 100 т/га
|
С навозом 200 т/га
|
Без навоза
|
С навозом 100 т/га
|
С навозом 200 т/га
|
|
Первый укос
|
|
БЗТС-1
|
72,9
|
77,5
|
105,0
|
52,5
|
78,3
|
99,9
|
|
БИГ-3
|
76,3
|
93,3
|
109,1
|
60,4
|
89,8
|
97,9
|
|
ПБЛ-10
|
92,8
|
105,0
|
125,0
|
73,3
|
106,0
|
104,1
|
|
Контроль
|
69,2
|
71,1
|
107,5
|
54,5
|
74,2
|
93,1
|
|
Второй укос
|
|
БЗТС-1
|
22,7
|
43,7
|
---
|
60,0
|
74,1
|
---
|
|
БИГ-3
|
29,2
|
61,2
|
---
|
71,2
|
81,2
|
---
|
|
ПБЛ-10
|
35,8
|
87,5
|
---
|
87,5
|
89,6
|
---
|
|
Контроль
|
21,6
|
37,5
|
---
|
61,2
|
73,3
|
---
|
Орудие
комбинированного снегозадержания рекомендуется применять на посевах при незначительной исходной
толщине снежного покрова. Для этого используют диски с двухсторонней конической
поверхностью. Работа заключается в следующем (рис. 1).
Каждый диск (а) с двусторонней
конической поверхностью 1, пройдя по снежному покрову hс.п. малой толщины
(б), образует в нём чётко выраженные канавки шириной Вк, равной ширине диска Вд. Снег,
выдавливаемый с двух сторон коническими поверхностями дисков, образует барьеры
2 (в) высотой Hб, в 1,5…2,0 раза превышающей первональную толщину hс.п..
Лёгкая поземка за 1-2 суток даже при отсутствии осадков полностью заполняет
канавки Нс.п. (г) снегом большей плотности, чем в самих
барьерах. По этому в канавках сдерживается выдувание снега зимой, а весной он
быстро тает, пропитываясь талыми водами. Более рыхлые барьеры 2 длительное
время обеспечивают доступ воздуха к растениям на всей площади посевов.
Такое
снегозадерживание можно проводить несколько раз
рис. 1 до образования снежного покрова толщиной
до 20 см, а в дальнейшем целесообразно принять обычные снегопахи.
Во избежание
эрозионных процессов и гибели растений не допустимо:
проводить
снегозадержание в сухую и слишком ветреную погоду, а также при мокром снеге,
так как в первом случае ускорится эрозия снега, а во втором из-за уплотнения
снега озимые вымерзнут;
выполнять
снегозадержание вдоль склонов;
агрегатировать
орудие с гусеничным трактором.
Конструктивное
решение нового способа снегозадержания на посевах – применение катков от сеялок
СЗП-3,6 или СЗС-2,1 со сцепками либо рамой от дисковых лущильников.
Широкое
применение такого способа снегозадержания позволит уменьшить площади пересева
озимых из-за вымерзания, успешнее бороться с водной эрозией на склонах.
Картофелекопатель
для сложных почвенно-климатических условий с устройством для очистки
корнеклубнеплодов позволяет произвести выкапывание клубней на тяжелосуглинистых
переувлажнённых почвах, когда серийные комбайны и копатели оказываются
неработоспособными, а работа возможна только вручную.
Рабочая
технология картофелекопателя (рис. 2) при новой компоновке следующая.
Масса «почва + клубни», выкопанная
лемехом 1 и сходящая с подъёмного элеватора 2, принимается пальцами
рассеивающего 4 и затем собирающего 3 конических сепараторов, установленных
вместо серийного каскадного элеватора и встряхивателя, и вследствие их
различной окружной скорости разбивается на составные части, смещаясь под углом
на каскадном коническом сепараторе. В этом процессе клубни из-за двукратного
поворота в движении полностью очищаются от налипшей глинистой
рис. 2
почвы. До применения картофелекопателя
ботва должна быть убрана. Рабочая скорость агрегата с трактором МТЗ-50 (80) 6…8
км/ч.
Организация внедрения в производство
Новые
технические средства для поверхностной обработки почвы можно изготовить непосредственно
в мастерских колхозов и совхозов или же в условиях районных отделений
Сельхозтехники, соблюдая следующие схемы компоновки и размеры.
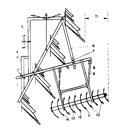
Комбинированная
почвообрабатывающая машина составляется из серийного культиватора КПС-4,
фронтальной бороны-выравнивателя, роторной винтовой прутковой подрессоренной
бороны-катка. Фронтальная борона изготавливается из уголка 75×75 мм с
зубьями от тяжелой бороны «Зигзаг» длиной выхода 100 мм, шагом 110мм и
устанавливается на расстоянии не менее 450 мм от стоек рыхлителей второго ряда.
Чтобы исключить забивание, угол наклона зубьев определён 45° назад, а высота
подвешивания всей фронтальной бороны выбирается такой, чтобы исключить
сгруженные почвы и обеспечить боронование только на 4…5 см. Фронтальная борона
снабжается тремя тягами: в центре и по краям. Параметры ротора: диаметр – 220
мм, длина – 2100 мм, число прутков – 8 – 10, диаметр прутка – 12 мм (или
шестигранник, лучше – четырёхгранник), шаг винтового захода – 4 м, число
дисковых опор – 5, прутки приварены в пазах дисков. Установочные размеры ротора
представлены на рисунке 3 (для составления широкозахватывающего агрегата из
нескольких таких культиваторов).
Используя эти
выравнивающие-бороновально-прикатывающие технические средства поверхностной
обработки почвы, составляют комбинированные агрегаты и с другими серийными
орудиями (рис. 4 – 12), применяемыми в цикле полевых работ.
рис. 3
рис. 3

рис. 4
рис. 5

рис. 6
рис. 7

рис. 8
рис. 9
рис. 10
 
рис. 11

рис. 12
Техническая характеристика
комбинированной почвообрабатывающей машины
Ширина
захвата, м
4
Рабочая
скорость, км/ч
8…15
Производительность,
га/ч
4…5
Масса
удельная,
кг/м
180
Тяговый
класс трактора,
кН 1,4
Борона
дискозубовая коническая с коэффициентом унификации, равным 0,94, сконструирована на основе секции
серийно выпускаемых дисковых лущильников ЛДГ-5, ЛДГ-10, ЛДГ-15, на базе которых
созданы бороны шириной захвата 5, 10, 15 м. Собранные дискозубовые секции
бороны имеют форму лежащего на боку усечённого конуса. Диски каждой секции
имеют разный диаметр, уменьшаясь на 15 мм постепенно с 450 до 330 мм (рис. 13).
К дискам двумя болтами М10×35 прикреплены зубья длиной 60 мм от борон «Зигзаг».
Количество их выбрано так, чтобы сохранить примерно равную длину дуги режущей
части диска между зубьями.
рис. 13
Техническая характеристика конической
дискозубовой бороны на базе лущильника ЛДГ-10
Ширина
захвата на лугах при угле атаки 15°,
м 11,5
Ширина
захвата на зяби при угле атаки 30°,
м 10,0
Рабочая
скорость,
км/ч
8…18
Производительность,
га/ч
8…15
Удельная
металлоёмкость,
кг/м
240
Масса
одной секции без учёта рамы,
кг 120
Ширина
захвата одной секции с девятью дисками,
м 1,4
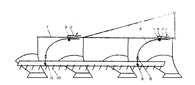
Используя
отдельные секции дискозубовой конической бороны, составляют следующие
комбинированные почвообрабатывающие машины с энергосберегающими режимами
агрегатов (рис. 14 – 18).
На
пахотных агрегатах число дисков на бороне доводят до 10 (диаметр меньшего диска
330 мм), а тип отвалов корпусов плугов выбирают в зависимости от принятой
основной обработки почвы. Весьма эффективно применение в таком сочетании
корпусов Т.С.Мальцева. Угол атаки секций конических борон равен 30°.
Комплектование плугов коническими боронами наиболее желательно при вспашке
дернины и глыбистой почвы. На рисунке 12 буквой П показано перекрытие
предыдущего прохода для обеспечения слитности поверхности поля. На 8-м и 9-м
корпусных плугах устанавливают две дискозубовые секции (рис. 13).
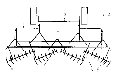
Дискозубовая
коническая борона удобна и эффективна со всеми видами плоскорезов. Для
совмещения основной плоскорезной обработки с поверхностной (рис. 14) квадратный
вал секции лущильника удлиняют на 800 мм и дополнительно устанавливают четыре
диска (рис. 15), что позволяет использовать агрегат вместо плуга, одновременно
заделывая органику, и применять такой агрегат также и под раннюю зябь.
Орудие
для снегозадержания используют на посевах при малой толщине снежного
покрова, когда известными снегопахами нельзя или невозможно проводить
накопление снега.

рис. 14
рис. 15
 
рис. 16
рис. 17
Для составления этого агрегата нет
необходимости в новых органах, а достаточно иметь либо сцепку СП-11, либо раму
дискового лущильника ЛДГ-5, либо ЛДГ-10 и шарнирно присоединить к одной из них
батареи дисковых катков с двусторонней конической поверхностью от сеялок
СЗП-3,6 или СЗП-2,1 (рис. 19).
рис. 18
Техническая характеристика орудия для
снегозадержания
Ширина
захвата,
м
6,7
Рабочая
скорость, км/ч
6…8
Тяговый
трактор
МТЗ-82, Т-150К
Картофелекопатель для сложных
почвенно-климатических условий с коническими сепараторами. Новые сепараторы, которыми снабжен
серийный картофелекопатель КТН-2Б, основаны на принципе работы конической
бороны: пальцы-ворошилки совершают движение с различной окружной скоростью по
длине конического барабана, поэтому легко расчленяют слитную массу
рис. 19
тяжелосуглинистой почвы, подаваемой лемехами. Сепараторы устанавливают в
следующем порядке: вначале рассеивающий, диаметр пальцев которого уменьшается
от середины к краям от 190 до 150 мм, затем собирающий сепаратор, длина пальцев
которого уменьшается в обратном направлении – от края к центру. Пальцы двух
сепараторов при встречном движении заходят друг за друга. Это необходимо для
разбивания выкопанного пласта. Чтобы не повредить клубни, пальцы изгибают по
архимедовой спирали и на них надевают резиновые шланги. Валы с подшипниками и
приводные цепи шагом 25,4 мм, а также приводные звёздочки для сепараторов с
числом зубьев 25 и 22 заимствуются от комбайна «Дружба». Диаметр прутиков для
пальцев – 12 мм. Лонжероны рамы картофелекопателя усиливают двумя
дополнительными уголками 65×40 мм, длиной 900 мм. Межцентровое расстояние
первого сепаратора от задней звёздочки подъемного элеватора – 400 мм, а между
двумя сепараторами – 350 мм. Для того чтобы в процессе сепарации клубни не
забрасывались в соседние рядки, сверху сепараторы покрывают пологом.
Техническая характеристика
переоборудованного картофелекопателя
Ширина
захвата,
м
1,4
Рабочая
скорость, км/ч
6…8
Производительность,
га/ч
0,9
Число
пальцев на одном
роторе
48
Число
рядов пальцев на
роторе 12
Шаг
цепей,
мм
25,4
Организационная структура внедрения в производство настоящих рекомендаций, как
показал опыт, следующая:
изготовление и испытание образцов рабочих органов и орудий для поверхностной
обработки почвы в передовом хозяйстве;
проведение районного семинара с демонстрацией агрегатов в работе для главных
специалистов хозяйств;
изготовление и внедрение агрегатов в каждом хозяйстве района под контролем
специалистов РАПО;
проведение научно-технического совета МСХ республики или области;
внедрение
рабочих органов и орудий для поверхностной обработки почвы в республиканском
(областном) масштабе с проведением республиканского семинара главных
специалистов всех районов, с привлечением республиканской печати, радио,
телевидения, с рассылкой инструкции по изготовлению в каждое хозяйство;
отчетность в МСХ РСФСР об изготовлении и внедрении приспособлений на конкретных
площадях.
Экономическая эффективность
технологий и технических средств поверхностной обработки почвы
Экономическая эффективность рекомендуемых средств определяется повышением
урожая сельскохозяйственных культур без учета снижения эксплуатационных затрат.
Комбинированная почвообрабатывающая машина. Эффективность ее применения
показана в таблице 8 (результаты по совхозу «Новоматнский» Бакалинского района
Башкирской АССР, 1982 г.)
Таблица 8
Эффективность предпосевной подготовки
почвы под различные культуры комбинированной почвообрабатывающей машиной
|
Культура
|
Предпосевная обработка почвы
|
Прибавка урожая, ц/га
|
Площадь, га
|
|
Комбинированным культиватором
|
КПС-4+4БЗСС-1
|
|
Урожайность, ц/га
|
|
Свекла
кормовая Эккендорфская желтая
|
260
|
230
|
30
|
83
|
|
Кукуруза,
зелёная масса
|
165
|
154
|
11
|
620
|
|
Пшеница
яровая Московская 35
|
25,0
|
23,8
|
1,2
|
860
|
|
Горох
Чишминский 242
|
11,2
|
7,9
|
3,1
|
977
|
|
Ячмень
Носовский 9
|
25,2
|
23,9
|
1,3
|
600
|
|
Овёс
Астор
|
26,1
|
24,7
|
1,4
|
710
|
|
Гречиха
Бирская
|
2,8
|
1,9
|
0,9
|
45
|
|
Вика
Льговская
|
23
|
21,3
|
1,7
|
50
|
Борона дискозубовая коническая. Поскольку главное назначение новой
бороны – улучшение качества боронования многолетних трав перед поливом, то
эффективность ее определяем по прибавке урожая зелёной массы многолетних трав,
полученной в производственных опытах в ОПХ «Центральное» Лаишевского
района Татарской АССР (рассмотрены варианты по люцерне за два укоса), ц/га:
без
боронования
246,6
3
БЗТС-1
267,0
БИГ-3 276,95
Коническая
борона
348,75
Если
взять, что средняя урожайность люцерны при обработке почвы 3 БЗТС-1 и БИГ-3
составляет 272 ц/га, то превышение урожайности при обработке конической бороной
составляет 348,75 – 272,0=76,8 ц/га, или 12,3 ц корм. ед. (в 1 ц зелёной массы
люцерны содержится 0,16 ц корм. ед.) Себестоимость 1 ц зелёной массы люцерны
1,44 руб. Следовательно, сумма от прибавки урожая с 1 га люцерны без учёта
снижения себестоимости равна: 1,44 руб.×76,8 ц/га=110,6 руб/га. Прибыль
на площади 3945 га составила 99 243 руб., или 25 руб/га.
Орудие
комбинированного снегозадержания. Эффективность определена в ОПХ
«Столбищенское» Лаишевского района ТАССР по стоимости зерна погибших озимых
культур. При норме высева озимой ржи 1,8 ц/га и себестоимости 13 руб/ц средний
экономический эффект от предотвращения гибели озимых от вымерзания составляет
1,8×13=23,4 руб/га.
Картофелекопатель
для сложных почвенно-климатических условий на производственных опытах в
колхозе «Ленин Юлы» Бавлинского района ТАССР показал следующий результат в
сравниваемых вариантах на переувлажненной тяжелосуглинистой почве, ц/га:
копка серийной копалкой
КТН-2Б
78
копка опытной копалкой 120
За счёт
снижения потерь при новом способе копки картофеля (42 ц/га) и себестоимости 1 ц
картофеля 12 руб. экономический эффект составляет 42 ц×12 руб.=504
руб/га.
Общая
агротехническая, эксплуатационная, экономическая эффективность базовых
почвообрабатывающих машин ТатНИИСХ предоставлена в таблицах 9 – 14.
Таким
образом, рекомендуемые технологии поверхностной обработки почвы и технические
средства для их выполнения имеют значительные преимущества перед существующими
и возможно их применение в более широких масштабах в сложных
почвенно-климатических условиях Поволжья, Урала и других зон.
Таблица 9
Сравнение рабочих показателей
культиваторов (по данным Поволжской МИС)
|
Показатель
|
Комбинированный культиватор КПС-4К
|
КПС-4+4БЗСС-1
|
КШУ-12
|
|
Агрегатируется
|
МТЗ-80
|
МТЗ-80
|
Т-150К
|
|
Ширина
захвата, м
|
4
|
4
|
12
|
|
Рабочая
скорость, км/ч
|
7,8…10,4
|
7,5…9,9
|
8,0…9,8
|
|
Загрузка
двигателя, %
|
63
|
66
|
61
|
|
Производительность,
га/ч
|
3,73
|
3,48
|
9,2…11,36
|
|
Тяговое
сопротивление, кН
|
8,0
|
8,54
|
19,79
|
|
Масса,
кг
|
876
|
882
|
3210
|
|
Удельная
металлоёмкость, кг/м
|
219
|
220,5
|
267,5
|
|
Гребнистость,
см:
|
0…0
|
4,9
|
3,7
|
|
на
второй культивации
|
2,1…1,9
|
4,7…3,4
|
4,4…4,1
|
|
на
третьей культивации
|
|
|
|
|
Подрезание
сорняков, %
|
100
|
100
|
100
|
|
Выравненность,
%
|
98
|
95
|
96
|
|
Глубина
обработки поперёк хода, см
|
10,6
|
10,3
|
10,7
|
|
Среднее
квадратическое отклонение, см
|
1,15
|
1,15
|
1,15
|
|
Глубина
обработки по ходу, см
|
10,6
|
10,3
|
10,7
|
|
Среднее
квадратическое отклонение, см
|
0,75
|
1,15
|
1,30
|
|
Крошение,
%
|
|
|
|
|
на
второй культивации
|
84
|
79,2
|
78,9
|
|
на
третьей культивации
|
96,9
|
95,7
|
94,2
|
|
Глыбы
свыше 100 мм, %
|
0,0
|
2,7
|
5,0
|
|
(вторая
культивация)
|
|
|
|
|
Плотность
почвы в слоях, см:
|
|
|
|
|
до
прохода
|
|
|
|
|
0…5
г/см²
|
1,29
|
1,29
|
1,29
|
|
5…10
г/см²
|
1,19
|
1,19
|
1,19
|
|
после
прохода:
|
|
|
|
|
0…5
г/см²
|
1,25
|
1,18
|
1,24
|
|
5…10
г/см²
|
1,17
|
1,10
|
1,05
|
Таблица 10
Сравнение рабочих показателей бороны
на культивации пара (по данным СибМИС)
|
Показатель
|
Коническая борона ПБЛ-10
|
ЛДГ-10А
|
5БИГ-3А
|
|
Сохранение
стерни
|
82…89
|
80…85
|
78…86
|
|
Заделка
семян падалицы, %
|
99
|
99
|
99
|
|
Забивание
|
Нет
|
Нет
|
Нет
|
|
Ширина
захвата, м
|
10
|
10
|
15
|
|
Тяговое
сопротивление, кН
|
8,8…7,3
|
10,9…7,1
|
24…17
|
|
Удельное
сопротивление:
|
|
|
|
|
кН/м
|
0,88…0,73
|
1,09…0,71
|
1,6…1,13
|
|
Н/см²
|
5…5,6
|
4,9…6,3
|
5,7…7,1
|
|
Прямые
эксплуатационные затраты, руб/га
|
0,94
|
|
1,38
|
|
Сумма
приведённых затрат, руб/га
|
1,25
|
|
2,10
|
|
Удельные
капиталовложения, руб/га
|
2,13
|
|
4,77
|
|
Удельный
расход топлива, кг/ч
|
21,3
|
21,6
|
24,8
|
Таблица 11
Сравнение рабочих показателей бороны
на культивации пара (по данным СибМИС)
|
Показатель
|
Коническая борона ПБЛ-10 (Т-150К)
|
2 КПЭ-3,8+СП-16 (К-700)
|
|
Глубина
обработки, см
|
12
|
12
|
|
Гребнистость,
см
|
4,97
|
8,25
|
|
Ширина
захвата, м
|
10
|
7,6
|
|
Тяговое
сопротивление, кН
|
14,2
|
21
|
|
Удельное
тяговое сопротивление:
|
|
|
|
кН/м
|
1,42
|
2,76
|
|
Н/см²
|
1,3
|
2,21
|
|
Удельная
мощность, кВт/га/ч
|
7,5
|
14,1
|
|
Рабочая
скорость, км/ч
|
10,4
|
8,3
|
|
Производительность,
га/ч
|
7,9…10,4
|
6,4
|
|
Коэффициент
загрузки двигателя
|
0,52
|
0,86
|
Таблица 12
Сравнение рабочих показателей
конической бороны на культивации пара
(по данным Поволжской МИС)
|
Показатель
|
Коническая борона ПБЛ-10 (Т-150К)
|
СП-11+2 КПС-4+8БЗСС-1 (Т-150К)
|
|
Глубина
обработки, см
|
9…10
|
9…10
|
|
Крошение,
%
|
90
|
90
|
|
Гребнистость,
см
|
0
|
3,5…4,8
|
|
Подрезание
сорняков, %
|
89…95,5
|
100
|
|
Увеличение
фракций менее 1 мм
|
Нет
|
Нет
|
|
Ширина
захвата, м
|
10
|
8
|
|
Тяговое
сопротивление, кН
|
12,2
|
22,8
|
|
Тяговая
мощность, кВт
|
28,0
|
44,9
|
|
Энергоёмкость,
кВт/га/ч
|
0,62…0,97
|
1,69…1,94
|
|
Удельное
тяговое сопротивление:
|
|
|
|
кН/м
|
1,22
|
2,85
|
|
Н/см²
|
0,75…2,02
|
2,70…2,87
|
|
Буксирование,
%
|
5,3
|
8,6
|
|
Мощность,
затрачиваемая на буксирование, кВт
|
2,7
|
6,9
|
|
Коэффициент
загрузки двигателя
|
0,48
|
0,61
|
|
Рабочая
скорость, км/ч
|
9…12,4
|
8…9
|
|
Производительность
за 1 ч основного времени, га/ч
|
11,56
|
7,0
|
Таблица 13
Металлоёмкость агрегатов (по данным
Поволжской МИС)
|
Показатель
|
Коническая борона ПБЛ-10 (ТатНИИСХ)
|
СП-11+3 БИГ 3 (серийный)
|
2КПС-К+СП-11 (ТатНИИСХ)
|
2КПС-4+8 БЗСС-1+СП-11 (серийный)
|
КШУ-12
|
|
Общая
масса, кг
|
2435
|
4222
|
2644
|
2656
|
3210
|
|
Разница,
кг
|
|
Б-А=1787
|
Б-А=209
|
Г-В=12
|
Д-А=775 Д-В=566
|
|
Металлоёмкость
удельная, кг/м
|
243,5
|
469
|
330,5
|
332
|
267,5
|
|
Разница,
кг/м
|
|
Б-А=225,5
|
В-А=87,5
|
Г-В=1,5 Г-А=88,5
|
Д-А=24,0 Д-В=-63,0
|
|
Ширина
захвата, м
|
10
|
9
|
8
|
8
|
12
|
Таблица 14
Фактический экономический эффект от
внедрения орудий нового комплекса машин
|
Республика, область
|
Комбинированная почвообрабатывающая
машина
|
Дискозубовая коническая борона
|
Комбинированный снегозадержатель
|
Комбинированный картофелекопатель
|
Общая площадь применения орудий в
1983 г., мил. га
|
|
1982г.
|
1983г.
|
1982г.
|
1983г.
|
1982г.
|
1983г.
|
1982г.
|
1983г.
|
|
шт.
|
тыс.руб.
|
шт.
|
тыс.руб.
|
шт.
|
тыс.руб.
|
шт.
|
тыс.руб.
|
шт.
|
тыс.руб.
|
шт.
|
тыс.руб.
|
шт.
|
тыс.руб.
|
шт.
|
тыс.руб.
|
|
Татарская АССР
|
900
|
3069
|
1389
|
4778
|
296
|
24
|
1120
|
110,3
|
36
|
180
|
186
|
930
|
80
|
1900
|
98
|
2100
|
0,52
|
|
Башкирская АССР
|
420
|
10,5
|
6256
|
29332
|
480
|
49
|
2192
|
221
|
8
|
40
|
31
|
155
|
---
|
---
|
---
|
---
|
3,03
|
|
Марийская АССР
|
1000
|
200
|
1000
|
200
|
160
|
4,8
|
160
|
4,8
|
---
|
---
|
---
|
---
|
14
|
5,6
|
37
|
168
|
0,44
|
|
Куйбышевская область
|
4
|
21
|
274
|
1380
|
2
|
0,3
|
8
|
1,2
|
---
|
---
|
1
|
5
|
---
|
---
|
---
|
---
|
0,16
|
|
Горьковская область
|
26
|
7,8
|
214
|
60
|
6
|
11
|
18
|
32
|
---
|
---
|
---
|
---
|
---
|
---
|
---
|
---
|
0,04
|
|
Итого
|
2350
|
3308
|
9133
|
35700
|
944
|
89,1
|
34,98
|
3693
|
44
|
220
|
218
|
1090
|
94
|
1905,6
|
135
|
2268
|
---
|
Техника безопасности
1.Орудия
изготавливают после проведения инструктажа.
2.На
сницах комбинированной почвообрабатывающей машины на расстоянии 1 м от
прицепной серьги необходимо установить противовес – ящик с грузом 20 кг.
3.Диаметр
подвесных цепей должен быть не менее 6 мм.
4.Движение задним ходом с орудиями в рабочем положении запрещается.
5.Очистку
дискозубовой конической бороны и картофелекопателя производят с помощью чистика
или крючка, а затяжку креплений – только в рукавицах и ненаращенным исправным
инструментом.
6.Приводные цепи картофелекопателя должны быть защищены кожухом, а конические
сепараторы – пологом.
7.При
работе картофелекопателя с коническими сепараторами и человеку нельзя
находиться сзади агрегата ближе 10 м.
Литература:
1.
Министерство сельского хозяйства РСФСР «Совершенствование технологии и
технических средств поверхностной обработки почвы» 1985 г.
|
|